Материал: Контроль запыленности воздуха рабочей зоны. Тепловая и лучистая энергия. Методы борьбы с вибрацией

Внимание! Если размещение файла нарушает Ваши авторские права, то обязательно сообщите нам

Контроль запыленности воздуха рабочей зоны. Тепловая и лучистая энергия. Методы борьбы с вибрацией

Федеральное агентство железнодорожного транспорта

Дальневосточный - государственный университет путей сообщения

Сахалинский институт железнодорожного транспорта

ФГБОУ ВПО

Кафедра «Безопасность жизнедеятельности»








Контрольная работа

По дисциплине «Безопасность жизнедеятельности»




Студента 4 курса

Шифр: КТ 12 НТК-(БТ) ПМ-034





Южно - Сахалинск 2014

1. Методы определения загазованности и запыленности производственных помещений. Схемы установок, необходимые расчетные формулы

.1 Методы определения концентрации пыли в воздухе рабочей зоны

Для контроля запыленности воздуха рабочей зоны могут быть использованы различные методы (фильтрационные, седиментационные, электрические). Перспективными являются новые методы измерения концентрации пыли с использованием лазерной техники. Самыми распространенными методами определения содержания пыли являются весовой (гравиметрический), счетный, фотоэлектрический и электрический. Весовой метод заключается в улавливании пыли фильтрами (АФА-В-10, АФА-В-20) из определенного объема запыленного воздуха, определении привеса фильтра и вычислении весовой концентрации пыли в мг/м3.

Счетный метод основан на осаждении пыли из определенного объема воздуха с помощь прибора-кониметра и последующем определении под микроскопом формы, размера и количества пылинок в 1 см3 воздуха. Электрический метод основан на определении концентрации пыли путем осаждения её в электрическом поле высокого напряжения и последующем счете частиц под микроскопом. Фотоэлектрический метод основан на принципе измерения ослабления монохроматического параллельного пучка световых лучей, проходящего через слой запыленного воздуха, с помощью фотоэлемента и гальванометра. На рабочих местах концентрацию пыли необходимо измерять в зоне дыхания или в случае невозможности такого отбора с максимальным приближением к ней воздухоприемного отверстия пылеотборника или пылемера, но не далее 1 - 1,5 м, на высоте 1,5 м от пола.

Если рабочее место не фиксировано, измерение концентрации пыли проводят в точках рабочей зоны, в которых работающий находится более 50% смены. Зона дыхания - пространство в радиусе до 50 см от лица работающего. Длительность измерения максимально разовых концентраций должна составлять 30 мин. При уровнях запыленности более 10 ПДК допускается отбор нескольких последовательных (не менее трех) разовых проб через равные промежутки времени. При применении пылемеров в течение 30 минут следует проводить не менее трех измерений через равные промежутки времени. Измерения максимально разовых концентраций должны производиться в периоды выполнения основных пылеобразующих операций. При кратковременной (менее 30 мин), но периодической операции отбор проб воздуха следует производить и при ее повторении таким образом, чтобы суммарная (общая) длительность достигала 30 мин. Периодичность контроля среднесменных концентраций устанавливают по согласованию с ЦГСЭН, как правило, она соответствует периодичности медицинского осмотра.

.2 Методы определения концентрации вредных веществ в воздухе рабочей зоны

В производственных помещениях необходим постоянный контроль за содержанием вредных веществ в воздухе рабочей зоны. Анализ воздушной среды для определения содержания вредных газов, паров в воздухе проводится различными методами: экспресс - метод - линейно-колористический, индикационный; лабораторным методом - колориметрический, спектрофотометрический, кондуктометрический, хроматографический, акустический. Широкое применение получил экспресс-метод как наиболее простой. Этот метод дает возможность на месте определить степень загрязнения воздуха, например, для срочного выяснения причин несчастного случая, решения вопроса о срочном ремонте аппарата, в котором протекает химический процесс, и т.д.

Для этого используются универсальные газоанализаторы (УГ), аспираторы типа АМ-5, АМ-0059, насос-пробоотборник НП-3М. Воздух через насос забирается, просасывается через трубочку с индикаторным порошком, и по цвету судят о присутствии того или иного загрязнителя, концентрацию определяют по длине окрашенного столбика, сравнивая с градуированной шкалой. Для каждого вредного вещества существует свой индикаторный порошок. По результатам анализа можно судить о качестве воздушной среды, эффективности вентиляции и герметизации производственного оборудования.

Лабораторный метод - забираются пробы воздуха в любом месте, затем на стационарном лабораторном оборудовании проводится анализ проб. Контроль воздуха осуществляют при характерных производственных условиях - ведении производственного процесса в соответствии с технологическим процессом. Контроль содержания вредных веществ в воздухе рабочей зоны проводится путем сравнения измеренных среднесменных и максимальных концентраций с их предельно допустимыми значениями - максимально разовыми (ПДКм) и среднесменными (ПДКсс) нормативами [6].

Отбор проб воздуха проводят в зоне дыхания работника либо с максимальным приближением к ней воздухозаборного устройства (на высоте 1,5 м от пола рабочей площадки при работе стоя и 1 м - при работе сидя). Если рабочее место не постоянное, отбор проб проводят в точках рабочей зоны, в которых работник находится в течение смены [3].

Устройства для отбора проб могут размещаться в фиксированных точках рабочей зоны (стационарный метод) либо закрепляться непосредственно на одежде работника (персональный мониторинг). Аппаратура и приборы, используемые при исследованиях, подлежат поверке в установленном порядке. Контроль воздушной среды на участках, характеризующихся постоянством технологического процесса, значительным количеством идентичного оборудования или аналогичных рабочих мест, осуществляется выборочно на отдельных рабочих местах (но не менее 20 %), расположенных в центре и по периферии помещения.

Периодичность контроля устанавливается в зависимости от класса опасности вредного вещества: для I класса - не реже 1 раза в 10 дней, II класса - не реже 1 раза в месяц, III и IV классов - не реже 1 раза в квартал [5]. В зависимости от конкретных условий производства периодичность контроля может быть изменена по согласованию с органами государственного санитарного надзора. При установленном соответствии содержания вредных веществ III, IV классов опасности уровню ПДК допускается проводить контроль не реже 1 раза в год.

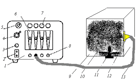
Определение запыленности воздуха весовым методом с помощью аспиратора модели 822


.3 Методика определения запыленности воздуха

Все необходимые данные и результаты измерений запыленности вносят в форму № 8 «Запыленность воздуха».

Графа 1 - название отдела, фонда, № помещения, место отбора пробы. Для достоверной оценки запыленности воздуха необходимо отбирать в разных точках хранилища 5-15 проб.

Графа 2 - номера фильтров (фильтры нумеруют на бумажных держателях). Фильтры АФА-ВП-10 перед взвешиванием помещают на 0,5-1 ч около весов, чтобы температура и влажность фильтров сравнялась с температурой и влажностью воздуха в футляре весов. Фильтры аккуратно отсоединяют от бумажной подложки и помещают в бумажные держатели.

Графа 3 - продолжительность отбора пробы (ф), мин.

Графа 4 - скорость воздуха (н), л/мин.

Длительность прокачивания воздуха через один фильтр определяется двумя факторами :

точностью весового метода, поэтому количество пыли на фильтре должно быть не менее 1-2 мг;

пылеемкостью применяемого фильтра: например, для АФА-ВП-10 количество собранной пыли на фильтре должно быть не более 25 мг.

Поэтому количество прокачиваемого воздуха зависит от степени запыленности помещения и определяется опытным путем.

Графа 5 - объем воздуха, прошедшего через фильтр (V), л, рассчитанный по формуле:

= н Ч ф .73

После отбора проб опытные и контрольные фильтры в течение 0,5-1 ч должны выдерживаться в одинаковых условиях температуры и влажности воздуха.

Графа 6 - конечные массы контрольных и опытных фильтров после прокачивания воздуха.

Графа 7 - начальные массы контрольных фильтров и фильтров для отбора проб (опытных), которые взвешивают на весах с точностью ±0,0001 г или ±0,00001 г.

Графа 8 - результаты расчета изменения массы контрольных и опытных фильтров ∆МХ по формуле:

∆ МХ = Мкон - Мнач,

где ∆ МХ - изменение массы фильтра,

Мкон - масса фильтра после отбора проб воздуха,

Мнач - начальная масса фильтра.

Графа 9 - среднее значение изменения массы контрольных тампонов ∆Мконтр (с учетом знака "+" или "-" ), определенное по формуле:

∆ Мконтр = У∆ МК/N ,

где N - количество контрольных фильтров,

∆ МК - изменение массы каждого контрольного фильтра.

Значение ∆Мконтр показывает, какое количество влаги поглотили или отдали чистые фильтры относительно их первоначального веса.

Массу пыли, осевшую на фильтре Мпыли, с учетом изменения массы контрольных фильтров ∆Мконтр вычисляют по формулам:

если ∆ Мконтр > 0, то Мпыли = ∆ М - ∆ Мконтр;

если ∆ Мконтр < 0, то Мпыли = ∆ М + ∆ Мконтр,

где ∆ Мконтр - модуль значения изменения массы контрольных фильтров.

Графа 9 - количество пыли, осевшее на фильтре, Мпыли, г.

Графа 10 - запыленность воздуха, С, мг/м3, рассчитанная по формуле:

С = Мпыли Ч 106/ V ,

где V - объем воздуха, прошедшего через фильтр, 106 - коэффициент для перевода запыленности из г/л в мг/м3 (единицы измерения, предусмотренные ГОСТ 7.50-2002)

2. Особенности действия лучистой теплоты на организм человека. Мероприятия позволяющие компенсировать действие на работающего

.1 Тепловая и лучистая энергия

Внутренняя тепловая и лучистая энергия играют значительную роль в создании микроклиматических условий на рабочих местах и в помещениях.

Теплопередача может происходить путем конвекции, теплопроводности и излучения. Передача тепла осуществляется:

при конвекции - движущейся средой: водой, паром, газом и т. п.;

при теплопроводности - от одной части твердого тела к другим;

при излучении - интенсивными инфракрасными лучами, которые непосредственно не нагревают воздух, но при поглощении которых твердые тела нагреваются.

Чаще всего нагревание (охлаждение) тел происходит посредством всех трех или двух видов теплопередачи.

Для теплообмена при излучении не требуется непосредственного соприкосновения тел, и среда, через которую идут лучи, практически на них не воздействует. Действие тепла при этом сказывается не только на облучаемом участке тела, но и на всем организме. Излучение может вызвать у человека тепловые ожоги всех трех степеней.

Ожоги - очень опасный вид травм, так как они вызывают нарушения различных жизненных функций.

По характеру и интенсивности воздействия на организм человека энергию при излучении подразделяют на три категории:- энергия, исходящая от тел, нагретых до 500 °C, с преобладающим тепловым воздействием;- энергия, излучаемая телами, нагретыми до 3000 °C, с преобладающим световым воздействием;- энергия тел, нагретых более 3000 °C, в которой преобладают ультрафиолетовые лучи, вызывающие заболевание глаз и ожоги.

Для защиты человека от теплового излучения используют различного рода экраны, защитную спецодежду. Радикальное средство защиты - устранение источника излучений. Экраны изготавливают из материалов с высокой отражательной способностью (никелированные, хромированные, полированные, с зеркальными покрытиями) и устанавливают перпендикулярно направлению излучения.

В качестве индивидуальных средств защиты используют очки (одинарные и двойные) со светофильтрами, брезентовые и суконные костюмы, щитки, маски, пасты от действия солнечной радиации.


.2 Радиоактивное излучение

Несмотря на то, что работа с радиоактивными веществами и источниками ионизирующих излучений в высших педагогических учебных заведениях ограничена, а в школах запрещена, в некоторых лабораторных работах для студентов по физике, радиотехнике, технологии металлов (гамма-дефектоскопия), рентгеновских установках и в некоторых других случаях они применяются. Это определяет необходимость рассмотрения способов защиты от образующихся при этом вредных факторов.

В зависимости от возможного воздействия их на человека работы с радиоактивными веществами делятся на следующие группы:

работы с открытыми радиоактивными веществами, при которых возможно загрязнение тела и атмосферы;

работы с закрытыми радиоактивными изотопами, когда возможно только внешнее облучение;

работа с материалами, в которых растворены радиоактивные изотопы.

Наиболее тяжелое последствие, вызванное действием ионизирующей радиации, - лучевая болезнь, при которой происходит нарушение функций всех органов и систем. Различают острую форму болезни (однократное облучение в несколько сотен радиан), молниеносную - (результат облучения дозой в несколько тысяч радиан) и хроническую, развивающуюся при длительном облучении организма в малых дозах. Лучевая болезнь возникает только в случае облучения дозами, превышающими допустимые. Поэтому большое значение имеет профилактическая работа.

К работе с радиоактивными веществами не допускаются лица моложе 18 лет и беременные женщины. Работающие с радиоактивными веществами должны проходить периодический инструктаж и медицинское обследование. Все помещения, оборудование, транспорт, приборы, предназначенные для работы и перемещения радиоактивных веществ, имеют знак радиационной опасности - желтый круг, на фоне которого нанесены три красных лепестка и внутренний красный круг. Во всех помещениях, где проводят работы с радиоактивными веществами, должен проводиться дозиметрический контроль с целью заблаговременного предупреждения работающих об опасности. Периодичность и виды дозиметрических измерений устанавливает санитарно-эпидемиологическая станция (СЭС); данные контроля регистрируют в особом журнале. Работающих обеспечивают специальной одеждой (халат, шапочка, обувь, резиновые перчатки). Для защиты органов дыхания необходимо применять специальные респираторы с принудительной подачей чистого воздуха.

Помещения, в которых работают с радиоактивными веществами, размещают отдельно. Их оборудуют специальными мерами защиты и установками контроля. Шкафы, камеры, боксы и другие помещения, где используют радиоактивные вещества, должны иметь вентиляцию и очистные устройства перед выбросом в атмосферу, а также быть удобными для мойки и уборки. Все источники радиации изолируют стационарными и нестационарными защитными устройствами из свинца, свинцового стекла, бетона, стали и т. д. Защитные свойства материалов характеризуются свинцовым эквивалентом - толщиной свинца в миллиметрах, эквивалентной по защите слою данного материала. Для хранения и перевозки радиоизотопов используют ампулохранилища и контейнеры - приборы, в которых защитный экран представляет собой свинцовую заливку, а корпус сделан из чугуна. В рабочее время радиоактивные изотопы размещают в хранилищах, сейфах, оборудованных радиационной защитой и вентиляцией. Запас радиоактивных веществ в лаборатории не должен превышать ожидаемого суточного расхода.

Нормы радиационной безопасности (НРБ) устанавливают предельно допустимую дозу (ПДД) внешнего и внутреннего облучения в зависимости от группы критических органов и категории облучаемых лиц. В любом случае доза, накопленная в возрасте до 30 лет, не должна превышать 12 ПДД.

запыленность виброизоляция зануление лучистый

3. Активная и пассивная виброизоляция. Расчет