Материал: Компьютерное сопровождение учебных программ

Внимание! Если размещение файла нарушает Ваши авторские права, то обязательно сообщите нам

.5 Описание концептуальной модели

Информационное обеспечение данной системы автоматизированного проектирования - это банк данных. Банк данных - это совокупность базы данных и системы управления базой данных.

СУБД MS Access может использоваться как автономная система на отдельных персональных компьютерах, так и сетевая СУБД в многопользовательской среде.

В СУБД MS Access все таблицы базы данных хранятся в одном файле с расширением *.mdb. В этом же файле находятся служебные таблицы для работы СУБД.

В программе связь приложения с БД осуществляется с помощью технологии Active Data Objects (ADO). В технологии ADO поддерживаются следующие основные функции (хотя отдельные механизмы без данных могут поддерживать только некоторые из них):

·   независимо создаваемые объекты;

·   поддержка хранимых процедур с входными, выходными и возвращаемыми параметрами;

·   курсоры различных типов (включая возможность поддержки разных специальных курсоров конечных пользователей);

·   пакетное обновление;

·   поддержка ограничений для числа возвращаемых строк или других параметров запроса;

·   поддержка нескольких наборов данных, возвращаемых хранимыми процедурами или пакетными операторами.

Также технология ADO предназначена для выполнения роли простого в использовании интерфейса прикладного уровня с механизмом OLEDB. Методы технологии ADO вызываются с помощью интерфейса OLE - автоматизации, который в настоящее время доступен во многих инструментах разработки и языках программирования. Основными преимуществами технологии ADO являются простота использования, высокая скорость, небольшие потребности в оперативной памяти и незначительные затраты дисковой памяти.

База данных данного проекта содержит 7 таблиц. Каждая таблица представляет собой каждую сущность: дисциплина (таблица Dis), «Тема» (Theme), «Лекция» (Таблица Lect), «Лабораторные работы» (таблица Labs), «Практические занятия» (Таблица Prac), «Самостоятельные занятия» (Таблица SWork), «Литература» (Liter).

Входными данными являются сами типовые программы дисциплин, а также ввод связей между ключевыми словами. Выходными данными являются полученные типовые программы в формате MS Word, с расширением *.doc.

БД САПР программ состоит из нескольких таблиц, список которых можно просмотреть в закладке «таблицы» окна «база данных». В конструкторе таблиц окна «база данных» можно описать поля таблиц: задать имя полей, типы данных, дать краткое описание полям, определить формат и размер поля.

инфологический атрибут программный дисциплина

Глава 2. Проектирование информационной системы

.1 Описание полей базы данных

Таблица 1. DIS

Имя поля

Тип данных

Описание

No_ds

Счетчик

Код дисциплины (индексированное поле)

Name

Текстовый

Название дисциплины

Semestr

Числовой

Семестр, в котором изучается предмет

Curs

Текстовый

Курсовая работа

Target

Поле МЕМО

Цель предмета

Task

Поле МЕМО

Задачи предмета

Relations

Поле МЕМО

Связи с другими предметами


Таблица 2. Labs.

Имя поля

Тип данных

Описание

No_lab

Счетчик

Код лабораторной работы (индексированное поле)

Name

Текстовый

Название лабораторной работы

No_theme

Числовой

Код темы

No_Ds

Числовой

Код дисциплины


Таблица 3. Lect.

Имя поля

Тип данных

Описание

No_lek

Счетчик

Код лекции (индексированное поле)

Name

Текстовый

Название лекции

Relations

Поле МЕМО

Связи с другими ключевыми словами

Числовой

Код темы

No_Dis

Числовой

Код дисциплины


Таблица 4. Liter.

Имя поля

Тип данных

Описание

No_lit

Счетчик

Код книги (индексированное поле)

Name

Текстовый

Название книги

Author

Текстовый

Автор книги

No_theme

Числовой

Код темы

No_Ds

Числовой

Код дисциплины

Таблица 5. Prac.

Имя поля

Тип данных

Описание

No_Prac

Счетчик

Код практического занятия (индексированное поле)

Name

Текстовый

Название практического занятия

No_theme

Числовой

Код темы

No_Ds

Числовой

Код дисциплины


Таблица 6. Swork.

Имя поля

Тип данных

Описание

No_sw

Счетчик

Код самостоятельной работы (индексированное поле)

Name

Текстовый

Название сам. Работы

No_theme

Числовой

Код темы

No_Ds

Числовой

Код дисциплины


Таблица 7. Theme.

Имя поля

Тип данных

Описание

No_Theme

Счетчик

Код темы (индексированное поле)

Name

Текстовый

Название темы

No_Ds

Числовой

Код дисциплины


Так как необходимо синхронное изменение данных по всем таблицам: при изменении данных одной таблицы, необходимо связать между собой поля этих таблиц. В Access их визуально можно связать в окне «схема данных» как показано на рис.2.1.

Программа ведения базы данных выполняет следующие функции:

·   защита от несанкционированного доступа;

·   добавление новых записей;

·   удаление записей;

·   редактирование записей;

·   каскадное удаление записей.

Рис 2. 1. Связи между таблицами.

Как и многие функционально значимые задачи, данная система должна быть защищена от несанкционированного доступа, т.е. при входе будет запрашиваться пароль доступа, который должен быть известен только администратору системы. При несоответствии пароля программа завершает свою работу.

Добавление новых записей - это добавление новых объектов, таких, как дисциплина, тема, лекция, литература, лабораторная работа, практическое занятие, самостоятельная работа.

Основная мысль этой функции заключается в следующем:

·   пользователь выбирает, что именно он хочет добавить, это осуществляется с помощью выбора соответствующего пункта меню;

·   далее он может следовать двумя путями при добавлении записи:

1)   в текущей таблице пользователь нажимает клавишу "↓", появляется новое пустое поле и туда пользователь вводит название объекта;

2)   если на форме имеется кнопка "Добавить", то после нажатия на нее появляется форма ввода. После ввода названия нового объекта можно сохранить эти изменения или отменить;

·   после произведенных изменений пользователем, программа записывает все изменения в файл.

Удаление записи осуществляется по следующему алгоритму:

·   выбирается объект, который необходимо удалить;

·   нажимается кнопка "Удалить" или в подменю "выплывающем" после нажатия правой кнопкой на объекте выбирается пункт "Удалить";

·   подтверждается выбор удаляемого объекта;

·   при подтверждении программа удаляет запись из таблицы, к которой относится объект.

Редактирование записей выполняется по следующему алгоритму:

·   выбирается объект для редактирования;

·   если этот объект табличного типа, то одним нажатием кнопки по полю, оно переводится в режим редактирования. Если объект имеет тип Memo, то для него на форме имеется кнопка, после нажатия которой, выводится форма, в которой можно редактировать запись;

·   после окончания редактирования программа заносит все изменения в таблицу.

Каскадное удаление производится тогда, когда удаляемый объект является темой или дисциплиной, т.е. когда у объекта есть зависящие от него записи.

.2 Программное обеспечение ведения БД

Приложение по ведению базы данных состоит из 10 программных модулей:

1. SDSS.dpr - файл проекта, является основным файлом программы. Здесь описаны глобальные операции работы самого приложения в операционной системе.

2. MainUnit.pas - в этом модуле описана главная форма приложения. В нем производится проверка на истинность пароля, процедуры открытия баз данных, процедур передачи управления модулям, в соответствии с выбранным пунктом меню.

3. Dunit.pas - модуль данных, в нем хранятся процедуры для работы с таблицами.

4. Thems.pas - модуль формы для работы с темами. В нем хранятся процедуры для передачи управления модулю Tables. В соответствии с выбранным пунктом меню в этот модуль посылаются текущие значения.

5. Tables.pas - модуль, отвечающий за работу с таблицами Lect, Labs, Prac, Swork. Он обеспечивает заполнение и редактирование таблиц. При работе с таблицей Lect передает управление модулю Keys по выбору соответствующего пункта меню.

6. Keys.pas - модуль, отвечающий за редактирование ключевых слов в заданной дисциплине и теме.

7. EditUnit.pas - модуль, предназначенный для редактирования Memo полей. Вызывается из модуля MainUnit. В соответствии с выбранным пунктом меню редактируется соответствующее поле в базе данных.

8. Liter.pas - модуль, содержащий форму для ввода и редактирования литературы. Если он вызывается из модуля MainUnit.pas, то таблица доступна только для чтения. Если он вызывается из модуля Tems, то тогда разрешается полный доступ к редактированию таблицы.

9. Edit.pas - вспомогательный модуль, содержащий форму для ввода новой литературы.

10.TblsEdUn.pas - вспомогательный модуль для ввода нового объекта, редактирующегося в модуле Tables.pas.

Связь модулей представлена на рис.2.2

Рис.2.2. Связь модулей БД дулей

.3 Разработка функциональной части

Основные задачи, которые выполняет программа:

·   добавление новых записей по всем составляющим типовой программы;

·   формирование выборки ключевых слов тем из базы данных;

·   работа с Word по редактированию предложенного варианта типовой программы.

При составлении новой типовой программы пользователю представляется возможность сохранения данных, т.е. добавление их в БД.

При работе с пунктом “Должен знать” необходимо вводить ключевые слова, составляющие основу лекционного материала.

В этом случае идет проверка. Если в базе имеется тема с таким названием, то выбирается тема и ключевые слова к этой теме из БД, и готовая совокупность слов переносится как тема в новую дисциплину.

Если в базе имеется ключевое слово как “понятие”, то анализируются его связи с другими понятиями и полученная совокупность понятий записывается в раздел “тема”.

При работе с пунктом “Должен уметь” необходимо ввести ключевые слова, соответствующие теме практического занятия. При этом формируется запись одного занятия.

При работе с пунктом “Должен иметь навыки” необходимо ввести ключевые слова, соответствующие теме лабораторной работы. При этом формируется название одной лабораторной работы.

Аналогично с наименованиями тем самостоятельных работ.

Работа с Word заключается в вызове из Delphi редактора Word, который обладает такими возможностями как сохранение и распечатка.

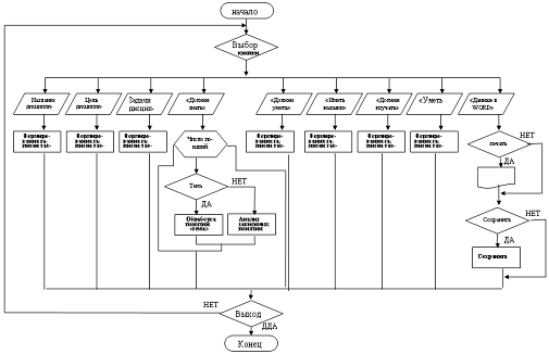
Представим блок-схему данного алгоритма решения задачи (рис. 3)

Рис.2.3. Алгоритм решения задачи.

Программное обеспечение функциональной части типовых программ учебных дисциплин реализовано на Delphi с использованием обращения к базе данных, составленной в MS Access.

2.4 Программные модули

Показанная ниже структура модулей (рис.4) представляет последовательность и взаимосвязь модулей. Представленная здесь структура является обобщенной и укрупненной и не содержит мелких модулей. В следующей части будут рассмотрены поподробнее каждый модуль из этой структуры.

Рис 2..4. Структура программных модулей САПР.

Рассмотрим программные модули показанные выше в структуре модулей.

·   Unit2 - модуль вызова главного окна программы, в котором пользователь может выбрать доступ либо к БД дисциплин, либо к САПР новых типовых программ.

·   RSAPR - модуль вызова окна с кнопками, где пользователь выбирает кнопки для дальнейшего заполнения входными данными некоторых полей.

·   Rdisz - модуль программы, в котором пользователь указывает название новой дисциплины

·   RZel - модуль программы, в котором указываются цели дисциплины

·   RZad - в этом модуле программы задаются задачи дисциплины

·   RProekt, RLit, RUmet, RNav, RSam - похожие по структуре модули, но работают с разными данными

·   RZnat - модуль, в котором задается то, что должен студент, т.е. понятия связанные с лециями. Далее производится поиск в базе идентичных понятий

·   AutoImp - модуль, необходимый для работы с WORD.в данном модуле описываются процедуры для работы с редактором WORD.

·   WORDAuto - модуль, использует процедуры предыдущего модуля, необходим для переноса данных из БД в WORD.

.5 Реализация системы

Ниже приведены фрагменты реализации программного обеспечения. Главная форма САПР программ учебных дисциплин приведена на рис. 2.5.

Сама программа начинается с небольшого анимационного ролика - заставки.

Далее появляется главная форма, на которой можно выбрать одну из кнопок, нажав на нее.

Кнопка «Выход» - позволяет осуществить выход из программы.

Кнопка «О программе» предназначена для вызова отдельного окна «О программе», в которой пользователь может прочитать информацию о данном проекте.

Кнопка «База данных» позволяет вызвать базу данных дисциплин.

Рис. 2.5. Главная форма САПР.

Кнопка «САПР» предоставляет пользователю генерировать новую учебную программу.

При выборе режима САПР появляется меню позволяющее вводить данные информации в различные разделы типовой программы (рис. 2.6)

На рис. 2.7 показана возможность заполнения одного из пунктов предыдущего меню.

Рис 2.6. Основные пункты типовой программы.

Рис.2.7. Составление типовой программы.

После нажатия на кнопку «должен знать» пользователь вводит несколько понятий, после чего программа осуществляет поиск похожих (идентичных) понятий среди данных имеющихся в базе данных дисциплин. При нахождении похожего понятия в списках тем, в выборке будут участвовать все лекции по данной теме, а если таковое понятие было найдено среди лекций, то в выборке будут участвовать только эта лекция и те которые с ней связаны. В процессе выборки пользователь сможет отобрать из имеющихся данных те, которые необходимы для составления новой типовой программы. С выбранными темами и лекциями будет подцеплена и их литература.

После того как документ готов, то есть записан в БД в качестве новой дисциплины, его можно просмотреть в текстовом редакторе MS Word , для чего необходимо нажать на кнопку «Просмотр в Word» (рис.2.8)

Далее появляется окно в котором можно нажимая кнопки открыть Word, создать новый документ, набрать текст из данных новой дисциплины, закрыть Word (документ не сохраняется), и вообще выйти из данного окна (рис.2.8).

Рис.2.8. Окно текстового редактора.

Рис.2.9 Окно просмотра.

При нажатии на кнопку «набрать текст» в окно Word`а загружаются те данные, которые были только что набраны в процессе формирования новой дисциплины и шаблонная часть самой типовой программы (рис. 2.9). На этом рисунке представлен фрагмент типовой программы по дисциплине «Информационные сети и каналы».

Пользователь может корректировать документ, добавить некоторые свои данные, например список дополнительной литературы, необходимые технические средства для обучения данной дисциплине.

Пользователь также может изменить сам вид документа, т.е. изменить его шрифт, размеры и т.п.

Word, будучи приложением с огромными возможностями, позволяет пользователю сохранить документ в одном из многочисленных форматов, в том числе и для представления в Internet - html-формате.

После необходимого редактирования документ можно распечатать, получив тем самым готовую типовую программу по данной дисциплине.

Рассмотрим пользовательский интерфейс при выборе пункта меню «База Данных».

СУБД MS Access имеет в себе возможности для аутентификации и идентификации пользователя. Для каждого пользователя можно настроить различные представления базы данных.

Но в нашем случае необходимо только, чтобы имел доступ к редактированию и заполнению базы данных администратор. Он может изменять все поля и таблицы в БД.

После запуска программы на экран выводится окно запроса пароля (рис.2.10). Программа проверяет соответствие пароля и, если он совпадает, то загрузка программы продолжается, иначе программа заканчивает работу.

После удачного входа в программу появляется главная форма (рис.11).

Рис. 2.10.Окно ввода пароля.

Рис. 2.11. Окно редактирования Дисциплин.

После выбора какой-либо кнопки, в правой части формы ("Цель изучения предмета", "Задачи изучения дисциплины", "Связи с другими предметами") появляется форма (рис.12) для ввода данных, в соответствии с выбранным полем. Все данные вводятся в текстовом виде. При заполнении поля "Связи с другими предметами" следует учитывать, что каждый новый предмет (дисциплина) должен вводиться с новой строки.

Рис 2.12 Окно ввода задач изучения предмета.

После нажатия на кнопку "Редактирование тем" появляется форма для ввода и редактирования тем (рис.13).

Рис. 2.13 Окно редактирования тем.

По выбору любой из этих кнопок выводится форма ввода, представленная на рис. 2.14.

Рис.2.14. Окно редактирования практических занятий.

В нем вводится или редактируется информация, вводимая в соответствии с выбранным пунктом меню. Единственное отличие, при выборе пункта "Лекции" на форме становится видна кнопка "Связи ключевых слов", при нажатии на которую появляется форма редактирования ключевых слов (рис.2.15).

Рис. 2.15. Окно реализации связи ключевых слов.

В левой части находятся введенные ключевые слова, в правой части находится область, в которую вносятся ключевые слова, от которых зависит данное ключевое слово. После окончания редактирования ключевых слов изменения можно сохранить или отменить все изменения, для этого внизу формы имеются две кнопки: "Сохранить" и "Отменить" (рис. 2.15).

Литература редактируется выбором кнопки "Литература" на форме, представленной на рис.2.13. Литературу, относящуюся к данной дисциплине можно только просмотреть. Редактировать ее можно только из формы редактирования тем (рис.2.13). Для каждой темы литература редактируется отдельно (рис.2.16).

Рис 2.16. Окно редактирования литературы.

После нажатия кнопки "Добавить" на форме, представленной на рис.16, появляется форма ввода данных, представленная на рис.17. Здесь вводятся данные о вводимой книге: ее название, автор, год издания.

Рис 2.17. Окно ввода названий книги и автора.

Заключение

В период выполнения выпускной - квалификационной работы на тему «Компьютерное сопровождение учебных программ» были получены следующие результаты :

. Разработаны концепции проектирования программ учебных дисциплин, в основу которой положена база знаний дисциплин:

·   база знаний дисциплин имеет структуру типовой программы;

·        база знаний содержит информацию по всем дисциплинам направления;

·        база знаний содержит ключевые слова по темам дисциплин, связи между ними, последовательность прохождения тем;

·        процесс формирования программы новой дисциплины ведётся в интерактивном режиме с пользователем в виду неполной или неточной информации;

·        поиск в базе знаний осуществляется по ключевым словам, вводимым в диалоговом режиме пользователем по видам занятий (лекции, практические занятия, лабораторные работы, курсовой проект, самостоятельная подготовка);

·        сформированная типовая программа предлагается пользователю на предмет утверждения или корректировки.

2. Сформирована структура базы знаний по дисциплинам направления. Она учитывает структуру типовой программы учебного курса, содержание дисциплины по темам и ключевым словам. Кроме словаря ключевых слов дисциплины, структура базы знаний отражает и связи между понятиями внутри дисциплины. Это позволяет раскрыть темы и понятия темы глубже при проектировании новых курсов, а также учесть последовательность прохождения понятий во времени.

. Разработаны алгоритмы по обработке данных и проектированию новых учебных программ на основе базы знаний направления обучения, учитывающий обработку данных при неполной или неточной информации.

. Реализовано программное обеспечение учебных программ. В качестве языка программирования выбрана система быстрого программирования Delphi, относящаяся к CASE-технологиям.

. Разработаны методы защиты информации, содержащейся в БД (типовые программы, материалы лекций, материалы практических и лабораторных работ). В качестве меры защиты предусмотрено введение паролей, с предоставлением разных прав доступа (для гостей, для разработчиков учебных программ и разработчиков программного обеспечения).

Разработанный комплекс программ предназначен для преподавателей образовательных учреждений, разрабатывающих учебные программы дисциплин; позволяет создать электронную базу знаний по направлениям обучения; система компьютерного сопровождения учебных документов дает возможность и преподавателям и студентам получать информацию по всем материалам учебного плана специальности в сетевой среде.

Список использованных источников литературы

1. Норенков И.П. «САПР, книга 1, Принципы построения и структура, высшая школа» Москва, 1986 г.

.   Чичварин Н.В. «Экспертные компоненты САПР, Машиностроение» Москва, 1991 г.

3.       Вейскас Д. «Эффективная работа с MS Access 2», СПб Питер, 1995 г.

.         Вендров А.М. «Один из подходов к выбору средств проектирования баз данных и приложений СУБД» 1995, №3

.         Зиндер Е.З. «Бизнес-реинжиниринг и технологии системного проектирования. Учебное пособие» М., Центр Информационных Технологий, 1996 г.

.         Калянов Г.Н. «CASE. Структурный системный анализ (автоматизация и применение)» М., «Лори», 1996 г.

.         Марка Д.А., МакГоуэн К. «Методология структура анализа и проектирования» М., “МетаТехнология”, 1993 г.

.         «Международные стандарты, поддерживающие жизненный цикл программных средств» М., МП “Экономика”, 1996 г.

.         Нормативные документы по реформированию системы высшего образования Республики Узбекистан. Ташкент, 1998 г.

10.     Создание Windows-приложений в среде Delphi. М., 1995 г.