Министерство образования и науки Российской Федерации
Федеральное агентство по образованию
Рыбинская государственная авиационная технологическая
академия им. П.А.Соловьёва
КАФЕДРА ОБЩЕЙ И ТЕХНИЧЕСКОЙ ФИЗИКИ
на заседании методического
семинара кафедры
Общей и технической физики
« » _________ 2007 г.
Зав.каф. Пиралишвили Ш.А.
ЛАБОРАТОРНАЯ РАБОТА № КФ – 1
ИЗУЧЕНИЕ ОСНОВНЫХ ЗАКОНОВ ФОТОЭФФЕКТА
|
Нормоконтроль: |
Автор: к. ф–м. н., доцент Шалагина Е.В. |
|
|
|
|
____________ |
___________________ |
|
|
|
|
|
Рецензент: к.т. н., доцент Суворова З.В. |
|
|
___________________ |
Работа выполняется в соответствии с общими требованиями техники безопасности, предъявляемыми к учебным лабораториям кафедры О и ТФ
Попадание прямого света на фотоэлемент недопустимо, так как это приводит к выгоранию фотоэлемента и его порче.
В нерабочем состоянии фотоэлемент должен быть защищен колпачком.
Монохроматор отъюстирован и в связи с этим изменять положение линз, закрепленных на оптической скамье, запрещено!
Для того, чтобы не сбить градуировку барабана, не доводить указатель барабана до конца шкалы на 100 делений в одну и в другую сторону.
ЦЕЛЬ РАБОТЫ:
Изучение основных законов внешнего фотоэффекта в металлах.
Получение и анализ вольт-амперной, спектральной и световых характеристик вакуумного фотоэлемента.
Определение красной границы фотоэффекта, работы выхода электронов из металла и задерживающего потенциала для излучения различных длин волн.
ПРИБОРЫ И ОБОРУДОВАНИЕ:
Фотоэлемент, источник питания фотоэлемента, вольтметр, гальванометр, монохроматор, система линз, источник света с источником питания.
Излучение (свет) обнаруживает квантово-волновой дуализм: при его распространении проявляются волновые свойства (дифракция, интерференция и др.), при поглощении и испускании – корпускулярные.
Явления фотоэффекта можно понять, учитывая корпускулярную природу излучения.
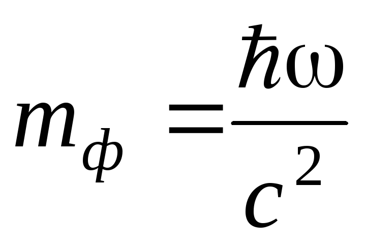
Гипотеза о корпускулярной природе излучения была сделана Эйнштейном, который предположил, что излучение представляет собой поток отдельных частиц (квантов). Квант электромагнитного излучения был назван фотоном. Фотон обладает всеми присущими частице характеристиками. Заряд фотона равен нулю, спин-единице. Масса покоя фотона равна нулю. Это означает, что фотон существует только в движении, причем скорость его в любой системе отсчета равна скорости света (с). Фотон можно охарактеризовать следующими величинами:
энергией Еф:
,
(1.1)
где
,
– постоянная Планка (
=6,6210-34
Джс);
– циклическая частота излучения;
импульсом
:
(1.2)
массой движения тф:
.
(1.3)
Существует три основных
процесса взаимодействия фотонов с
частицами вещества (электронами):
фотоэффект, эффект Комптона, рождение
электрон-позитронных пар. Характер
взаимодействия фотона с электронами
зависит от энергии фотона
.
Фотоэффект (вырывание электронов
под действием света) происходит, когда
энергия фотона ненамного превышает
– энергию связи электрона в атоме или
кристалле, т.е.
.
При фотоэффекте фотон поглощается
электроном атома (кристаллической
решетки). Электрон получает добавочный
импульс и покидает атом (кристаллическую
решетку), а ядро вместе с остальными
электронами приобретает импульс отдачи.
При относительно небольших энергиях
фотоны поглощаются валентными электронами,
наименее связанными с ядром. С возрастанием
энергии фотона
вероятность фотоэффекта падает, однако
всякий раз, когда энергия кванта
становится порядка энергии, необходимой
для ионизации электронов следующей,
более глубокой энергетической оболочки,
вероятность поглощения фотонов
(фотоэффект) резко возрастает.
Экспериментально открытые
закономерности фотоэффекта можно
объяснить, если считать, что электрон
может поглощать один фотон энергии
.
Часть этой энергии, равная работе выхода
электрона из атома (кристалла) – Авых,
затрачивается на то, чтобы электрон мог
покинуть тело. Оставшаяся энергия фотона
передается электрону в виде кинетической
энергии
.
Закон сохранения энергии для этого процесса запишется следующим образом:
.
(1.4)
Соотношение (1.4) называется
формулой Эйнштейна для фотоэффекта. Из
формулы (1.4) следует, что кинетическая
энергия фотоэлектрона Ек
является линейной функцией частоты
излучения, под действием которого
произошел фотоэффект, а также то, что
при
электроны не могут покинуть металл. Для
возникновения фотоэффекта необходимо,
чтобы
,
т.е. частота излучения должна быть больше
некоторого значения
:
.
(1.5)
Максимальная длина волны
излучения, при которой фотоэффект еще
возможен, называется красной границей
фотоэффекта –
:
,
(1.6)
или
.
(1.7)
Число высвобожденных вследствие фотоэффекта электронов должно быть пропорционально числу падающих на поверхность фотонов. Поскольку световой поток определяется количеством фотонов, падающих на поверхность в единицу времени, число электронов должно быть пропорционально световому потоку (интенсивность света). Однако при фотоэффекте лишь малая часть квантов передает свою энергию электронам. Энергия остальных квантов затрачивается на нагревание вещества, поглощающего свет.
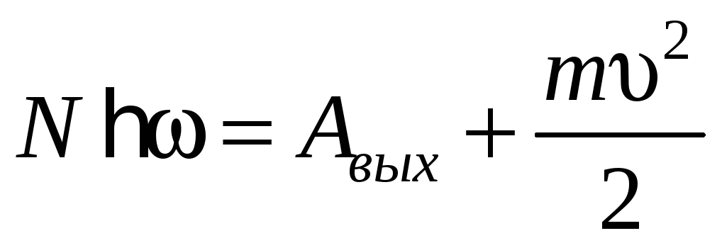
При освещении поверхности
мощными световыми пучками, которые
создаются лазерами, осуществляются
многофотонные процессы. В этом случае
электрон получает энергию сразу от
фотонов, и уравнение Эйнштейна приобретает
вид:
.
(1.8)
Формула Эйнштейна (1.4) справедлива при освещении поверхности световыми пучками от обычных источников света.
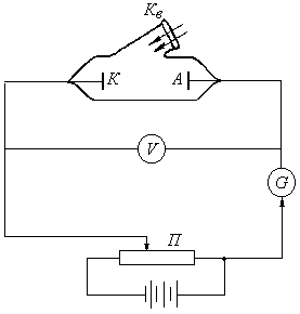
Различают внешний и внутренний фотоэффект. При внешнем фотоэффекте освобожденные электроны из освещаемой поверхности вещества переходят в другую среду. При внутреннем фотоэффекте оптически возбужденные электроны остаются внутри освещенного тела, не нарушая нейтральность последнего. В веществе при этом изменяется концентрация носителей заряда или их подвижность, что приводит к изменению электрических свойств вещества под действием падающего на него света. Внутренний фотоэффект присущ только полупроводникам и диэлектрикам. Схема установки для исследования внешнего фотоэффекта приведена на рис. 1.1.

Рис. 1.1.
Свет, проникающий через
кварцевое окно Кв, освещает катод
К фотоэлемента. Электроны, испущенные
вследствие фотоэффекта, перемещаются
под действием электрического поля к
аноду А. В цепи течет фототок,
измеряемый гальванометром
.
Напряжение между анодом и катодом
изменяется с помощью потенциометра П.
Полученная на таком приборе вольт-амперная
характеристика (кривая зависимости
фототока
от напряжения между электродами
)
приведена на рис. 1.2., характеристика
снимается при неизменном потоке света
Ф.

Рис.1.2.
Из рисунка 1.2 видно, что при
некотором значении
фототок достигает насыщения, когда все
электроны, испущенные катодом, достигают
анода. Следовательно, сила фототока
насыщения определяется количеством
электронов, испускаемых катодом в
единицу времени под действием света.
При
=
0 фототок не исчезает. Это свидетельствует
о том, что электроны покидают фотокатод
со скоростью, отличной от нуля. Чтобы
фототок стал равным нулю, нужно между
электродами приложить задерживающее
напряжение. При таком напряжении
ни одному из электронов не удастся
преодолеть задерживающее поле и
достигнуть анода, т.е.
.
(1.9)
Подставив в формулу (1.4) значение
из формулы (1.9), можно определить величину
задерживающего потенциала:
.
(1.10)
Таким образом, при освещении
фотокатода монохроматическим светом
задерживающий потенциал
изменяется с частотой по линейному
закону (см. рис 1.3).

Рис. 1.3.
По тангенсу угла наклона прямой
на графике можно определить коэффициент
в равенстве (1.10). По точке пересечения
прямой с осью ординат (
)
определяется коэффициент Авых/е.
Таким образом, анализируя экспериментально
полученную зависимость задерживающего
потенциала от частоты излучения, можно
найти постоянную Планка
и работу выхода электрона из исследуемого
материала (катод).
Изучение вольт-амперных характеристик фотоэлектрического тока позволило обнаружить следующие закономерности:
Сила фототока насыщения прямопро порциональна падающему световому потоку, или иначе: число фотоэлектронов, вылетающих в единицу времени с единицы поверхности при неизменной длине волны излучения пропорционально интенсивности излучения.
Скорость электронов (задерживающий потенциал) при фотоэффекте является функцией частоты падающего света. С увеличением частоты света скорость электронов возрастает.
Интенсивность излучения на скорость фотоэлектронов и их энергию не влияет.
К числу основных характеристик фотоэлементов относятся вольт-амперная, спектральная и световая. Вид вольт-амперной характеристики приведен на рис. 1.2. Спектральная характеристика фотоэлемента показывает, как чувствительность фотоэлемента зависит от длины волны излучения при постоянной величине светового потока и постоянном приложенном напряжении. Световая характеристика выражает зависимость фототока от падающего на фотокатод светового потока постоянного спектрального состава при постоянном приложенном напряжении. Световые характеристики фотоэлемента линейны.