Материал: Измерение характеристик случайных сигналов

Внимание! Если размещение файла нарушает Ваши авторские права, то обязательно сообщите нам

Рисунок 4

. Измерение корреляционных функций. Метод дискретных выборок

Для измерения корреляционных функций наиболее часто используется метод перемножения. Алгоритм работы аналогового коррелометра, реализующего метод дискретных выборок, вытекает из формул (8) и (9). Этот метод предусматривает выполнение следующих операций:

задержку исследуемого сигнала или одного из сигналов на время τ;

перемножение задержанного и незадержанного сигналов;

усреднение результатов перемножения.

Если коррелометр цифровой, то перечисленным выше операциям должна предшествовать дискретизация по времени и квантование по уровню. Поэтому алгоритм работы цифрового коррелометра будет определяться следующим соотношениями

, (11)

, (12)

где и - квантованные по уровню значения центрированных реализаций X(t) и Y(t) в дискретные моменты времени ;

 - интервал сдвига во времени, р = 0,1,2,…;

N - количество выборок.

Коррелометры бывают двух модификаций: последовательного и параллельного действия.

В цифровых коррелометрах последовательного действия сначала по формуле (1.16) вычисляется значение корреляционной функции при р=0, т.е. значение реализации умножается само на себя, затем вводится задержка τ0, (р=1) и определяется значение функции  и  далее проводятся вычисления при p=2,3,…, до м.к.. (τм.к - максимальный интервал корреляции, за пределами которого выборки сигнала можно считать практически некоррелированными).

Цифровой коррелометр параллельного действия позволяет одновременно вычислить все р- значений корреляционной функции, но становится при этом многоканальным прибором. Поэтому на практике чаще всего реализуются коррелометры последовательного действия (рисунок 5).

Работа всех узлов коррелометра синхронизируется устройством управления (УУ). Схема задержки состоит из р регистров сдвига, управляемых тактовыми импульсами УУ. Вместо перемножителя и усреднителя может быть использован микропроцессор. Накопление результатов перемножения производится в течение всего цикла измерения, и в конце цикла мы имеем полную информацию о корреляционной функции. Эта информация воспроизводится на ИУ в виде коррелограммы. Эта схема работает в диапазоне до сотен килогерц.

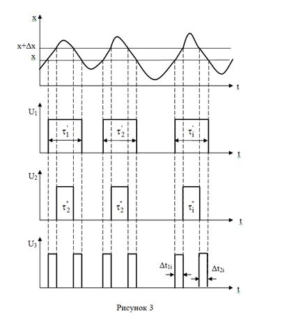
. Анализ распределения вероятностей методом дискретных выборок

Если с помощью уровней квантования сформировать дифференциальный коридор, а тактовые импульсы УУ использовать в качестве импульсов опроса, то прибор, структурная схема которого приведена на рисунке 5, будет работать как измеритель распределения вероятностей, реализующий метод дискретных выборок.

Суть этого метода та же, что и рассмотренного выше метода измерения по относительному времени пребывания. Однако теперь это сравнение происходит в дискретных точках, которые задаются стробирующими импульсами опроса с периодом следования Т0. Эти импульсы задаются УУ. Значение Т0 определяет шаг дискретизации при преобразовании аналоговой величины х(t) в дискретную.

Если сосчитать число выборок n за интервал пребывания реализации x(t) выше уровня х (при измерении ) или в пределах дифференциального коридора ∆х (при измерении ), то мы получим:

;

Количество импульсов, соответствующее числу выборок n, накапливается в усреднителе за время Т. Обозначив , получим после подстановки в формулы (14) и (11) следующие выражения:

 (13)

После обработки значения  и  воспроизводится на индикаторном устройстве.

Основная погрешность работы прибора во всех режимах не превышает значения ±5%


Заключение

Измерение характеристик случайных сигналов сводится к обработке реализаций этих процессов по определенному алгоритму. Если реализации каким-либо образом записаны, то характеристики можно рассчитать, с помощью ЭВМ. Особенность задачи при этом состоит во вводе в оперативную память машины большего объема исходных данных. Существуют специализированные измерители характеристик случайных процессов, позволяющие измерить плотность вероятности, корреляционные функции и другие характеристики.

Измерения характеристик случайных сигналов базируются на общих принципах измерения значений физических величин и параметров сигналов, но имеют свою специфику, ряд особенностей и требуют применения методов и аппаратурных решений, зачастую существенно отличных от используемых в технике измерений детерминированных сигналов.

Измерения характеристик случайных сигналов необходимы при исследовании помехоустойчивости систем связи и определении качества и надежности элементов и узлов устройств техники связи и измерительных приборов.

Методика измерений характеристик стационарных эргодических случайных процессов заключается в преобразовании реализаций этих процессов по определенному закону. Например, при определении математического ожидания эта обработка сводится к нахождению среднего значения реализации. Обработка реализации может производиться с помощью аналоговой или цифровой аппаратуры. В последнем случае из реализации производятся дискретные выборки ее значений.

При измерении характеристик случайных процессов получить полностью достоверные результаты теоретически невозможно, так как время исследования процесса ограничено. Характеристики распределения, полученные экспериментально, называются статистическими характеристиками или оценками. Они дают приближенное значение теоретических характеристик случайных процессов.

При многих измерениях характеристик случайных процессов верхняя граница Т определяется длительностью интервала, на протяжении которого допустимо предположение о стационарности процесса, а нижняя граница Т задается приемлемой величиной относительной среднеквадратичной погрешности измерения.

Знаковые коррелометры широко используют при исследовании и измерении характеристик случайных процессов с нормальным законом распределения.

Указанные величины должны выбираться так, чтобы эта зависимость по абсолютной или относительной величине не превышала допустимой погрешности измерения характеристики случайного процесса.

Эргодические свойства широко используются в практике измерений характеристик случайных процессов.


Список источников:

1. Айфичер Э., Джервис Б. Цифровая обработка сигналов. Практический подход. М.: ИД "Вильямс", 2004. - 992 с.

2. Верисокин А.Ю. Определение показателей Ляпунова на примере модели Селькова в присутствии внешней периодической силы. Спектральный анализ и его приложения. Пер. с англ. - Москва, Мир, 1990. - 584 стр.

4. Метрология, стандартизация и измерения в технике связи: Учеб. пособие для вузов / Под ред. Б.П. Хромого. - М.: Радио и связь, 2006

. Сергиенко А.Б. Цифровая обработка сигналов: Учебное пособие. Второе издание.- СПб.: Питер, 2006.-752 с.