Материал: Исследование оптических характеристик функционального преобразователя свет-частота на основе высокоомного GaAs

Внимание! Если размещение файла нарушает Ваши авторские права, то обязательно сообщите нам

Исследование оптических характеристик функционального преобразователя свет-частота на основе высокоомного GaAs

Министерство образования и науки Российской Федерации

Федеральное государственное бюджетное образовательное учреждение высшего профессионального образования

Саратовский государственный университет имени Н.Г. Чернышевского

Факультет нано- и биомедицинских технологий

Кафедра физики полупроводников



Выпускная квалификационная работа бакалавра

по направлению 210100 «Электроника и наноэлектроника»

Тема работы:

Исследование оптических характеристик функционального преобразователя свет-частота на основе высоомного GаAs



Выполнил студент 4 курса

Старынин Михаил Юрьевич

Научный руководитель

профессор, д.ф.-м.н. А.И. Михайлов




Саратов, 2014

Введение

1. Исследования неустойчивостей тока в полупроводниках

2.      Современное состояние элементной базы полупроводниковых оптических преобразователей

2.1 Элементная база

.2 Сферы применения

.   Экспериментальное исследование оптических характеристик преобразователя свет-частота с металлическими контактами различной формы

.1 Конструкция однокристального преобразователя свет-частота и методика проведения экспериментального исследования

.2 Результаты экспериментального исследования оптических характеристик преобразователя свет-частота

.3 Анализ и интерпретация результатов экспериментального исследования

. Функциональные свойства

Аналоги

Выводы

Введение

Развитие цифровой электроники на сегодняшний день тесно связанно с возможностями интегральной микроэлектроники. Одним из наиболее перспективных направлений современной микроэлектроники является функциональная микроэлектроника, основанная на использовании динамических неоднородностей, обеспечивающих несхемотехнические принципы работы устройств. В функциональной микроэлектронике используется взаимодействие потоков электронов с акустическими и электромагнитными волнами в твёрдом теле, свойства полупроводников, магнетиков и сверхпроводников в магнитных и электрических полях и др. [1,2]. В отличие от используемых в схемотехнической микроэлектронике статических неоднородностей, формируемых в процессе изготовления прибора, динамические неоднородности возникают в объеме твердого тела под действием внешних физических факторов при функционировании прибора и выступают в роли непосредственных носителей информации. Использование возможностей функциональной микроэлектроники позволяет заменить сложные интегральные схемы их функциональными аналогами, что, в свою очередь, дает очевидные преимущества: меньший размер, простота конструкции, меньшее энергопотребление и др.

Как известно, все современные полупроводниковые датчики являются аналоговыми приборами, и для применения их в цифровой электронике необходимо использование аналого-цифровых преобразователей (АЦП). Кроме дополнительного потребления электроэнергии, АЦП также вносит погрешности в детектируемый сигнал, которые состоят из ошибок квантования и апертурных ошибок [3]. Ошибки квантования являются следствием ограниченного разрешения АЦП и не могут быть устранены ни при каком типе аналого-цифрового преобразования. Другой вид ошибок связан с тем, что любой шум, или «дрожание» фазы тактовой частоты АЦП, смешивается с полезным сигналом и в результате происходит искажение формы преобразуемого сигнала. Подобные системы плохо подходят для детектирования сложных сигналов в различных системах передачи данных.

Установление механизмов управления динамикой доменов сильного поля, исследования особенностей проявления этих неустойчивостей в условиях воздействия однородного или локализованного оптического излучения открывают перспективы создания различных электронных, оптоэлектронных и электрооптических элементов и устройств с широкими функциональными возможностями, способных осуществлять прием, обработку, хранение, передачу и отображение сложных информационных сигналов в широком диапазоне частот (от десятков kHz до десятков GHz). Синтез таких систем с использованием планарной технологии позволяет совместить неоспоримые достоинства интегральной электроники с большими возможностями функциональных компонентов. А переход от схемотехнической к функциональной интеграции в таких микроэлектронных функциональных устройствах снимает необходимость создания множества мелкоструктурных элементов и межсоединений и обеспечивает возможность локализованного оптического воздействия на активную область отдельного элемента.

Таким образом, совмещение функции детектора и аналогово-цифрового преобразователя в одном функциональном приборе позволит избавиться от описанных недостатков АЦП. В качестве такого функционального прибора может быть реализован фотоэлектрический преобразователь свет-частота на основе высокоомного арсенида галлия.

В связи с этим, целью данной работы является исследование воздействия электромагнитного излучения видимого и ИК диапазонов на параметры токовых колебаний в мезапланарных структурах на основе высокоомного арсенида галлия n-типа.

Для достижения поставленной цели решались следующие задачи:

анализ литературы, посвященной исследованиям неустойчивостей тока в полупроводниках;

анализ современного состояния элементной базы полупроводниковых фотоэлектрических преобразователей;

экспериментальное исследование воздействия электромагнитного излучения видимого и части ИК диапазонов на постоянную составляющую тока, амплитуду и частоту токовых колебаний в мезапланарных структурах на основе высокоомного арсенида галлия n-типа с различной формой контактных площадок;

экспериментальное исследование влияния приложенного к мезаструктуре напряжения на характер зависимости частоты от падающей мощности лазерного излучения;

анализ и интерпретация полученных экспериментальных результатов;

1. Исследования неустойчивостей тока в полупроводниках

Для построения функциональных устройств используются нелинейные активные среды, в объеме которых возможно образование и распространение динамических неоднородностей электрического поля. В функциональной электронике динамические неоднородности в однородном объеме твердого тела являются непосредственными носителями информации и в отличие от статических неоднородностей создаются не в процессе изготовления электронного устройства, а под действием внешних факторов при функционировании электронного устройства. Известно большое количество динамических неоднородностей различной физической природы. Это ансамбли заряженных частиц и квазичастиц (зарядовые пакеты, флуксоны и т.п.), домены (электрические домены, цилиндрические магнитные домены и т.п.), динамические неоднородности волновой природы (поверхностные акустические волны, магнитные статические волны и т.п.). Образование динамической неоднородности осуществляется за счет различных эффектов, возникающих в полупроводниковых структурах. Наиболее перспективными средами для функциональной электроники, в которых возможно возникновение динамических неоднородностей электрического поля, являются многодолинные широкозонные полупроводники (GaAs, GaN, InP, CdTe и др.). В таких нелинейных средах в сильных электрических полях вследствие зависимости подвижности электронов от напряженности электрического поля возможно наблюдение известного эффекта Ганна [4, 5].

Другим типом неустойчивости, проявляющимся в сильных электрических полях, является рекомбинационная неустойчивость тока, обусловленная захватом электронов глубокими уровнями [6-11]. Из-за многообразия физических факторов, которые не всегда удается контролировать, рекомбинационные неустойчивости тока занимают ведущее место среди других видов неустойчивостей как по количеству, так и по противоречивости литературных данных.

Анализ работ по рекомбинационным неустойчивостям тока [12,13] показывает, что необходимым условием существования колебаний является наличие в образцах электронных ловушек с глубокими энергетическими уровнями. Такие ловушки создаются либо введением примеси, либо связаны с наличием всевозможных дефектов или поверхностных состояний.

В работах [14,15] неустойчивость тока связывается с периодическим заполнением и опустошением поверхностных состояний и, соответственно, изменением высоты контролируемого ими потенциального барьера, что позволяет выделить определенный вид неустойчивости - поверхностно-барьерную неустойчивость тока.

Возникновение области отрицательного дифференциального сопротивления на вольт-амперной характеристике (ВАХ) образца и соответствующей рекомбинационной неустойчивости тока обусловлено зависимостью концентрации свободных электронов от напряженности электрического поля.

Впервые зависимость скорости захвата электронов от энергии была исследована при комнатной температуре для нейтральных атомов никеля и однократно заряженных отрицательных ионов меди [16]. Было обнаружено, что скорость захвата центрами Cu- увеличивается с ростом энергии электронов, соответствуя не зависящему от энергии электронов сечению захвата. Несмотря на отталкивающий заряд ионов меди Cu-, сечение захвата на них было не намного меньше, чем на атомах Ni0. Предполагалось, что относительная неэффективность кулоновского барьера обусловлена туннелированием электронов.

При исследовании образца Ge n-типа, содержащего ионы Au-, при 77 К было обнаружено увеличение скорости захвата с ростом энергии электронов, но оно не было достаточно сильным для возникновения ОДС [17]. Снижение температуры до 20 К и использование образцов, легированных Sb и Au в таком соотношении, что захват электронов происходил в основном на ионах Au2-, позволило Ридли и Пратту получить ОДС и наблюдать возникновение доменной неустойчивости [18].

ОДС и когерентные колебания, обусловленные механизмом захвата электронов, были обнаружены при 77 К также в образцах Ge, легированного Sb и Cu в таком соотношении, что захват происходил в основном на ионах Cu [19]. ОДС, вызванное этим механизмом, наблюдалось и в n-GaAs. Такое наблюдение впервые было сделано в измерениях, проведенных при комнатной температуре на высокоомном материале, компенсированном кислородом. В полях, превышающих пороговое (800 В/см), до которого характеристика была омической, в образце возникали сильные колебания тока. Период колебаний изменялся от миллисекунд до нескольких секунд в зависимости от температуры и приложенного напряжения.

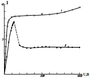
В работе [20] были исследованы низкочастотные осцилляции тока в высокоомных образцах CdSnP2 (ρ ≥ 104 Ом·см), легированных Cu, в сильных электрических полях. Исследования проводились при Т = 77 К на образцах различной длины с двумя омическими контактами при освещении белым рассеянным светом. Как видно из рисунка 1, вольт-амперная характеристика при слабой подсветке (кривая 1) в полях, превышающих 0,5 кВ/см имеет сублинейный характер с участком насыщения тока, сохраняющимся вплоть до 7 кВ/см. При интенсивности подсветки выше некоторого порогового значения вид зависимости I(V) существенно изменяется. В полях свыше 1 кВ/см возникали низкочастотные колебания тока большой амплитуды. Зондовые исследования и изучение кинетики образования «скачка тока» на вольтамперной характеристике показали, что в исследовавшихся образцах CdSnP2 при полях превышающих 1 кВ/см наблюдается участок объёмной отрицательной дифференциальной проводимости и образуется перемещающийся по образцу домен сильного поля.

Авторами работы было сделано предположение, что наблюдающиеся низкочастотные неустойчивости в CdSnP2(Cu) могут быть обусловлены захватом горячих электронов на отталкивающие центры (Ev + 0,92) эВ или (Ec - 0,03) эВ в образцах с различным количеством компенсирующей акцепторной примеси Cu.

Рис. 1. Вольт-амперные характеристики образца CdSnP2 при малом (1) и большом (2) уровнях подсветки. Масштаб по оси ординат для кривой 1 - 10-7 А/дел, для кривой 2 - 10-5 А/дел. Длина образца L = 1 мм

В высокоомном n-GaAs возникновение медленно движущихся доменов, связанных с зависящим от поля захватом, было обнаружено Барро. Критические поля возникновения таких доменов лежали в пределах от 90 В/см до 3100 В/см в зависимости от типа примесных центров, температуры, освещённости образца и других факторов. Скорость доменов может лежать в пределах приблизительно от 10-5 до 104 см/с.

В работе [21] авторами была предложена модель захвата электронов в структурах эпитаксиальная пленка n-GaAs - полуизолирующая подложка. Модель основана на предположении, что горячие электроны, появляющиеся в плёнке в сильных электрических полях, проникают через барьер, имеющийся на границе плёнка-подложка, и захватываются на примесные центры в полуизолирующей подложке. Справедливость модели подтверждалась экспериментами по изменению высоты барьера на границе раздела с помощью напряжения, прикладываемого между пленкой и подложкой.

Было установлено что всем приборам, изготовленным из эпитаксиальных пленок n-GaAs, выращенных на полуизолирующей подложке, свойственен захват свободных носителей заряда со следующими особенностями:

) высокая скорость захвата (характерное время 10-9 с, чему соответствует сечение 10-13 см2 при концентрации центров 1015 см3);

) особенности влияния подсветки на эффект захвата показали, что в нем участвуют ловушки с уровнями энергии на 0,4-0,8 эВ ниже дна зоны проводимости. Так как упомянутые уровни в низкоомной пленке полностью заполнены (уровень Ферми на глубине Ec - 0,2 эВ) и не могут участвовать в захвате, было выдвинуто предположение, что захват электронов происходит на уровни, расположенные в подложке; проникновение электронов из плёнки в подложку связано с преодолением потенциального барьера высотой 0,3-0,4 эВ, имеющегося на границе раздела пленка - подложка.

В работах [22-26] было экспериментально установлено, что в длинных высокоомных планарно-эпитаксиальных структурах на основе n-GaAs возможно наблюдение отрицательной дифференциальной проводимости и соответствующих осцилляций тока, частота, амплитуда и форма которых может в существенной степени определяться величиной приложенного напряжения, интенсивностью и локализацией засветки. Математическое моделирование [25, 16] показало, что наблюдаемые колебания тока могут быть обусловлены зависящим от поля механизмом захвата свободных носителей заряда на глубокие примесные уровни, характерным для рекомбинационных неустойчивостей. Проведенные до настоящего времени экспериментальные исследования [22-26] не позволили установить конкретные факторы, определяющие возникновение указанных неустойчивостей тока.

Возможность применения рекомбинационной неустойчивости тока в функциональной электронике была описана в работе [27]. Предложенные авторами фотоэлектрические преобразователи представляют собой эпитаксиальные транзисторные p+-n- структуры на основе кремния с локальным контактом на n-области. Авторы также показали высокую функциональность и перспективность применения таких фотопреобразователей в оптоэлектронике.

Появление за последние десятилетия большого количества новых работ, в которых проводились исследования низкочастотных колебаний тока в высокоомных полупроводниках, свидетельствует о нарастающем интересе к данной теме.

2. Современное состояние элементной базы полупроводниковых фотоэлектрических преобразователей

Раздел электроники, включающий в себя вопросы преобразования оптической информации в электрический сигнал называется оптоэлектроникой. Основными элементами оптоэлектроники, помимо источников света и оптических сред, являются фотоприёмники. Наиболее распространенными полупроводниковыми фотоприемниками являются: фоторезистор, фототранзистор, фотодиод.

Оптические преобразователи как элементы цепи преобразования информации применяются в различных системах, предназначенных для контроля и измерения геометрических размеров и скоростей движения объектов, температуры, управления различными механизмами, для определения качественного состава твердых, жидких и газообразных сред, включения и выключения различных устройств и т.д. Они реагируют на интенсивность излучения, усреднённую по многим периодам колебания поля, т.к. время реакции приёмника независимо от того, на каком физическом явлении он основан, определяется процессами переноса и релаксации, которые происходят медленнее, чем колебания светового поля.

Важными параметрами, характеризующими свойства и возможности различных типов фотоприемников, является: пороговая чувствительность - минимальный поток излучения (который может быть обнаружен на фоне собственных шумов фотоприемника), отнесённый к единице полосы рабочих частот; коэффициент преобразования (интегральная чувствительность, относительная чувствительность), который связывает падающий поток излучения с величиной сигнала на выходе фотоприемника; постоянная времени - время, за которое сигнал на выходе фотоприемника нарастает до определённого уровня (этот параметр служит мерой способности регистрировать оптические сигналы минимальной длительности); спектральная характеристика - зависимость чувствительности фотоприемника от длины волны излучения. Фотоприемники, у которых чувствительность слабо зависит от длины волны в широком диапазоне длин волн, называются неселективными, в отличие от селективных, имеющих на спектральной характеристике чётко выраженные максимумы и (или) минимумы.