Материал: искусственный интеллект

Внимание! Если размещение файла нарушает Ваши авторские права, то обязательно сообщите нам

suai.ru/our-contacts

quantum machine learning

88

B. Wang et al.

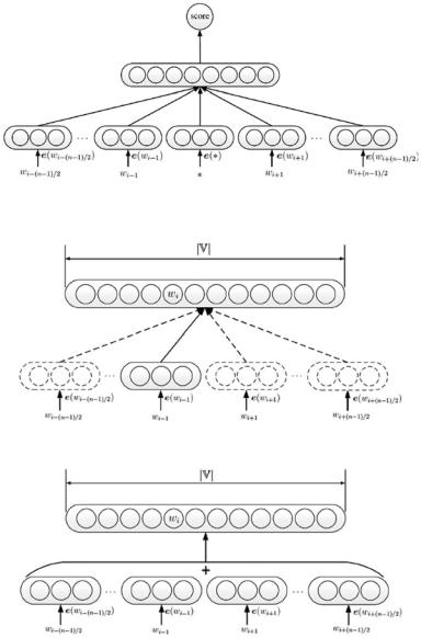
Fig. 3 C&W concatenates all the word vectors to predict whether it is a natural sentence or if it has replaced the center word with a random word [58]

Fig. 4 Skip-gram directly uses one word to predict its neighboring word [58]

Fig. 5 CBOW uses the average embedding of the contextual words to predict the target word, where the contextual words are surrounded by the target word [58]

CBOW As shown in Fig. 5, CBOW uses context words to predict the current word. The difference between Skip-gram and CBOW is that in order to predict the target word, CBOW uses many words as the context, while Skip-gram uses only one neighboring word.

suai.ru/our-contacts

quantum machine learning

Representing Words in Vector Space and Beyond

89

Glove Another popular word embedding named Glove3 [78] takes advantage of global matrix factorization and local context window methods. It is worth mentioning that [60] explains that the Skip-gram with negative sampling derives the same optimal solution as matrix (Point-wise Mutual Information (PMI)) factorization.

3 Applications of Word Embedding

According to the input and output objects, we will discuss word-level applications in Sect. 3.1, sentence-level applications in Sect. 3.2, pair-level applications in Sect. 3.3, and seq2seq generation applications in Sect. 3.4. These applications can be the benchmarks to evaluate the quality of word embedding, as introduced in Sect. 3.5.

3.1 Word-Level Applications

Based on the learned word vector from a large-scale corpus, the word-level property can be inferred. Regarding single-word level property, word sentiment polarity is one of the typical properties. Word-pair properties are more common tasks, like word similarity and word analogy.

The advantage of word embedding is that: all the words, even from a complicated hierarchical structure like WordNet [31],4 are embedded in a single word vector, thus leading to a very simple data structure and easy incorporation with a downstream neural network. Meanwhile, this simple data structure, namely a wordvector mapping, also provides some potential to share different knowledge from various domains.

3.2 Sentence-Level Application

Regarding sentence-level applications, the two typical tasks are sentence classiÞcation and sequential labeling, depending on how many labels the task needs. For a given sentence, there is only one Þnal label for the whole sentence for text classiÞcation, where the number of labels in the sequential labeling is related to the number of tokens in the sentence (Fig. 6).

3https://nlp.stanford.edu/projects/glove/.

4An example of hierarchical structures is shown at the following address: http://people.csail.mit. edu/torralba/research/LabelMe/wordnet/test.html.

suai.ru/our-contacts

quantum machine learning

90

 

 

 

 

B. Wang et al.

Fig. 6 Sentence-level

 

 

 

 

 

 

 

Classification

 

 

applications: sentence

 

 

 

 

 

 

S

 

 

classiÞcation and sequential

 

 

 

 

 

 

 

 

 

labeling

 

 

 

 

 

 

 

 

 

 

 

 

 

token

token

token

token

 

 

 

 

 

 

 

 

Sequential labelling

Sentence Classification Sentence classiÞcation aims to predict the possible label for a given sentence, where the label can be related to the topic, the sentimental polarity, or whether the mail is spam. Text classiÞcations were previously overviewed by Zhai [1], who mainly discussed the traditional textual representation. To some extent, trained word embedding from a large-scale external corpus (like Wikipedia pages or online news) is commonly used in IR and NLP tasks like text classiÞcation. Especially for a task with limited labeled data, in which it is impossible to train effective word vectors (usually with one hundred thousand parameters that need to be trained) due to the limited corpus, pre-trained embedding from a large-scale external corpus could provide general features. For example, average embedding (or with a weighted scheme) could be a baseline for many sentence representations and even document representations. However, due to the original error for the embedding training process in the external corpus and the possible domain difference between the current dataset and external corpus, adopting the embedding as features usually will not achieve signiÞcant improvement over traditional bag-of-word models, e.g., BM25 [88].

In order to solve this problem, the word vectors trained from a large-scale external corpus are only adopted as the initial value for the downstream task [51]. Generally speaking, all the parameters of the neural network are trained from scratch with a random or regularized initialization. However, the scale of the parameter in the neural network is large and the training samples may be small. Moreover, the trained knowledge from another corpus is expected to be used in a new task, which is commonly used in Computer Vision (CV) [41]. In an extreme situation, the current dataset is large enough to implicitly train the word embedding from scratch; thus, the effect of pre-initial embedding could be of little importance.

Firstly, multi-layer perception is adopted over the embedding layers. Kim et al. [51] Þrst proposed a CNN-based neural network for sentence classiÞcation as shown in Fig. 7. The other typical neural networks named Recurrent Neural Network (and its variant called Long and Short Term Memory (LSTM) network [43] as shown in Fig. 8) and Recursive Neural Network [36, 81], which naturally process sequential sentences and tree-based sentences, are becoming more and more popular. In particular, word embedding with LSTM encoderÐdecoder architecture

suai.ru/our-contacts

quantum machine learning

Representing Words in Vector Space and Beyond

91

Fig. 7 CNN for sentence modeling [52] with convolution structures and max pooling

Fig. 8 LSTM. The left subÞgure shows a recurrent structure, while the right one is unfolded over time

[3, 18] outperformed the classical statistic machine translation,5 which dominates machine translation approaches. Currently, the industrial community like Google adopts completely neural machine translation and abandons statistical machine translation.6

Sequential Labeling Sequence labeling aims to classify each item of a sequence of observed value, with the consideration of the whole context. For example, Part- Of-Speech (POS) tagging, also called word-category disambiguation, is the process of assignment of each word in a text (corpus) to a particular part-of-speech label (e.g., noun and verb) based on its context, i.e., its relationship with adjacent and related words in a phrase or sentence. Similar to the POS tagging, the segment tasks like Named Entity Recognition (NER) and word segment can also be implemented in a general sequential labeling task, with deÞnitions of some labels like begin label (usually named ÒBÓ), intermediate label (usually named ÒOÓ), and end label (usually named ÒEÓ). The typical architecture for sequence labeling is called BiLSTM-CRF [46, 59], which is based on bidirectional LSTMs and conditional random Þelds, as shown in Fig. 9.

5http://www.meta-net.eu/events/meta-forum-2016/slides/09_sennrich.pdf.

6https://blog.google/products/translate/found-translation-more-accurate-ßuent-sentences-google- translate/.

suai.ru/our-contacts

quantum machine learning

92

B. Wang et al.

Fig. 9 LSTM-CRF for named entity recognition [59]

Document-Level Representation Similar to the methods for sentence-level representation, a document with mostly multiple sentences, which can also be considered a long Òsentence,Ó needs an adaption for more tokens. A document mostly consists in multiple sentences. If we interpret a document as a long sentence, we can use the same approaches proposed for the sentence-level applications while taking into account the fact that there are more tokens. For example, a hierarchical architecture is usually adopted for document representation, especially in RNN, as shown in Fig. 10. Generally speaking, all the sentence-level approaches can be used in document-level representation, especially if the document is not so long.

3.3 Sentence-Pair Level Application

The difference between sentence applications and sentence-pair applications is the extra interaction module (we call it a matching module), as shown in Fig. 11. Evaluating the relationship between two sentences (or a sentence pair) is typically considered a matching task, e.g., information retrieval [73, 74, 129], natural language inference [14], paraphrase identiÞcation [27], and question answering. It is worth mentioning that the Reading Comprehension (RC) task can also be a matching task (especially question answering) when using an extra context, i.e., a passage for background knowledge, while the question answering (answer selection) does not have speciÞc context. In the next subsection, we will introduce the Question Answering task and Reading Comprehension task.