Материал: Инженерные сети и оборудование

Внимание! Если размещение файла нарушает Ваши авторские права, то обязательно сообщите нам

В теплый период года вытяжка через ствол мусоропровода практически отсутствует. В то же время именно в теплый период года, в летнее время в жаркие дни, особенно велик риск возникновения неприятных запахов и распространения их по зданию. Допускается применение механической вентиляции: «для выполнения санитарно-гигиенических требований должна быть обеспечена естественная, а в необходимых случаях принудительная вентиляция мусоросборной камеры и ствола мусоропровода». В связи с этим обстоятельством на рассматриваемых объектах обеспечивается дополнительная механическая приточно-вытяжная вентиляция мусоросборных камер и помещений, в которых расположены мусороприемные клапаны.

Помещение мусоросборной камеры должно находится в здании непосредственно под стволом мусоропровода и иметь размеры в плане не менее 2×1,5 м, при этом высота от чистого пола до потолка должна составлять не менее 2,2 м. Транспортный коридор, ведущий к мусоросборной камере, должен иметь ширину не менее 1,5 м. Планировка мусоросборной камеры для каждого объекта выполняется на стадии проектирования. При этом следует иметь в виду, что, мусоросборные камеры в жилых зданиях не допускается располагать под жилыми комнатами или смежно с ними, а в общественных зданиях - под служебными помещениями с постоянным пребыванием людей.

Мусоросборная камера должна быть обеспечена подводкой горячей и холодной воды от систем водоснабжения здания и оснащена водоразборным смесителем для санитарной обработки камеры и оборудования. Для стока моюще-дезинфицирующих растворов в полу камеры размещается трап, присоединенный к канализации здания.

Для дополнительной противопожарной защиты в мусоросборной камере устанавливаются спринклерные системы пожаротушения. В случае возникновения возгорания в мусоросборной камере срабатывание данной системы позволяет предупредить распространения задымления по этажам здания по стволу мусоропровода. Кроме того, один спринклер устанавливается в стволе мусоропровода на уровне верхнего технического этажа.

4.      Выполните схему выпуска канализации из здания

Система водоотведения (канализация) предназначена для удаления из здания загрязнений, образующихся в процессе санитарно-гигиенических процедур, хозяйственной и производственной деятельности человека, а также для отведения атмосферных и талых вод.

При наличии водоснабжения устраивают сплавные системы - загрязнения удаляют водой. В неканализованных районах без водопровода для жилых зданий и общежитий высотой один-два этажа при числе проживающих не более 50 чел., детских оздоровительных лагерей, сельских клубов и т.д. допускается устраивать местную вывозную систему с использованием люфтклозетов или выгребов.

По назначению системы водоотведения разделяются на:

·  бытовые,

·  производственные,

·  внутренние водостоки.

Бытовая система отводит загрязненную воду после мытья посуды и продуктов, стирки белья, санитарно-гигиенических процедур (умывания, принятия ванны и т.д.).

Производственная система удаляет за пределы здания жидкость, использованную в технологических процессах, и содержащую отходы, которые в дальнейшем не могут быть применены в производстве.

Внутренние водостоки (дождевая канализация) отводит с кровли здания дождевые и талые воды.

Твердые отходы (мусор) удаляют мусоропроводами, которые также можно отнести к системам канализации - канализование твердых отходов.

В местах присоединения выпусков к наружной канализационной сети предусматривают смотровые колодцы следующих внутренних диаметров: для труб диаметром до 200 мм при глубине их заложения до 2 м - 700 мм; для труб диаметром более 200 мм при глубине их заложения более 2 м - 1000 мм.

Минимальная глубина заложения выпуска (у здания) определяется на основании опыта эксплуатации канализационных сетей в данной местности, но не менее 0,7 м от верха трубы. Допускается принимать заложение труб менее наибольшей глубины промерзания грунта в данном районе на 0,3 м при диаметре труб до 500 мм и на 0,5 м при диаметре их более 500 мм.

Длина выпуска Lвып от стояка или прочистки до оси смотрового колодца назначается в зависимости от диаметра труб DTp:

Dтр, мм 50; 100 и более

Lвып, м 6; 8

Выпуски следует присоединять к наружной сети «шелыга в шелыгу» под углом не менее 90° (по направлению движения сточных вод). При большем заглублении трубопроводов наружной сети канализации на выпусках можно устраивать перепады (перепадные колодцы) следующих видов:

открытые в виде бетонных водосливов - лотков, входящих с плавным поворотом в колодец наружной сети канализации (при высоте перепада 0,35 м);

закрытые с применением канализационных чугунных труб (при высоте перепада 0,35-2 м).

При перепаде высотой более 0,3 м допускается присоединение выпуска к наружной сети под любым углом.

Для прокладки выпуска в фундаменте здания или в стене подвала устраивают проемы высотой не менее 0,4 м. Расстояние от верха трубы до верха проема должно быть не менее 0,15 м. После укладки труб проемы в фундаменте необходимо заделывать мятой глиной со щебнем.

При расположении уровня подземных вод выше выпуска в стене подвала следует закладывать стальную или чугунную гильзу с сальниковой набивкой.

Проход выпусков через наружные стены здания рекомендуется осуществлять пологими отводами под углом, близким к прямому.

В местах пересечения фундаментов здания с выпуском необходимо предусматривать отверстия в фундаменте следующих размеров:

Диаметр труб выпуска, мм . . . . . . 50-100; 125-150

Размер отверстий в фундаменте, мм ……………… 300 х 300; 400 х 400

При прокладке канализационных выпусков и отводных линий ниже подошвы сборных фундаментов следует устраивать футляры из бетонных или железобетонных труб (рис. 4.1,а), либо предусматривать местное заглубление фундаментов не менее чем на 0,1 м ниже основания трубы (рис. 4.1,б). В жилых домах, а также в общественных зданиях с подвалами сборные фундаменты, как правило, закладывают на 0,3-0,5 м ниже отметки пола подвала.

В домах без подвалов сборные фундаменты во многих случаях имеют небольшое заглубление, поэтому выпуски и отводные линии, прокладываемые параллельно фундаментам, следует отдалять от них с учетом угла естественного откоса грунта.

Рис. 4.1. Пересечение вводов и выпусков с фундаментами из сборного железобетона: 1-футляр; 2-бетон; 3 - бетонные блоки (расстояние уточняется по месту)

Диаметр выпуска должен быть не менее наибольшего диаметра стояка, присоединяемого к данному выпуску. При устройстве общего выпуска от нескольких стояков диаметр выпуска определяется расчетом. При наличии под жилыми домами технических подпольев высотой не менее 1,6 м и несложной трассировке внешней канализационной сети устраивают укрупненные, обычно торцовые, выпуски.

Устройство укрупненных выпусков целесообразно в тех случаях, когда достигается сокращение длины внешней сети, и не допускается тогда, когда наружная канализационная сеть проходит вдоль здания, а также в домах, имеющих эксплуатируемые подвалы (хозяйственные сараи, складские помещения магазинов, столовых, аптек и т. п.). При наличии в доме более пяти жилых секций или при длине дома более 90- 100 м необходимо устраивать два выпуска.

На магистральной сети необходимо устанавливать ревизии. К магистральному трубопроводу диаметром 100 мм допускается присоединять не более 30 квартир при уклоне 0,025 и более. При большем числе квартир диаметр трубопровода должен быть 150 мм и минимальный уклон 0,01.

Выпуск присоединяют к коллектору большого диаметра таким образом, чтобы лоток присоединяемой трубы был расположен на уровне не ниже средней трети диаметра коллектора и не ниже расчетной поверхности сточной воды в коллекторе. При присоединении лотков канализации сточных вод, выделяющих газы и неприятные запахи, устраивают гидрозатворы.

Система водоотведения (рис. 4.2) состоит из следующих элементов: приемников сточных вод 1, гидрозатворов 2, внутренней водоотводящей сети 3, местных установок для очистки и перекачки сточных вод 4, выпусков 5.

Приемники сточных вод принимают загрязненную воду и отводят ее в водоотводящую сеть.

Гидравлические затворы предотвращают попадание вредных газов из водоотводящей сети в помещение.

Внутренняя водоотводящая сеть собирает и отводит сточные воды от приемников в дворовую канализационную сеть.

Местные установки для перекачки сточных вод предусматриваются на сети в том случае, если наружная сеть расположена выше дворовой сети.

На установках для очистки сточных вод производится предварительная очистка наиболее загрязненных стоков и удаляются вещества, которые могут нарушить нормальную работу наружной водоотводящей сети или очистных сооружений.


Выбор системы водоотведения отдельных зданий, а также ее схемы (число и взаимное расположение отдельных элементов системы) определяется назначением здания, видом технологического процесса, установленным оборудованием, глубиной расположения наружной водоотводящей сети, качественным составом сточных вод.

В жилых и общественных зданиях предусматривается хозяйственно-бытовая и ливневая (водостоки) система водоотведения. Охлаждающая вода от установок кондиционирования воздуха, не содержащая твердых и растворенных загрязнений, относится к условно-чистым стокам и сбрасывается в систему водостоков или бытовую водоотводящую сеть.

Схемы системы водоотведения жилых зданий обычно состоят из следующих основных элементов: приемников сточных вод (санитарных приборов), гидрозатворов, внутренней и дворовой водоотводящей сетей.

В производственных зданиях проектируются раздельная бытовая и производственная системы водоотведения и водостоки. Для отвода сточных вод, различающихся по составу, агрессивности, температуре или другим показателям, с учетом которых смешение этих вод недопустимо или нецелесообразно, предусматривается несколько производственных систем водоотведения, транспортирующих эти стоки раздельно. При проектировании систем необходимо рассмотреть возможность извлечения и использования ценных веществ, содержащихся в сточных водах, повторного использования очищенных сточных вод в производственном (оборотном) водоснабжении. Для этого в системах предусматривают местные установки для очистки и перекачки стоков.

С целью уменьшения строительных и эксплуатационных затрат желательно совместное отведение производственных и бытовых стоков объединенной системой. Это возможно в следующих случаях: если производственные сточные воды имеют температуру ниже 40°С; содержат менее 500 мг/л взвешенных и всплывающих частиц; не оказывают разрушающего воздействия на материал труб и элементы сооружений канализации; не содержат вещества, которые способны засорять трубы, отлагаться на их стенках, препятствовать биологической очистке, образовывать взрывоопасные или токсичные смеси в сетях и сооружениях и т. д. При несоответствии стоков указанным требованиям на производственных системах водоотведения предусматривают установки для очистки, на которых сточные воды подвергаются предварительной обработке, в результате чего снижается содержание загрязнений до допустимого предела.

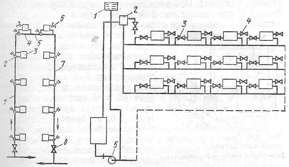
.        Выполните схему насосной системы отопления, поясните её работу и причину присоединения расширительного сосуда с обработкой магистрали

Большое распространение получили однотрубные системы, в которых радиаторы обеими подводами присоединяются к одному стояку. Такие системы проще монтируются и обеспечивают более равномерный прогрев всех нагревательных приборов. Чаще применяют однотрубные системы с нижней разводкой и вертикальными стояками (рис. 5.1).

Стояк такой системы состоит из подъемной 1 и опускной частей. Трехходовые краны 2 могут пропускать расчетное количество или часть воды в приборы 3; в последнем случае стальное ее количество проходит, минуя прибор, через замыкающие участки 4. Соединение подъемной и опускной частей стояка осуществляется посредством соединительной трубы 5, прокладываемой под окнами верхнего этажа. В верхних пробках приборов, находящихся на верхнем этаже, устанавливают воздушные краны 6, через которые слесарь удаляет из системы воздух во время ее пуска или обильной подпитки водой.

В однотрубных системах вода последовательно проходит через все приборы и поэтому они должны быть тщательно отрегулированы. В случае необходимости регулировку теплоотдачи отдельных приборов осуществляют с помощью трехходовых кранов 2, а расход воды по отдельным стоякам - проходными (пробочными) кранами 8 или установкой в них дросселирующих шайб. Если в стояк будет поступать чрезмерно большое количество воды, то первые по ходу движения воды нагревательные приборы отдадут теплоты больше, чем это необходимо по расчету.

На рис. 5.2 показана однотрубная насосная система с попутным движением воды, нижней разводкой магистралей и горизонтальными стояками отопления, применяемая в административных, общественных и промышленных зданиях.

Рис. 5.2. Схема однотрубной системы водяного отопления с насосным побуждением, верхней разводкой, горизонтальными стояками и попутным движением воды в магистралях: 1 - расширительный сосуд; 2 - воздухосборник; 3 - кран двойной регулировки; 4 - кран для выпуска воздуха; 5 - центробежный насос

Ее преимущество - низкая стоимость и малый расход труб. Удаление воздуха, попадающего в приборы, производится через краны для выпуска воздуха 4.

Как известно, циркуляция воды в системе помимо давления, создаваемого насосом и естественным побуждением, происходит и от дополнительного давления ∆р, возникающего в результате охлаждения воды при движении по трубопроводам системы. Наличие этого давления позволило создать системы квартирного водяного отопления, котел которого не заглублен, а его устанавливают обычно на полу кухни. В таких случаях расстояние h=О, и, следовательно, система работает только за счет дополнительного давления, возникающего в результате охлаждения воды в трубопроводах. Расчет таких систем отличается от расчетов систем отопления зданий.

Системы квартирного водяного отопления в настоящее время широко применяют взамен печного отопления в одно- и двухэтажных зданиях в газифицируемых городах: в таких случаях вместо котлов устанавливают газовые автоматические водонагреватели (АВГ), обеспечивающие не только отопление, но и горячее водоснабжение.

вентиляция канализация отопление

Список использованной литературы:

1.   Вентиляция промышленных и общественных зданий с использованием оборудования HOVAL. - Журнал «Кондиционирование. Вентиляция воздуха», №5, 2001.

2.      Внутренние санитарно-технические устройства. В 60 В 3 ч. Ч. 2. Водопровод и канализация /Ю. Н. Саргин, Л. И. Друскин, И. Б. Покровская и др.; Под ред. И. Г. Староверова и Ю. И. Шиллера-4-е изд., перераб. и доп.-М.: Стройиздат, 1990.-247 с: ил-(Справочник проектировщика).

.        Богуславский Л.Д., Малина В.С. Санитарно-технические устройства зданий: Учеб. Для учащихся жилищно-комунальных и строит. техникумов. 5-е изд., перераб. и доп.-М.: Высш. шк., 1988.-255 с.: ил.

.        Житнев Б.Н. . Санитарно-техническое оборудование зданий: Учеб. пособие/ Б.Н. Житнев, Г.А. Волкова, Н.Ю. Сторожук.-Минск: Высш. шк., 2008-191с.: ил.