• вентиляционный узел, предназначенный для вытяжной вентиляции мусоросборной камеры и ствола;
• очистное моюще-дезинфицирующее устройство, предназначенное для периодической очистки, промывки и дезинфекции внутренней поверхности ствола, а также автоматического тушения возможного возгорания ТБО внутри ствола.
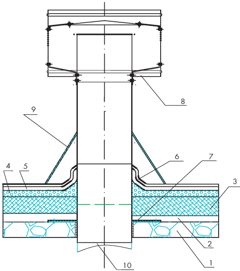
Рис. 3.1. Схема вентиляционного узла мусоропровода: 1) плита перекрытия;
2) пароизоляция; 3) теплоизоляция; 4) выравнивающая стяжка с бортиком из
цементно-песчаного раствора; 5) основной водоизоляционный слой; 6)
дополнительные слои водоизоляционного кровельного материала; 7) гильза; 8)
дефлектор; 9) фартук; 10) труба вентиляционная
В нижней части здания располагается помещение для временного хранения ТБО в контейнерах - мусоросборная камера. Рассмотрим подробно особенности конструкции указанных элементов.твол мусоропровода выполняется открытым с облицовкой либо без нее, а также может быть размещен в стене. При этом ствол должен иметь звуковую и огнетеплозащитную изоляцию, обеспечивающую нормативный уровень шума и пожарной безопасности в жилых или служебных помещениях здания.
На рассматриваемых объектах стволы мусоропроводов выполнены из
нержавеющей стали и проварены сплошным сварочным швом. Толщина металла
составляет 1,5 мм. Внутренняя поверхность ствола в этом случае достаточно
гладкая, не гигроскопичная, не имеет уступов на стыках элементов ствола, что
предотвращает адгезию и загрязнение указанной поверхности.
Рис.3.2. Ствол мусоропровода со сварным швом и болтовым соединением
секций
Стволы мусоропроводов, выполненные из нержавеющей стали, отвечают всем
требованиям противопожарной безопасности и санитарно-гигиеническим требованиям,
и, кроме того, обладают рядом дополнительных технологических преимуществ в
части удобства монтажа. Конструкция обеспечивает высокую герметичность стыков
элементов ствола, а высокая точность изготовления комплектующих обеспечивает
вертикальность ствола (отклонения в пределах одного этажа до 5 мм, на всю
высоту ствола не более 45 мм). У мусоропровода из нержавеющей стали более
высокая стоимость по сравнению с мусоропроводами из асбоцемента, однако и срок
службы гораздо выше, при этом с санитарногигиенической точки зрения нержавеющая
сталь для мусоропровода является одним из наилучших материалов.
Рис.3.3. Загрузочный клапан из углеродистой стали с покраской порошковыми
эмалями и с резиновым магнитным уплотнителем ковша
Как правило, секции мусоропровода соединяются между собой хомутовыми соединениями. В данном случае от хомутовых соединений было решено отказаться, и секции соединялись на силиконовом герметике болтовыми соединениями особой конструкции. Это соединение отличается очень высокой механической прочностью и обеспечивает целостность ствола при любых механических воздействиях (например, в случае возможной усадки здания), что было подтверждено опытом эксплуатации. Кроме того, болтовое соединение обеспечивает соосность и позволяет сохранить малые отклонения от вертикали по всей высоте ствола мусоропровода.
Масса 1 погонного метра ствола, выполненного из нержавеющей стали толщиной 1,5 мм, составляет 23 кг (с учетом массы загрузочного патрубка), и, таким образом, общая масса ствола мусоропровода длиной 130 м составляет около 3 т. Во избежание чрезмерной нагрузки на перекрытие первого этажа по всей длине ствола через каждые два этажа устанавливаются опорно-разгрузочные хомуты, которые обжимают ствол мусоропровода и распределяют часть нагрузки на перекрытие данного этажа. Нижняя часть ствола мусоропровода устанавливается на опору с амортизационной прокладкой с резиновым демпфирующим элементом.
Ствол мусоропровода обкладывается кирпичом или блоками из легкого бетона, а пространство между стволом и обкладкой заполняется, как правило, керамзитобетонной смесью (для стволов с толщиной стенки от 0,8 до 1 мм). На рассматриваемых объектах, однако, вместо керамзитобетонной смеси используется сухой керамзитовый гравий, поскольку его применение обеспечивает лучшую защиту от шума.
Загрузочные клапаны обеспечивают прием, калибровку ТБО и беспрепятственное их сбрасывание в ствол мусоропровода. Загрузочные патрубки и клапаны также выполнены из нержавеющей стали и проварены сплошными швами, либо из углеродистой стали с покраской порошковыми эмалями. Ковшы загрузочных клапанов мусоропровода устанавливаются на резиновых магнитных уплотнителях (подобные уплотнители применяются, в частности, в бытовых холодильниках). Комплекс данных мероприятий позволяет обеспечить очень высокую герметичность мусоропроводов и предупредить распространение неприятных запахов по жилым этажам. Кроме того, ковш загрузочного клапана имеет запорное устройство, в закрытом положении обеспечивающее безопасное выполнение операций по промывке ствола, а также ремонтнопрофилактических работ в мусоросборной камере.
Рис.3.4.
Схема мусоропровода: 1) вентиляционный узел; 2) очистное моюще-дезинфицирующее устройство; 3) загрузочный клапан; 4) хомут опорно-разгрузочный; 5) ствол; 6) опора ствола; 7) патрубок шибера; 8) шибер
усоропроводы высотных (более 75 м) зданий выполняются по индивидуальным проектам с учетом требований указанного СП. В частности, мусоропроводы высотных зданий могут иметь раздельные (по высоте) зоны обслуживания, нижняя из которых обслуживается одним мусоропроводом, верхняя - вторым, проходящим через нижнюю зону транзитом.
Для снижения гравитационной скорости падения ТБО на промежуточных технических этажах зданий могут предусматриваться гасители - специальные устройства, предназначенные для снижения гравитационной скорости падения компонентов ТБО в стволе мусоропровода. Конструкция гасителей не должна препятствовать как сбросу отходов, так и работе очистного устройства.
Существующие конструкции гасителей представляют собой, как правило, круглую заслонку с противовесом, перекрывающую ствол мусоропровода на уровне половины длины ствола. Когда на эту заслонку попадают ТБО, заслонка под действием массы мусора опускается, в результате чего мусор попадает в мусоросборную камеру. Здесь возникает следующая проблема: если, например, с предыдущего этажа выбросили небольшое количество мусора (особенно легкого бумажного), его массы может быть недостаточно для открывания заслонки. Мусор накапливается на заслонке, что может в итоге привести к возникновению засоров в этом месте. В связи с этим обстоятельством при проектировании систем мусороудаления рассматриваемых объектов было принято решение отказаться от использования каких-либо гасителей в стволах мусоропроводов.
Здесь надо отметить, что гасители в стволах мусоропроводов устанавливаются из тех соображений, что мусор, падающий с большой высоты (от 100 м), в нижней части ствола удаляется о патрубок шибера, что может привести к пробою, отрыву шибера и т. д. Проведенные расчеты показали, что запас прочности патрубка при использовании в качестве материала патрубка стального листа толщиной 5 мм вполне достаточен для предупреждения повреждения частей мусоропровода при падении любого бытового мусора. В связи с этим обстоятельством на рассматриваемых объектах никакие гасители не применяются. Правильность выбора данного проектного решения подтверждена уже достаточно длительным опытом эксплуатации объектов.
Рис.3.5. Загрузочный клапан из нержавеющей стали
В высотном здании «Триумф-Палас» смонтировано 14 мусоропроводов. Два
мусоропровода смонтированы в высотной секции. Один мусоропровод обслуживает
этажи с 1 по 26, а второй - с 27 по 37. В настоящее время это самый высокий
мусоропровод в Москве. Тем не менее и в этом случае было принято решение об
отказе от использования каких-либо гасителей. Для предупреждения повреждений
нижней части мусоропровода проектом было предусмотрено использование усиленного
патрубка на амортизационной резиновой прокладке. Опора ствола, на которую
устанавливается нижняя ее оконечность с направляющим патрубком и шибером, выполнена
таким образом, что позволяет гасить ударные нагрузки на ствол и не передавать
их на конструкции здания, а также обеспечивать звуковую изоляцию.
Рис. 3.6. Направляющий патрубок с шибером
Рис.3.7. Узел автоматического закрывания крышки шибера
Усиленная конструкция направляющего патрубка и опоры ствола позволяет
выдерживать большие удары без нарушения целостности конструктивных элементов
системы мусороудаления. Например, стенки мусоропровода запроектированы с
двухкратным, а патрубок - с восьмикратным запасом прочности. При этих условиях
нет необходимости устанавливать какие-либо гасители, из-за которых возникает
риск засора в стволе мусоропровода.

Рис.3.8. Устройство очистки, промывки и дезинфекции внутренней
поверхности ствола мусоропровода
В нижней части направляющего патрубка установлен шибер, а который в
рабочем положении постоянно открыт. При проведении в мусоросборной камере
каких-либо работ в целях безопасности для защиты от сброшенного в этот момент
мусора шибер закрывается вручную. Кроме того, шибер выполняет функцию
противопожарного клапана, обеспечивающего автоматическое перекрытие ствола
мусоропровода от мусоросборной камеры в случае возникновения в ней пожара. В
общем случае противопожарный клапан может быть встроенным в шибер, отдельной
конструкцией либо совмещенной для выполнения функций шибера и противопожарного
клапана. На рассматриваемых объектах применяется последний вариант -
совмещенная конструкция. Для этого шибер обеспечен механизмом на основе
термозамка, позволяющим автоматически перекрывать разгрузочное отверстие при
достижении в мусоросборной камере температуры 72 °С.
Рис. 3.9. Схема очистного моюще-дезинфицирующего устройства: 1) корпус;
2) электропривод; 3) шланг; 4) моющая головка; 5) устройство подачи воды; 6)
емкость для дезраствора; 7) опорный ролик; 8) панель управления; 9) барабан;
10) ствол мусоропровода; 11) перекрытие; 12) спринклер; 13) дверь очистного
устройства; 14) болт заземления; 15) анкерный болт
Согласно требованиям нормативных документов, мусоропроводы жилых зданий должны оснащаться устройствами для периодической очистки, промывки и дезинфекции внутренней поверхности ствола (очистное устройство). Кроме периодической очистки, промывки и дезинфекции внутренней поверхности ствола мусоропровода, очистное устройство выполняет функцию устройства автоматического тушения возможного возгорания ТБО внутри ствола. Как правило, в современных зданиях используются устройства мойки и очистки в виде простой щетки с кольцевым душем, которое опускается по стволу мусоропровода посредством лебедки. Устройства такого типа не позволяют произвести эффективную очистку внутренней поверхности, поэтому на рассматриваемых объектах для очистки ствола мусоропровода применено устройство очистки, промывки и дезинфекции (используется также термин «устройство очистное моюще-дезинфицирующее», УОМД) оригинальной конструкции, защищенной авторским свидетельством.
Применяемое на рассматриваемых объектах устройство предназначено для периодической очистки, промывки и дезинфекции внутренней поверхности ствола, а также автоматического тушения возможного возгорания бытовых отходов внутри ствола мусоропровода. Это устройство имеет принципиальное конструктивное отличие от существующих в настоящее время устройств механической очистки - вместо щетки традиционной конструкции для очистки внутренней поверхности ствола
мусоропровода используется моечный узел на основе водораспыляющей головки
высокого давления. Моечный узел присоединен к шлангу, который опускается в
ствол мусоропровода по всей высоте, разматываясь с барабана лебедки. При
достижении верхнего и нижнего положения происходит автоматическое отключение
привода моечного узла. При перегрузке электродвигателя также происходит такое
автоматическое отключение привода.
Рис.3.10. Схема шибера с автоматикой огнеотсечения: 1) корпус шибера; 2)
узел автоматического закрывания крышки шибера; 3) крышка шибера; 4) ручка
крышки шибера; 5) ловитель крышки шибера; 6) упор
Рис. 3.11. Насосная станция
Привод моечного узла, устройство для подачи воды, емкость для моюще-дезинфицирующего раствора и узел управления располагаются на верхнем техническом этаже здания. Смешивание и приготовление моюще-дезинфицирующего раствора с водой до требуемой концентрации производится заранее в отдельной емкости, согласно инструкции к каждому дезинфицирующему препарату, и заливается в специальный бак, из которого посредством насосной станции забирается раствор и подается на стенки мусоропровода через распылительную головку. Подача воды и моюще-дезинфицирующего раствора под высоким давлением в шланг и на внутреннюю поверхность ствола через распыляющую головку осуществляется посредством насосной станции. В состав данной насосной станции входит насос высокого давления, обеспечивающий распыление воды и моюще-дезинфицирующего раствора на стенки мусоропровода под давлением от 70 до 200 атм. (выбор рабочего давления зависит от высоты здания). При подаче давления в шланг водораспыляющая головка раскручивается вокруг своей оси, обеспечивая круговое распыление, что обеспечивает чистку, мойку и дезинфекцию ствола без использования механической чистки щетками традиционной конструкции. Существующие устройства автоматического смешивания не могут смешивать воду и дезинфицирующий состав в нужной пропорции, поскольку это доли миллилитра, и дозирующие устройства просто не имеют таких настроек.
Защита от попадания дезинфицирующего раствора в систему водоснабжения в
случае аварийного отключения воды в доме во время процесса санитарной обработки
обеспечивается за счет того, что подача моюще-дезинфицирующего раствора
производится из отдельной емкости, содержащей рабочий раствор в объеме на один
ствол, изолированной от магистрального водопровода. Утечка
моюще-дезинфицирующего раствора и воды через совокупную поверхность одного
стыка патрубка ствола или ствола и клапана не допускается, что обеспечивается
высокой герметичностью указанных стыков. Перекрытие вентиляционного канала при
санобработке осуществляется посредством специальной заслонки.
Рис. 3.12. Дефлектор вентиляционного узла
Очистка ствола мусоропровода проводится в три этапа. Первоначально осуществляется обычная водяная очистка (промывка) ствола. Затем на внутреннюю поверхность ствола наносится моюще-дезинфицирующий раствор, этот раствор выдерживается на стенках в течение 1-3 ч. Затем удаление раствора и окончательная очистка ствола производится также посредством обычной промывки.
Подобную очистку рекомендуется производить 1-2 раза в месяц, хотя, по усмотрению службы эксплуатации, частота очистки может быть увеличена.
Вентиляционный узел (верхняя часть мусоропровода) является составной частью системы вентиляции СУБО и предназначен для вентиляции мусоросборной камеры и ствола.
Рис. 3.13. Привод моечного узла и барабан
В состав вентиляционного узла входят:
• дефлектор с расчетным выходным отверстием, проходное сечение которого берется в зависимости от высоты здания (см. ниже);
• гильза, как элемент уплотнения прохода вентиляционного канала через крышу;
• фартук, обеспечивающий защиту стыков между гильзой и кровлей от попадания атмосферных осадков.
При проектировании мусоропроводов высотных зданий следует иметь в виду, что в стволе мусоропровода с большой протяженностью по высоте под действием гравитационных сил могут возникать сильные восходящие воздушные потоки, которые могут привести к нарушениям нормальной работы системы мусороудаления. Для предупреждения такого явления скорость воздушного потока ограничивается до уровня 2,2 м/с. Для этой цели в верхней части мусоропровода, в вентиляционном узле, устанавливается диафрагма в форме пластины с отверстием. Края отверстия скошены. Диаметр отверстия (диаметр проходного сечения диафрагмы) рассчитывается в зависимости от высоты ствола мусоропровода. Данные расчеты были выполнены специалистами Российского государственного технологического университета им. К. Э. Циолковского (МАТИ им. К. Э. Циолковского).
Кроме того, сильные восходящие воздушные потоки в стволе мусоропровода могут возникнуть в случае, если мусоропровод разгерметизируется при открывании загрузочных клапанов одновременно на одном из верхних и на одном из нижних этажей. В этом случае возможен даже вылет мусора из ковша мусоропровода на верхнем этаже. Для предупреждения этого явления конструкция загрузочного клапана выполняется таким образом, чтобы обеспечить герметичность ствола не только в закрытом, но и в открытом положении клапана.