Материал: Характеристика приборов и методов измерения расходов воды

Внимание! Если размещение файла нарушает Ваши авторские права, то обязательно сообщите нам

Характеристика приборов и методов измерения расходов воды

ВВЕДЕНИЕ

Расход воды - основная гидрологическая характеристика реки, которая необходима при проектировании любого гидротехнического сооружения на реке: гидроэлектрической станции - для расчета ее мощности; оросительной системы - чтобы знать возможную площадь орошаемых земель; речного водопровода - чтобы знать, сколько можно брать воды из реки, и т. д.

Расход небольших водотоков (ручья, источника, ключа) можно измерить непосредственно, так называемым объемным способом. Для этого необходимо водоток перекрыть небольшой запрудой, вывести из нее желоб, по которому вода водотока свободно стекала бы в сосуд с известным объемом, и измерить по секундной стрелке, за сколько секунд сосуд наполнится водой, вытекающей из желоба.

Объемный способ измерения расхода воды предложил древнегреческий философ Герон Александрийский около 100 г. н. э.

Первое измерение расхода воды Амазонки заняло трое суток, в нем участвовали военные корабли бразильского флота и, не считая бразильских специалистов, работали четыре инженера-гидролога гидрологической службы США. Расход Амазонки был измерен впервые в 1963 г., лишь через 463 года после открытия ее В. Пинсоном. Измерялся расход не в устье, где ширина реки достигает многих километров и определить его почти невозможно, а на суженном участке русла около города Обидус, в нижнем течении (площадь бассейна около 5 млн. км2). Здесь ширина Амазонки составляет "всего" 2,3 км, средняя глубина около 45 м (максимальная превышает 60 м). Средний расход воды у этого города оказался равным 170 тыс. м3/с, а отнесенный к устью реки - 220 тыс. м3/с Это примерно в 2 раза больше, чем считали до 1963 г., по ориентировочным измерениям поплавками.

Расход воды крупнейшей реки Европы - Волги был впервые определен в августе 1700 г. английским инженером Джоном Перри, приглашенным Петром I на работу в Россию. Скорость течения измерялась поплавками. Перри получил величину расхода, близкую к действительной (средней за август),- 6360 м3/с.

На территории Европы измерения расхода воды крупнейших рек были начаты в 1800-1810 гг., в Северной Америке, Азии и Австралии - в середине 19 в., в Африке и Южной Америке - только в первой четверти 20 в.

Цель курсовой работы - рассмотреть характеристики приборов и методов измерения расходов воды. Для этого в курсовой работе решим следующие задачи:

-        рассмотри характеристику приборов, используемых для измерения расходов воды;

         изучим характеристики основных методов измерения расходов воды.

Курсовая работа состоит из введения, двух глав, заключения и списка используемой литературы.

ГЛАВА 1. ХАРАКТЕРИСТИКА ПРИБОРОВ, ИСПОЛЬЗУЕМЫХ ДЛЯ ИЗМЕРЕНИЯ РАСХОДОВ ВОДЫ

вода гидрометрический вертушка полевой

1.1 Приборы для измерение расхода открытых потоков

Для измерения расхода воды в открытых каналах и потоках применяются гидрометрические щиты, каналы Вентури, измерительные водосливы, гидрометрические вертушки и другие устройства и способы измерения.

Необходимость измерения расхода открытых потоков возникает при испытаниях гидротурбин и мощных насосов, при определении дебита рек и оросительных сооружений и т. д. Во всех этих случаях мы имеем дело с громадными расходами воды[6].

Для некоторых случаев водоснабжения открытыми каналами, а также при испытаниях гидротурбин и контроле за их работой получил распространение способ измерения расхода воды с помощью гидрометрического щита. Этот способ легко осуществи и дает хорошие результаты, если при производстве строительных работ предусматривается выделение специального измерительного участка канала с гладкими стенками и дном и специальных приспособлений для крепления и продвижения щита. Заключается этот способ измерения в следующем (рисунок 1.1, Гидрометрический щит).

Рис. 1.1 Гидрометрический щит

Легкая перегородка, выполненная по профилю канала, укрепляете вертикально на каретках, могущих перемещаться по направляющим. В исходном положении перегородка поднята и закреплен замком в поднятом положении. Перед началом измерения пер городка опускается в поток и под действием напора воды перемещается со скоростью потока по течению.

На контрольном участке АВ длиной L фиксируется секундомером за это время перегородка опишет объем, равный произведению площади сечения потока F на длину контрольного участка[11].

Надежные значения коэффициента а имеют водосливы с вертикальным порогом с острой верхней кромкой при правильном (без падения вдоль стенки порога) истечении через водослив. Это может быть обеспечено подводом воздуха под падающую струю.

Кроме прямоугольной, порог может иметь также трапецеидальную и треугольную формы.

Для правильного определения расхода с помощью измерительных водосливов должны быть выдержаны определенные требования. Основными являются следующие:

) Перед подходом потока к водосливу и при истечении через водослив должна быть обеспечена равномерность потока.

) В конце контрольного участка щит удерживается упором, а нижняя часть перегородки освобождается и удерживается потоком в наклонном положении.

Другим способом измерения расхода открытых потоков является способ измерения при помощи измерительных водосливов. Это способ находит применение при сооружении плотин и других аналогичных гидросооружений.

Устройство водослива показано на рисунке 1.2

Рис.1.2 Устройство водослива

Выполняется прямой канал перед водосливом с гладкими дном и стенками, которые должны быть вертикальными и параллельными как перед водосливом, так и за ним[8].

) Устойчивость потока, падающего с порога, достигается, как говорилось выше, подводом воздуха под падающую струю. Хороший доступ воздуха под струю возможен при условии, если порог водослива расположен достаточно высоко над уровнем воды за водосливом.

) Порог водослива со стороны подхода воды должен иметь гладкую поверхность и достаточно острую и прямоугольную кромку, которая, кроме этого, должна быть горизонтальна и прямолинейна.

Рисунок 1.3

В отдельных случаях для измерения расхода открытых потоков применяется (рисунок 1.3), который по принципу действия подобен соплу или трубе Вентури с той лишь разницей, что сечение потока в измерительной части канала изменяется с изменением расхода, в то время как сечение потока в закрытом трубопроводе остается постоянным независимо от расхода[6].

Так же как и для случая сужающих устройств, при совместном решении уравнений Бернулли и неразрывности струи может быть получена зависимость между расходом и перепадом давлений в сечениях.

Нужно заметить, что потеря давления в канале Вентури меньше, чем на измерительных водосливах, поэтому канал Вентури может быть использован более широко. Кроме того, через канал Вентури поток проходит всем сечением, что позволяет измерять о ход загрязненной воды.

Рассмотренные способы измерения расхода требуют специальных, порой дорогостоящих сооружений, что не всегда возможно, особенно при больших сечениях каналов и рек. В этом случае широко применяется способ измерения расхода по средней скорости потока в определенном сечении. Для этой цели широко применяются гидрометрические вертушки (рисунок 1.4).

Рис.1.4 Гидрометрические вертушки

При погружении в поток воды вертушка вращается со скоростью, пропорциональной скорости потока в месте измерения.

1.2 Судовой автоматизированный комплекс «Створ»

Предназначен для оперативного определения расхода воды средних и больших рек. Принцип его работы заключается в определении расхода воды по скорости течения, измеренной в поверхностном слое воды во время движения судна по гидроствору, углу между направлением вектора скорости и линией створа и глубине русла. Обработка результатов измерения и вычисление расхода воды с учетом коэффициента перехода от поверхностной к средней скорости течения осуществляется автоматически в процессе движения судна. Значения расхода (м3/с) регистрируются на цифровом табло.

Комплекс «Створ» можно использовать на маломерных судах (катерах, мотолодках) с немагнитным корпусом. Он состоит из выносной опоры 1 для опускания приборов в поток, гидрофона эхолота 3 для измерения глубины русла, измерителя скорости 4 с гидрофлюгером 2, индукционного датчика 5 для измерения угла между направлением течения и линией створа, аппаратуры, включающей блок регистрации глубин 6, блок вычисления расхода 7 и цифровой индикатор расхода 8, комплекта соединительных кабелей.

Рис. 1.5 Основные узлы комплекса «Створ»

Питание аппаратуры производится от источников постоянного тока напряжением 27 В.

Диапазон измерений глубины 0,5-20 м, скорости 0,5-3,0 м/с; погрешность измерения расхода 5%.

Этот способ отличается высокой степенью автоматизации измерительного процесса, быстротой производства гидрометрических работ, что придает ему особую практическую ценность при резких повышениях и понижениях уровней воды[4].

1.3 Гидрометрические вертушки

Существует много конструктивных разновидностей вертушек. Основным отличительным признаком вертушек является расположение оси вращения лопастей: с горизонтальной или вертикальной осью вращения. Наибольшее применение получили вертушки с горизонтальной осью ГР-21М, ГР-55 и др.

Гидрометрическая вертушка ГР-21М (pис.1.6) состоит из следующих основных частей: корпуса 14, хвостового оперения (стабилизатора) 13, ходовой части с контактным механизмом и лопастным винтом 3, а также сигнального устройства.

Рис.1.6 Устройство гидрометрической вертушки ГР-21М

Корпус 14 служит для сочленения частей вертушки, крепления ее на штанге или вертлюге 10 и для подключения сигнальной цепи. Корпус в передней части имеет полость, в которую вставляется ось собранной ходовой части 5 и крепится в ней стопорным винтом 6. Две клеммы 8 (изолированная) и 9 (соединенная с корпусом) служат для подключения проводов сигнальной цепи. В тыльной части корпуса есть втулка для крепления вертушки на штанге или подвеске-вертлюге (в случае работы с троса) зажимными винтами 11. К тыльной части корпуса винтом 12 крепится стабилизатор 13, служащий для установления оси вертушки по течению. Сбоку втулка имеет фигурную прорезь с указателем для снятия отсчета положения оси вертушки на штанге[10].

Ходовая часть вертушки состоит из неподвижной оси 5 с контактным механизмом (червячная шестерня, контактный штифт, пружина, винт и электропроводный стержень, соединяющий контактную пружину с гнездом штепселя 7), двух радиально-упорных подшипников 2, внутренней распорной втулки 16, наружной втулки 15 и осевой гайки 1. Ходовая часть входит в цилиндрическую полость лопасти 3 и крепится в ней зажимной муфтой 4.

Сигнальное устройство, состоящее из клеммной панели, звонка (лампочки), переключателя и сигнальных проводов, служит для преобразования электрического импульса в звуковой (световой) сигнал. Питание электрической цепи осуществляется от источника постоянного тока напряжением 3 В.

Принцип действия гидрометрических вертушек основан на закономерной связи между скоростью вращения лопастного винта вертушки и скоростью набегающего потока. Вместе с лопастью вращается втулка, которая передает вращение лопасти на червячную шестерню. Контактный механизм вертушки замыкает электрическую сигнальную цепь через каждый полный оборот червячной шестерни, что соответствует 20 оборотам лопасти вертушки. В момент замыкания цепи вспыхивает лампочка или звенит звонок, что дает возможность фиксировать число оборотов лопастного винта вертушки. С помощью секундомера определяют время с начала работы вертушки (сигнал) до каждого последующего сигнала. Подсчитав общее число оборотов лопасти вертушки и разделив их на время ее работы, определяют скорость вращения лопастного винта (число оборотов в секунду).

Для перехода от скорости вращения лопасти вертушки n к скорости течения воды ui используют тарировочную кривую - график зависимости между скоростью течения и числом оборотов лопастного винта в секунду: u = f(n), официальный документ каждой гидрометрической вертушки, прошедшей тарировку в специальном тарировочном бассейне[13].

Вертушка ГР-21М снабжается двумя лопастными винтами: винт № 1 (основной) компонентный, диаметром 120 мм с геометрическим шагом 200 мм, применяется при работе со штанги, при скоростях течения до 2 м/с, и винт № 2 некомпонентный, диаметром 120 мм с геометрическим шагом 500 мм, применяется во время работы с троса при скоростях течения более 2 м/с.

Малые скорости течения не приводят лопастный винт во вращение. Наименьшая скорость u0, при которой силовое воздействие потока на лопастный винт равно величине сопротивлений, а лопастный винт вращается неравномерно, называется начальной скоростью вертушки. Для вертушки ГР-21М начальная скорость составляет 0,04 м/с, а верхняя - 5 м/с.

Гидрометрическая вертушка ГР-55 - малогабаритная, отличается от ГР-21М размерами лопастного винта. Винт № 1 диаметром 70 мм с геометрическим шагом 110 мм применяется при скоростях течения 0,1-2,5 м/с, погрешность измерения при этом не превышает ± 1,5%; винт № 2 диаметром 70 мм с геометрическим шагом 250 мм применяется при скоростях течения 2-5 м/с (погрешность ± 1,5%). При скоростях менее 0,2 м/с погрешность измерения возрастает до 10%.

Микровертушки. К недостаткам описанных выше гидрометрических вертушек можно отнести: винт сравнительно большого диаметра обладает определенной инерционностью, что снижает его чувствительность; наличие червячной передачи и обычных шарикоподшипников увеличивает механические сопротивления вращению винта, что приводит к неустойчивой работе его и к увеличению погрешности измерений при малых скоростях течений.

Ввиду этого в микровертушках применяются винты малых диаметров (4-40 мм), изготовленные из материалов, близких по плотности к воде; для уменьшения сопротивлений они вращаются в агатовых или рубиновых подшипниках; корпуса микровертушек имеют значительно меньшие размеры и массу; в электрической цепи применяется бесконтактная схема[7].

Одной из таких конструкций является гидрометрическая микровертушка цифровая модернизированная ГМЦМ-1, разработанная в ЦНИИКИВР и изготавливаемая НТК «Комплекс» (г. Минск). Она состоит из датчика скорости и блока обработки измерительной информации.

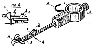
Датчик (рис. 1.7) предназначен для формирования электрических импульсов, частота которых характеризует измеренную скорость потока. Он состоит из лопастного винта 4, держателя его (корпуса) 1, электрода 3, регулировочного винта 2, муфты 7 для крепления на штанге с помощью винта 5. Лопастный винт 4 является первичным преобразователем скорости течения воды в электрической сигнал.

Рис. 1.7 Датчик скорости микровертушки ГМЦМ-1.

При прохождении лопасти винта 4 перед оголенным торцом элетрода 3 изменяется проводимость в электрической цепи «электрод 3 - корпус держателя 1», что приводит к прерыванию тока в цепи. Амплитуда формируемых импульсов зависит от величины зазора между полюсом электрода и торцом лопасти винта. Оптимальная величина зазора 0,2-0,3 мм устанавливается с помощью регулировочного винта 2. Импульсы по кабелю 6 поступают на вход блока обработки измерительной информации (на рис. 1.7 не показан). Последний включает следующие электронные блоки: 1) формирования импульсов; 2) задания коэффициентов градуировочного уравнения лопастного винта (например, u = 0,0391 n + 0,0024); тактового генератора; 4) управления и вычисления; 5) счета и дешифрации; 6) индикации. Результат измерения выводится на табло в численном виде в м/с[11].