Материал: Электротехника (контрольная)

Внимание! Если размещение файла нарушает Ваши авторские права, то обязательно сообщите нам

Задача 3

Три группы сопротивлений соединили звездой с нулевым проводом и включили в трехфазную сеть переменного тока с линейным напряжением Uном. Активные сопротивления в фазах А, В, С соответственно равны RA; RВ; RС; реактивные – ХА; ХВ; ХС;. Характер реактивных сопротивлений (индуктивное или емкостное) указан на схеме цепи. Узел сдвига фаз в каждой фазе равны φА; φВ; φА.. Линейные токи (они же фазные) в нормальном режиме равны IA; IB; IC. Фазы нагрузки потребляют активные мощности РА; РВ; РС и реактивные QA; QB; QC . В таблице вариантов указаны некоторые из этих величин и номер схемы цепи. Для своего варианта начертить схему цепи; определить величины, отмеченные прочерками в таблицах 3,4 и начертить в масштабе векторную диаграмму цепи в аварийном режиме при отключении фазы А. Из векторных диаграмм определить графически токи в нулевом проводе в обоих режимах. При вычислениях принять:

sin = 36º50' =cos 53º10' =0,6; sin 53º10' = cos 36º50' = 0,8.

Номер варианта

Номера схем

UH, B

RA, Ом

RВ, Ом

RС, Ом

ХА, Ом

ХВ, Ом

ХС, Ом

47

20

-

-

нет

нет

нет

-

-

Номер варианта

Номера схем

IA; А

IВ; А

IС; А

РA; Вт

РВ; Вт

РС; Вт

QA, вар

QB, вар

QC, вар

47

20

10

5

-

1270

нет

нет

нет

-

318

Решение.

Рассчитаем фазу А:

Т.к. трёхфазная сеть является четырёхпроводной, то

UФ=UA=UB=UC=127 В

Uном=UЛ=Uф* =127* =220 В

Рассчитаем фазу В:

Рассчитаем фазу С:

Ток в нейтральном проводе можно определить из векторной диаграммы.

На векторной диаграмме под углом 120º друг относительно друга строятся векторы фазных напряжений одинаковой дины в масштабе МU=25 В/см.

Векторы фазных токов строятся в масштабе МI=2,5 А/см под вычисленными углами φ по отношению к фазным напряжениям.

Нагрузка в фазе А носит чисто активный характер, значит, ток IA совпадает с напряжением UA по фазе.

Нагрузка в фазе В носит чисто емкостной характер, значит, ток IB отстаёт от напряжения UВ на угол φВ=-90º.

Нагрузка в фазе С носит чисто индуктивный характер, значит, ток IC опережает напряжение UC на угол φС=90º.

Задача 4

47

№ в-тов

-

Рном

-

S, кВа

0,84

cosφном

0,84

ηном

1,62

Σр, кВт

97,5

Мном, н·м

176

Ммах, н·м

117

Ммах,н·м

-

Ммах/ Мном

-

Мпуск/ Ммах

-

nном, Об/мин

-

F1, Гц

1,0

f2,Гц

-

Sном.%

-

Uном

21

Iном

Трехфазный асинхронный двигатель с короткозамкнутым ротором имеет номинальную мощность Рном и потребляет из сети полную мощность S1 при коэффициенте мощности cos φ2 и КПД ηном. Суммарные потери мощности в двигателе Σр. Двигатель развивает номинальный момент Мном., максимальный Ммах и пусковой Мпуск. Способность двигателя к перегрузке Ммах/ Мном ,кратность пускового момента Мпускмах. Номинальная частота вращения ротора nном; скольжение двигателя при этом Sном. Частота тока в статоре f1, в роторе f2. Номинальное напряжение сети Uном. Определить величины, отмеченные прочерками в таблице 15.

Решение.

  1. Номинальная мощность:

  1. Номинальная частота вращения ротора:

  1. Потребляемый из сети ток:

  1. Способность двигателя к нагрузке:

  1. Кратность пускового момента:

  1. Потребляемая полная мощность:

  1. Частота вращения магнитного поля статора:

  1. Скольжение:

Задача 5

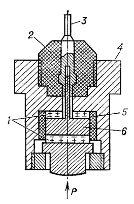
Опишите схему и принцип работы пьезоэлектрического датчика.

Работа пьезоэлектрического датчика основана на прямом пьезоэлектрическом эффекте, а именно на преобразовании механической энергии в электрическую. Пьезоэлектрический эффект возникает из-за связи между электрическими и механическими свойствами материала, обычно – кристаллического.

Когда к пьезоэлектрику прикладывается механическое напряжение, он поляризуется в указанном направлении, и между его гранями появляется электрическая разность потенциалов. Величина механического напряжения, приложенного к кристаллу, прямо связана с величиной его деформации, а, следовательно, и с разностью потенциалов между его гранями. Это позволяет по измеренной величине напряжения узнать величину действующей на пьезокристалл силы.

Сложность, однако, заключается в том, что как источник напряжения пьезокристалл сродни скорее заряженной емкости, чем батарейке. Если пьезоэлектрик деформировать, и оставить его в этом состоянии, то напряжение между обкладками уменьшится из-за оседания на них ионов воздуха и тока, протекшего через систему регистрации. Таким образом, при неизменной деформации пьезоэлектрика напряжение между обкладками будет уменьшаться, пока не достигнет нуля. Поэтому пьезодатчик удобен в использовании только при измерении относительно быстрых деформаций.

К достоинствам пьезоэлектрического датчика надо отнести его дешевизну, простоту как в изготовлении, так и в использовании (для измерений необходим только пьезодатчик и вольтметр, нет необходимости в дополнительных источниках энергии). Еще одним достоинством пьезоэлектрического датчика является то, что измерение воздействий на него со всех сторон может производиться одновременно и в одной точке. Это дает возможность делать гораздо более точные и надежные трех-координатные датчики виброускорений и т.п.

В ряде случаев, необходимо учитывать влияние в таких датчиках обратного пьезоэффекта. Если к пьезодатчику прикладывается электрический потенциал, то поляризация пьезоэлектрика во внешнем электрическом поле порождает изменение его размеров и механическое воздействие на окружение. Таки образом, подача электрического напряжения на пьезодатчик приводит к его расширению либо сжатию, т.е. датчик превращается в простейший вариант двигателя.

Схема устройства пьезоэлектрического датчика давления: p - измеряемое давление; 1 - пьезопластины; 2 - гайка из диэлектрика; 3 - электрический вывод; 4 - корпус (служащий вторым выводом); 5 - изолятор; 6 - металлический электрод

Литература

  1. Свириденко Э.А., Китунович Ф.Г. Основы электротехники и электроснабжения – Минск: «Техноперспектива», 2008.

  2. Данилов И.А., Иванов П.М. Общая электротехника с основами электроники – М.: Высшая школа, 1983.

  3. Евдокимов Р.Е. Общая электротехника– М.: Высшая школа, 1987

  4. Попов В.С., Николаев С.А. Общая электротехника с основами электроники – М.: Энергия, 1977.

  5. Усатенко С.Т., Кочанок Т.К. Выполнение электрических схем по ЕСКД – М.: «Стандарт», 1989.

  6. Мэзон У., Пьезоэлектрические кристаллы и их применение в ультраакустике, пер. с англ. , М., 1952