Таблица 3.2 Определение центра электрических нагрузок предприятия
|
№ |
Наименование цеха |
Рр, кВт |
Х, м |
У, м |
ХiРр |
УiРр |
||
|
1 |
Инструментальный цех |
2102,96 |
246 |
279 |
517328,16 |
586725,84 |
||
|
2 |
Термический цех |
1164,96 |
75 |
279 |
87372 |
325023,84 |
||
|
3 |
Литейный цех |
594,96 |
450 |
279 |
267732 |
165993,84 |
||
|
4 |
Насосная |
4528,04 |
204 |
105 |
923720,16 |
475444,2 |
||
|
5 |
Компрессорная |
511,76 |
492 |
120 |
251785,92 |
61411,2 |
||
|
6 |
Электроцех |
142,59 |
558 |
321 |
79565,22 |
45771,39 |
||
|
7 |
Сборочный цех |
35,32 |
558 |
231 |
19708,56 |
8158,92 |
||
|
8 |
Токарно-механический цех |
2045,12 |
351 |
126 |
717837,12 |
257685,12 |
||
|
9 |
Кузнечный цех |
42,16 |
630 |
279 |
26560,8 |
11762,64 |
||
|
10 |
Ремонтно-механический цех |
22,03 |
99 |
99 |
2180,97 |
2180,97 |
||
|
11 |
Заводоуправление |
2352,97 |
96 |
144 |
225885,12 |
338827,68 |
||
|
12 |
Центральная заводская лаборатория |
171,2 |
690 |
321 |
118128 |
54955,2 |
||
|
Сумма |
|
|||||||
|
Х0, м |
253,85 |
|
||||||
|
Y0, м |
173,97 |
|
||||||
. ВЫБОР СИСТЕМЫ ПИТАНИЯ
4.1 Выбор
трансформаторов на ГПП
В качестве ТП используем комплектные трансформаторные подстанции, которые располагаем в помещениях цехов. Крупные цеха имеют свои ТП, а мелкие получают питание от ТП ближайших крупных цехов через низковольтные РП.
Распределение нагрузок по цехам показано в
таблице
Таблица 4.1 Определение расчетной нагрузки на напряжении 0,4 кВ
|
№ |
Наименование цеха |
Силовая нагрузка |
Осветительная нагрузка |
Суммарная расчетная нагрузка |
|||
|
|
|
Рм, кВт |
Qм, квар |
Рp.o., кВт |
Qp.o., квар |
PмS, кВт |
QмS, квар |
|
1 |
Инструментальный цех |
1600 |
1632,33 |
502,96 |
870,12 |
2102,96 |
2502,45 |
|
2 |
Термический цех |
1050 |
1227,59 |
114,96 |
198,88 |
1164,96 |
1426,47 |
|
3 |
Литейный цех |
480 |
640 |
114,96 |
198,88 |
594,96 |
838,88 |
|
4 |
Насосная |
405 |
413,18 |
123,04 |
212,86 |
528,04 |
626,04 |
|
5 |
Компрессорная |
408 |
416,24 |
103,76 |
179,51 |
511,76 |
595,75 |
|
6 |
Электроцех |
112 |
170,07 |
30,59 |
10,09 |
142,59 |
180,16 |
|
7 |
Сборочный цех |
28 |
37,33 |
7,32 |
2,42 |
35,32 |
39,75 |
|
8 |
Токарно-механический цех |
135 |
101,25 |
20,12 |
6,64 |
155,12 |
107,89 |
|
9 |
Кузнечный цех |
25 |
43,3 |
17,16 |
5,66 |
42,16 |
48,96 |
|
10 |
Ремонтно-механический цех |
20 |
26,67 |
2,03 |
0,67 |
22,03 |
27,34 |
|
11 |
Заводоуправление |
105 |
65,07 |
7,97 |
2,63 |
112,97 |
67,7 |
|
12 |
Центральная заводская лаборатория |
159 |
212 |
12,2 |
4,03 |
171,2 |
216,03 |
Число трансформаторов на цеховых подстанциях определяется в зависимости от категории надежности электроснабжения, удельной плотности нагрузки, числа рабочих смен, размеров цеха и др. Двухтрансформаторные подстанции рекомендуется выбирать:
при преобладании нагрузки 1-й категории;
при наличии электроприемников особой группы;
для сосредоточенной цеховой нагрузки и отдельно стоящих объектов общезаводского назначения (насосные и компрессорные станции, газовое хозяйство и т.п.).
При системе двухтрансформаторных подстанций также необходим складской резерв для быстрого восстановления нормального питания потребителей в случае выхода из работы одного из трансформаторов на длительный срок.
Цеховые подстанции с числом трансформаторов более двух, как правило, экономически нецелесообразны и на новых предприятиях применяются в виде исключения только при надлежащем обосновании, например:
если имеются мощные электроприемники, сосредоточенные в одном месте;
если нельзя рассредоточить подстанции по условиям технологии или окружающей среды, например на текстильных фабриках, на некоторых предприятиях химии и в других аналогичных случаях;
при питании совмещенных территориально цеховых нагрузок различного характера: силовые, электросварочные и другие, которые нельзя питать от общих трансформаторов.
Работа трансформаторов как на цеховых подстанциях, так и на ГПП почти всегда бывает раздельная. Это упрощает релейную защиту и уменьшает токи КЗ в сети вторичного напряжения. Последнее особенно важно для выбора коммутационных аппаратов на напряжении до 1000 В, которые имеют недостаточную коммутационную способность и электродинамическую стойкость при трансформаторах мощностью 1000 кВА и более.
При выборе трансформаторов следует иметь в виду, что в связи с ростом удельных плотностей электрических нагрузок во всех отраслях промышленности повысились наивыгоднейшие мощности цеховых подстанций по сравнению с теми, которые были рекомендованы в начале внедрения принципа разукрупнения цеховых подстанций.
• при плотности нагрузки до 0,2 кВА/м2 целесообразно применять трансформаторы мощностью до 1000 кВА включительно;
• при плотности 0,2-0,3 кВА/м2 и мощности цеха более 3000 Вт - мощностью 1600 кВА;
• при плотности более 0,3 кВА/м2 целесообразность применения трансформаторов мощностью 1600 или 2500 кВА следует определять технико-экономическими расчетами.
По условиям надежности действия защиты от однофазных коротких замыканий в сетях напряжением до 1000 В с глухозаземленной нейтралью следует применять на цеховых ТП трансформаторы со схемой соединения обмоток треугольник-звезда.
Плотность нагрузки по цехам представлена в
таблице 3.3.
Таблица 4.2 Плотность нагрузки по цехам
|
№ |
Наименование цеха |
Силовая нагрузка |
Площадь цеха |
Плотность нагрузки |
||
|
|
|
PмS, кВт |
QмS, квар |
SмS, кВА |
S, м2 |
r, кВА/м2 |
|
1 |
2 |
3 |
4 |
5 |
6 |
7 |
|
1 |
Инструментальный цех |
2102,96 |
2502,45 |
3268,75 |
31500 |
0,1 |
|
2 |
Термический цех |
1164,96 |
1426,47 |
1841,72 |
7200 |
0,26 |
|
3 |
Литейный цех |
594,96 |
838,88 |
1028,44 |
7200 |
0,14 |
|
4 |
Насосная |
528,04 |
626,04 |
818,99 |
10800 |
0,08 |
|
5 |
Компрессорная |
511,76 |
595,75 |
785,38 |
9108 |
0,09 |
|
6 |
Электроцех |
142,59 |
180,16 |
229,76 |
1728 |
0,13 |
|
7 |
Сборочный цех |
35,32 |
39,75 |
53,17 |
1296 |
0,04 |
|
8 |
Токарно-механический цех |
155,12 |
107,89 |
188,95 |
1944 |
0,1 |
|
9 |
Кузнечный цех |
42,16 |
48,96 |
64,61 |
2700 |
0,02 |
|
10 |
Ремонтно-механический цех |
22,03 |
27,34 |
35,11 |
432 |
0,08 |
|
11 |
Заводоуправление |
112,97 |
67,7 |
131,7 |
540 |
0,24 |
|
12 |
Центральная заводская лаборатория |
171,2 |
216,03 |
275,64 |
540 |
0,51 |
В результате анализа мощности, площади и
месторасположения цехов предполагается установка трансформаторов мощностью 250
кВ·А и 400 кВ·А.
.2 Выбор
сечения воздушной линии
Выбор питающих ЛЭП производится по экономической плотности тока.
Определение экономического сечения производится
по формуле
, (6.1)
где Iм - допустимый ток, А;
Jэ -
экономическая плотность тока, принимаемая по таблице 1.3.36 /6/
, (6.2)
где Sм
- суммарная полная мощность с учетом потерь.
, (6.3)
Производится расчет на наряжение110 кВ
кВА
А,
мм2
Принимается провод АС-70/11 с допустимым током Iдоп=265 А, Ro = 0,43 Ом/км
Проверка по допустимому току
, (6.3)
А
Данный провод удовлетворяет условиям короны - сечение провода должно быть не меньше 70 мм2
При строительстве ЛЭП принимается
железобетонные опоры с двусторонним питанием.
4.3 Выбор
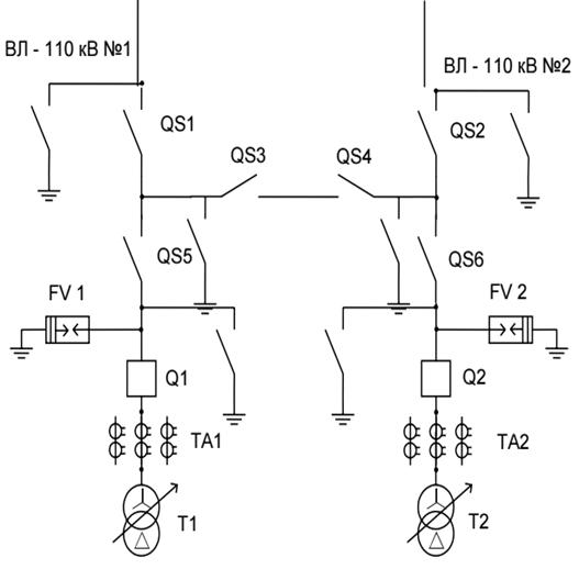
схемы РУ ВН завода
Выбор варианта схемы производится с
учётом местных условий сети и категории электроснабжения потребителей ГПП. Т.
к. на авиационном заводе много потребителей I и II-ой категории
электроснабжения, значит принимаем схему с перемычкой (мостиком). Для
удешевления схемы в перемычке не будем ставить выключатель, а при выходе из
строя ВЛ 110- кВ или трансформатора автоматическое резервирование будем
выполнять по стороне НН.
. ВЫБОР НАПРЯЖЕНИЯ РАСПРЕДЕЛЕНИЯ
ЗАВОДА
Выбор напряжения производится исходя из условия процентного соотношения нагрузки 6 кВ к мощности всего завода. Если мощность электроприёмников на 6 кВ будет составлять менее 10 - 15 %, значит за рациональное напряжение распределения принимается 10 кВ. Если мощность электроприёмников на 6 кВ будет составлять более 40 - 50%, значит за рациональное напряжение распределения без технико - экономического расчёта принимается 6 кВ:
Произведем выбор напряжения
распределения. Доля нагрузки на 6 кВ в общем по заводу составляет
Исходя из полученного процентного
соотношения, принимаем напряжение распределения равным 10 кВ.
. ВЫБОР СХЕМЫ РУ НН ЗАВОДА
Применяем одну секционированную систему сборных шин, поскольку применять усложнение схемы нецелесообразно, ввиду малой мощности трансформатора.
Выбор вида масляных выключателей (КСО или КРУ) на стороне низкого напряжения трансформатора произведём по току в послеаварийном режиме:
Для полученного значения тока выбираем ячейки
серии КРУ.
. ВЫБОР ЧИСЛА И МОЩНОСТИ ЦЕХОВЫХ
ТРАНСФОРМАТОРНЫХ ПОДСТАНЦИЙ И РАСПРЕДЕЛИТЕЛЬНЫХ ПУНКТОВ
Потребители первой категории должны иметь двухтрансформаторные подстанции и запитываться по радиальным линиям от разных секций ГПП или РП. Потребители второй и третьей категории могут запитываться по магистральным линиям. Все цеховые РП, КТП и РЩ запитываются по кабельным линиям с прокладкой кабеля на эстакадах, причём кабели разных вводов потребителей первой категории прокладываются на разных эстакадах.
Предварительный выбор числа и мощности трансформаторов на КТП производится на основании требуемой степени надёжности электроснабжения. Для потребителей второй категории на КТП устанавливаются два трансформатора, работающих раздельно в нормальном режиме - в целях уменьшения токов короткого замыкания. Номинальная мощность цеховых трансформаторов выбирается по средней мощности за наиболее загруженную смену, исходя из условий экономичной работы трансформаторов в нормальном режиме - загрузка на 60 - 80 % и допустимая перегрузка в послеаварийном режиме - 40 %.
Если нагрузка в цехе потребителей второй и третьей категории не превышает 200 кВА, то в данном цехе КТП не устанавливается, а электроприёмники цеха запитываются от ближайшей КТП кабельными линиями 0,4 кВ.
Минимальное число трансформаторов одной мощности
, (3.2)
где РМS - суммарная мощность цехов, где установлены трансформаторы одной мощности, кВт;
Кз - коэффициент загрузки трансформаторов;
Sн.т. - номинальная мощность трансформатора, кВА.
DN - добавка до ближайшего целого числа.
Оптимальное число трансформаторов
, (3.3)
где m - дополнительное число трансформаторов, определяется по рисунку 9.2 /17/.
Число трансформаторов мощностью 400 кВ·А
,
Число трансформаторов мощностью 250 кВ·А
,
. расчёт токов короткого замыкания
электрический нагрузка замыкание трансформаторный
Согласно [3] проверка правильности выбора аппаратов и проводников напряжением 6 - 35 кВ производится по току трехфазного к.з., а напряжением 110 кВ и выше - по току трехфазного или однофазного к.з. Расчет токов к.з. производят в основных коммутационных узлах подстанции. Для определения наибольшего возможного тока к.з. в каждом узле следует считать включенными все генераторы в системе, все трансформаторы и линии электропередачи (ЛЭП) подстанции.