Материал: Электропривод вагона

Внимание! Если размещение файла нарушает Ваши авторские права, то обязательно сообщите нам

Электропривод вагона

Введение

 

Проектирование электроснабжения вагонов является сложной инженерной задачей, обеспечивающей безопасность и надежность передвижения поездов.

В значительной мере оно влияет на технико-экономические показатели всех подразделений железных дорог и многих отраслей народного хозяйства и населения страны, пользующихся услугами железнодорожного транспорта. При проектировании электроснабжения железнодорожного вагона учитываются методики и разработчики более раннего внедрения в данной сфере, а также современные подходы к проектированию энергосистем. Создание энергосистем, качественное техническое их обслуживание и ремонт во многом зависит от квалификации специалистов вагонного хозяйства. Для поддержания высокого технического уровня вагонного парка в современных условиях необходимо применение новейших технологий с использованием средств механизации и автоматизации процессов при проектировании, постройке и эксплуатации вагонов. Незначительное повышение эффективности вагонов приводит к существенным суммарным результатам.

Оптимизация перевозочного процесса и инфраструктуры, используемой для перевозок, обеспечит высокую эффективность работы железных дорог в условиях реформирования отрасли, будет способствовать сокращению эксплуатационных затрат и прибыльной работе ОАО «РЖД». Разработка плана формирования вагонов с контейнерами является актуальной проблемой для железных дорог РФ. В настоящее время среднесуточные объемы погрузки - выгрузки 38% контейнерных пунктов для переработки среднетоннажных контейнеров не превышает одного контейнера в сутки и только на 19,2% КП переработка достигает 10 у. е.

Перечисленные данные дают возможность понять, как важен правильный подход и выбор алгоритма решения технической задачи при проектировании и конструировании нового оборудования.


1. Краткая характеристика вагона и его электрооборудования

 

1.1 Перечень потребителей электрической энергии и основные характеристики

 

Таблица 1.1 - Перечень потребителей электрической энергии вагона 61-4170

Обозначение на схеме

Наименование




А6

Устройство управления и защиты электрооборудования

0.5

110

1.0

1.0

А7

Система пожарной сигнализации

0.1

110

1.0

1.0

А8

Система технологического контроля (НБ, уровня воды, температуры, устройств торможения)

0.2

110

1.0

1.0

А9

Система управления кондиционированием

0.2

110

0.1

1.0

А10

Информационные устройства

0.1

110

1.0

1.0

А11

Управления наружными автоматическими дверями

0.6

110

0.5

1.0

EL1

Аварийное освещение

0.3

110

-

1.0

EL2

Служебное освещение (лампы накаливания)

0.4

110

0.1

1.0

EL3

Освещение вагона (лампы накаливания)

1.0

110

0.5

1.0

EL4

Освещение вагона (лампы люминесцентные)

расчет

EН1

Концевые сигнальные фонари

0.24

110

0.1

1.0

EН2

Устройства сигнализации

0.2

110

0.2

1.0

EК2

Обогреватель сливных и наливных труб

1.0

110

0.2

1.0

EК3

Обогреватель питьевой воды

0.2

110

0.2

1.0

EК4

Калорифер воздуха межсезонного отопления

6.0

110

0.33

1.0

EК5

Электропечи межсезонного отопления

6.0

110

0.33

1.0

EК6

Электрокипятильник воды

3.5

110

0.1

1.0

EК7

Электрообогреватель бойлера горячего водоснабжения

6.0

110

0.2

1.0

EК8

Обогреватель вакуумного туалета

1.0

110

0.5

1.0

US

Полупроводниковый преобразователь DC 110 В/AC 220 В 50 Гц (для AC 220В, Гц)

0.5

110

0.1

1.0

М1

Электродвигатель циркуляционного насоса





М2

Электродвигатель насоса пожаротушения

0.25

110

0.1

2.0

М3

Электродвигатель вентиляционного агрегата

расчет

М4

Электродвигатель компрессора холодильной установки


М5

Электровидгатель вентилятора конденсатор


М6

Электродвигатель компрессора охладителя питьевой воды

0.25

110

0.5

2.0

М7

Электродвигатель компрессора холодильника

0.25

110

1.0

2.0

Х10

розетки DC 110 В

1.0

110

0.1

2.0

YB

Электромагнитный рельсовый тормоз

2х3,0

110

0.05

2.0

GB

Зарядка аккумуляторной батареи

5.0

142

0.5

2.0

НПМ

Аварийное электроснабжение вагона в пути следования

3.0

110

0.1

1.0


1.2 Вариант электроснабжения вагона, описание структурной схемы


Согласно задания для курсового проектирования в качестве схемы энергоснабжения вагона межобластного сообщения выбрана схема централизованного снабжения вагона электроэнергией.

2. Расчет и выбор основного электрооборудования вагона

 

2.1 Расчет и выбор электроприводов вагонных механизмов

 

На пассажирском вагоне с кондиционированием воздуха устанавливаются вентиляторы системы вентиляции вагона и вентилятор конденсатора.

Для вентилятора системы вентиляции вагона условия работы в летний и зимний периоды различны, так как различно количество подаваемого в вагон воздуха. Электродвигатель выбирают по большему значению получившейся мощности.

Мощность двигателя вентилятора системы вентиляции вагона

                                          (2.1)

где - коэффициент запаса мощности;

- производительность вентилятора, м3/с;

- суммарный напор, создаваемый вентиляторами, мм водяного столба;

- КПД вентилятора.

Производительность вентилятора системы вентиляции вагона в м3/с:

в зимний период

                                              (2.2)

в летний период

                                            (2.3)

где - расчетная норма подачи наружного воздуха на одного пассажира в зимний период, м3/с;

- расчетная норма подачи наружного воздуха на одного пассажира в летний период, м3/с;      

- расчетное число пассажиров в вагоне (по условию )

- коэффициент рециркуляции вентиляционного воздуха

Таким образом имеем:

Определим мощность двигателя вентилятора в зимний и летний периоды:

Выбираем электродвигатель по большему значению полученной мощности и результаты заносим в таблицу 2.1.

Выбор электродвигателя центробежного водяного системы жидкостного отопления.

                                               (2.4)

где - коэффициент запаса мощности;

- производительность насоса, м3/с;

- гидравлическое сопротивление трубопроводов отопления, принимается 25кПа.

- КПД центробежного насоса

По результатам расчета выбираем двигатель и заносим данные в таблицу 2.1

Определение мощности электродвигателя компрессора холодильной установки

                                               (2.5)

где - коэффициент учитывающий прерывистый характер работы компрессора;

- общий (полный) тепловой поток, который должен быть отведен воздухоохладителем, Вт;

Общий (полный) тепловой поток складывается из шести тепловых потоков:

) тепловой поток, поступающий через поверхность кузова вагона:

                                   (2.6)

где - температуры воздуха внутри и снаружи вагона летом, °С;

- средний коэффициент теплоотдачи поверхности вагона,

                                  (2.7)

) тепловой поток от инфильтрации для летнего периода эксплуатации:

                                     (2.8)

) тепловой поток, приносимый наружным воздухом при вентиляции вагона:

                                    (2.9)

) тепловой поток за счет солнечной радиации:

,                                        (2.10)

где

-расчетная поверхность кузова вагона, подвергающаяся солнечной радиации, м2

                      (2.11)

- расчетная (максимальная) температуры поверхности кузова, °С;

- продолжительность солнечного облучения вагона в течении суток, ч

                 (2.12)

) тепловой поток, выделяемый пассажирами вагона:

                               (2.13)

где q = 90 - мощность теплового потока, выделяемого одним пассажиром;

) мощность теплового потока от электродвигателей, расположенных внутри вагона, осветительных и других электроприборов

Общий (полный) тепловой поток, который должен быть отведен воздухоохладителем;

.

Требуемая мощность двигателя компрессора:

Выбор двигателя конденсатора холодильной установки

                                      (2.14)

где - коэффициент запаса мощности

- производительность вентилятора конденсатора

- напор создаваемый вентилятором

- КПД вентилятора

По найденной мощности и с учетом условий работы выбираем по каталогу необходимые электродвигатели, результаты сводим в таблицу 2.1.

Таблица 2.1 - Электродвигатели, устанавливаемые в вагоне

Двигатель

Расчетная мощность, кВт

Номинальная мощность, кВт

Тип

Номинальный ток при напряжении 110 В, А

Номинальный КПД

Вентилятора системы вентиляции вагона

2,6

3,2

П - 51

22,98

79

Вентилятора конденсатора

1,791

2,2

П - 42

26,31

76

Компрессора

22,258

25,0

П - 72

267,37

85

Электродвигателя системы центробежного водяного жидкостного отопления.

1.5

2.2

П - 42

26,31

76


Определим значения номинальных токов при номинальном напряжении 110 В по формуле 2.15.

                                                (2.15)

 

.2 Расчет и выбор электрического освещения


Используя опыт проектирования освещения пассажирских вагонов принимаем: люминесцентное освещение для купе и полукупе, служебного отделения и прохода; лампы накаливания для освещения тамбуров, туалетов, коридоров, котельного отделения, посадочных и сигнальных фонарей и др.

Мощность осветительной нагрузки в Вт для каждого из помещений вагона определяем по приведенной ниже формуле, результаты сводим в таблицу 2.2.

                                                 (2.16)

где

- удельная мощность осветительной нагрузки для данного помещения, Вт/м2;

- площадь помещения, м2;

Определяем мощность элктроенергии потребляемой для общего освещения:

                              (2.16)

где:  - коэффициент использования общего освещения;

 - количество светильников общего освещения в вагоне;

 - количество ламп в светильнике общего освещения;

 (люминесцентные лампы) - КПД устройств преобразовательной техники;

 - номинальная мощность лампы светильника общего освещения;

Определяем мощность элктроенергии потребляемой для местного освещения:

                               (2.17)

Определяем мощность элктроенергии потребляемой для служебного освещения:

                               (2.18)

Определяем мощность элктроенергии потребляемой для аварийного освещения:

                                        (2.19)

Определяем мощность элктроенергии потребляемой для дежурного освещения:

                               (2.20)

Определяем мощность элктроенергии потребляемой для сигнальных и концевых фонарей:

                              (2.21)

Общее значение нагрузки на сеть освещения составляет:

Среднее значение:

                             (2.22)

Пиковое значение:

                  (2.23)

Таблица 2.2 - Электрические светильники и лампы установленные в помещении вагона

Вид освещения

Рд расч Вт

Рн Вт

Тип светильника

Тип лампы

Uл.н В

Iл.н А

Nc

Общее

1200

1200

ЛБ-20

люминесцентный

110

10,9

10

2

Местное

300

500

Ж110-25

накаливания

110

2,7

6

1

200

350

Ж110-25

накаливания

110

1,8

5

1

Аварийное

3000

3000

ЛБ-20

люминесцентный

110

27,27

10

1

Дежурное

1000

1000

Ж110-25

накаливания

110

9.09

5

1

Концевые и сигнальные фонари

240

250

Ж110-25

накаливания

110

2.1

10

1

 

.3 Расчет и выбор электронагревательных устройств


Тепловой баланс, обеспечивающий поддержание расетной температуры воздуха внутри вагона, определяется по формуле 2.24

                         (2.24)


Тепловые потери через окружающую поверхность вагона определяются как:

                                     (2.25)

Тепловые потери при инфильтрации конструкции и открытии дверей при посадке и высадке пассажиров приняты 10% от тепловых потерь

 

Тепловая энергия необходимая для подогрева воздуха в системе вентиляции вагона:

                                      (2.26)

Тепловые потеря пассажиров определяются по формуле 2.27

                                                (2.27)

Тепловые потери оборудования вагона от работающего оборудования определяются по формуле 2.28

                                          (2.28)

Необходимая мощность энергии для обеспечения расчетного теплового баланса в вагоне определяются по формуле 2.29

                             (2.29)


2.4 Расчет и выбор отопления вагона


В данном случае в задании определено комбинированное электроводяное отопление. Мощность котла - бойлера определяется по формуле 2.30

                (2.30)

 



3. Определение потоков и расчет электрической энергии потребляемой в вагоне

 

3.1 Анализ структуры электрооборудования вагона

 

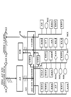
Структурная схема электроснабжения вагона изображена на рисунке 3.1

Рисунок 3.1 - Структурная схема электроснабжения вагона

Перечень потребителей электроэнергии в данной схеме представлен в таблице 3.1.

Таблица 3.1 - Перечень потребителей электрической энергии вагона 61-4170

Обозначение на схеме

Наименование




А1

Устройство управления и защиты электрооборудования

0.5

110

1.0

1.0

А5

Устройство управления и защиты электрооборудования

0.5

110

1.0

1.0

А6

Устройство управления и защиты электрооборудования

0.5

110

1.0

1.0

А7

Система пожарной сигнализации

0.1

110

1.0

1.0

А8

Система технологического контроля (НБ, уровня воды, температуры, устройств торможения)

0.2

110

1.0

1.0

А9

Система управления кондиционированием

0.2

110

0.1

1.0

А10

Информационные устройства

0.1

110

1.0

1.0

А11

Управления наружными автоматическими дверями

0.6

110

0.5

1.0

EL1

Аварийное освещение

0.3

110

-

1.0

EL2

Служебное освещение (лампы накаливания)

0.4

110

0.1

1.0

EL3

Освещение вагона (лампы накаливания)

1.0

110

0.5

1.0

EL4

Освещение вагона (лампы люминесцентные)

расчет

EН1

Концевые сигнальные фонари

0.24

110

0.1

1.0

EН2

Устройства сигнализации

0.2

110

0.2

1.0

EК2

Обогреватель сливных и наливных труб

1.0

110

0.2

1.0

EК3

Обогреватель питьевой воды

0.2

110

0.2

1.0

EК4

Калорифер воздуха межсезонного отопления

6.0

110

0.33

1.0

EК5

Электропечи межсезонного отопления

6.0

110

0.33

1.0

EК6

Электрокипятильник воды

3.5

110

0.1

1.0

EК7

Электрообогреватель бойлера горячего водоснабжения

6.0

110

0.2

1.0

EК8

Обогреватель вакуумного туалета

1.0

110

0.5

1.0

UD1/2

Полупроводниковый преобразователь DC 110 В/AC 220 В 50 Гц (для AC 220В, Гц)

0.5

110

0.1

1.0

US

Полупроводниковый преобразователь DC 110 В/AC 220 В 50 Гц (для AC 220В, Гц)

0.5

110

0.1

1.0

М2

Электродвигатель насоса пожаротушения

0.25

110

0.1

2.0

М3

Электродвигатель вентиляционного агрегата

расчет

М4

Электродвигатель компрессора холодильной установки


М5

Электровидгатель вентилятора конденсатор


М6

Электродвигатель компрессора охладителя питьевой воды

0.25

110

0.5

2.0

М7

Электродвигатель компрессора холодильника

0.25

110

1.0

2.0

Х10

розетки DC 110 В

1.0

110

0.1

2.0

YB

Электромагнитный рельсовый тормоз

2х3,0

110

0.05

2.0

GB

Зарядка аккумуляторной батареи

5.0

142

0.5

2.0

НПМ

Аварийное электроснабжение вагона в пути следования

3.0

110

0.1

1.0


3.2 Определение наибольшей мощности электрической энергии, потребляемой от штатных источников электроэнергии.

 

Среднее и пиковое значение нагрузки на электрическую сеть в разные сезонные периоды.

Зимний период:

                        (3.1)


                      (3.2)


Летний период:

                      (3.3)


                      (3.4)

По большему значению мощности определяется значение мощности аккумуляторной батареи.

Наибольшее значение мощности:

 


4. Расчет и выбор источников электроэнергии вагона

 

4.1 Расчет и выбор аккумуляторной батареи


Определение расчетного значения разрядного тока:

                                        (4.1)

Определение расчетного значения вагонной батареи:

                    (4.2)

Определение количества аккумуляторов в вагонной батарее:

                                        (4.3)

По рассчитанным параметрам выбран аккумулятор типа KL-400.

Шифр аккумулятора: 2-KL-400


5. Определение годового объема и стоимости электрической энергии израсходованной в пассажирском вагоне

 

5.1 Определение годового объема израсходованной электрической энергии


        (5.1)


5.2 Определение затрат на электроэнергию


                                       (5.2)



6. Расчет и выбор проводов и кабелей коммутационной и защитной аппаратуры при подключении электрических устройств

 

6.1 Расчет и выбор кабелей для подключения основного источника

Расчетные нагрузки позволяют определить сечения проводов сети электроснабжения вагона, выбрать защитные аппараты и аппаратуру управления.

Под расчетными нагрузками понимают некоторые неизменные нагрузки (токи, мощности), которые вызывают такой же нагрев проводов, двигателей, что и действительные нагрузки, непрерывно меняющиеся по величине во времени.

Действительное число потребителей электроэнергии вагона в летний период n=9.

Расчет числа потребителей

      (6.1)

Так как эффективное число электроприемников меньше 4, расчетную активную мощность определяем по формуле


Реактивная мощность при постоянном токе равняется нулю.

квар

Определим полную расчетную мощность

(кВ×А)                       (6.2)

Определим расчетный ток

(А)                           (6.3)

Пиковая нагрузка - это наибольшая нагрузка длительностью не более 5-10 с. Пиковые токи возникают, например при пуске двигателя наибольшей мощности при работающих остальных потребителях электроэнергии.

,                          (6.4)

где

- номинальный ток двигателя, имеющего наибольший пусковой ток;

- пусковой ток двигателя наибольшей мощности;

     - коэффициент использования двигателя, имеющего максимальный ток.

(А)               (6.5)

6.2 Расчет и выбор защитной аппаратуры вагонной аккумуляторной батареи


Выбор защитной аппаратуры

Ток плавкой вставки предохранителя:

1)      по расчетному току А;

)        по пиковому току

(А)                                   (6.6)

Выбираем плавкую вставку на номинальный ток 200 А и предохранитель типа ПР-2-200.

Автоматический выключатель выбираем с учетом выполнения условий:

1) (А);

) (А);

) (А);

Этим условиям удовлетворяет автоматический выключатель типа А3130, для которого А, А, А

Выбор проводов

Выбираем провод с резиновой и полихлорвиниловой изоляцией.

) по условию нагрева расчетным током:

(А)

Этому условию удовлетворяет провод с алюминиевыми жилами сечением 70 мм2. Номинальный ток провода этого сечения 210 А;

) по соответствию току защитной аппаратуры:

(А);

Этому условию соответствует провод сечением 95 мм2,

3)  по потери сопротивления в проводах:


Где Ом - активное сопротивление линии;

Получаемая величина потерь напряжения много меньше допустимой (10%). Поэтому окончательно выбираем провод сечением 95 мм2. Номинальный ток провода равен 255 А. Выбранное сечение удовлетворяет условию механической прочности.

 


Заключение

 

В результате выполнения курсового проекта была рассчитана принципиальная схема и произведен выбор компонентов для электроснабжения вагона 61-4170 межобластного сообщения. Вагон предназначен для перевозки пассажиров на расстояние до 300 км, вагон рассчитан на 68 сидячих мест.

Произведен выбор основного электромеханического, осветительного и защитного оборудования. Выполнен расчет затрат на потребляемое освещение. Составлена принципиальная схема оборудования.

Выполнение курсового проекта позволило подробнее изучить область проектирования электрического оборудования и может является основой выполнения последующих курсовых проектов, а также быть полезным при дипломном проектировании.

 

 


Список использованной литературы


1. Зыков Ю.В. Выбор основного электрооборудования и сети электроснабжения пассажирского вагона. Екатеринбург, 2002.

2.      Зорохович А.Е., Либман А.З. Ремонт электрооборудования пассажирских вагонов. М., «Транспорт», 1974.

3.  Вагоны: Учебник для вузов ж.-д. трансп. / Л.А. Шадур, И.И. Челноков, Л.Н. Никольский и др. - М: Транспорт, 1980. - 439 с.

4.      Лукин В.В. Конструкция и расчет вагонов. Ч. 3. Общие положения проектирования и расчета вагонов: Конспект лекций - Омск: ОМГУПС, 1991. - 88 с.

5.      Лукин В.В. Конструкция и расчет вагонов. Ч. 4. Общие положения проектирования и расчета вагонов: Конспект лекций - Омск: ОМГУПС, 1995. - 134 с.