Дипломна робота
Електрофізичні властивості гранульованих плівкових сплавів в
умовах дії магнітного поля
Вступ
Дослідження електрофізичних процесів, що відбуваються у зразках малих розмірів (тонкі плівки, малі частинки), викликають в останні десятиліття значний науковий і практичний інтерес. Це пов’язано з більш широким застосуванням цих об’єктів в багатьох галузях сучасної електроніки, оптиці, НВЧ-техніці, космічній та атомній промисловості як матеріалу для створення захисних покриттів, чутливих елементів сенсорів, діодних і транзисторних структур, спін-вентилів та тензодатчиків.
На даний момент цікавими, але не досить дослідженими є електрофізичні властивості гранульованих сплавів. Гранульовані сплави вперше спостерігали у 1992 р. Берковіц та ін. при дослідженні явища ГМО. Особливий інтересвикликає дослідження зміни температурного коефіцієнта опору в магнітному полі з точки зору практичного застосування ГМО - матеріалів як елементів багатофункціональних сенсорів.
Об’єктом дослідженьє
процес формування гранульованих плівкових сплавів на основіAg і Co. Предметом
дослідженьє електрофізичні властивості (питомий опір і термічний коефіцієнт
опору) гранульованих плівкових сплавів на основіAg і Co, отриманих методом
пошарової конденсації і термовідпалювання. Метою роботи є дослідження
температурної залежності опору і термічного коефіцієнту опору плівок на основі
гранульованого сплаву Ag-Co; встановлення кореляції між структурно-фазовим
станом і електрофізичними властивостями та вивчення впливу зовнішнього
магнітного поля на електрофізичні властивості. Поставлені наступні завдання:
дослідити ТКО в гранульованих сплавах Ag і Co, виявити основні закономірності
впливу магнітного поля на зміну ТКО.
1. Електрофізичні
властивості гранульованих плівковіх сплавів в умовах дії магнітного поля
1.1 Термічний коефіцієнт опору: теоретичні моделі, експериментальні результати (літературний огляд)
плівковий опір температурний гранульований
Температурна залежність опору плівкових матеріалів
На електрофізичні властивості плівкових матеріалів впливають: товщина плівки, розмір кристалітів, температура підкладки, взаємна дифузія атомів, макронапруження.
Для характеристики
температурної залежності опору плівок чи масивних зразків вводиться поняття
термічного коефіцієнта опору (ТКО) β:
або
,
(1.1)
де Rп, ρп - початкове значення опору та питомого опору, а величини βR та βρ практично не відрізняються. У зв’язку з тим, що Rп і ρп знаходяться у знаменнику, то величина ТКО у плівках значно менша порівняно з масивними зразками. Слід також мати на увазі, що в чистих металевих масивних чи в плівкових зразках ТКО завжди більше нуля. Але при одержанні плівки в поганих вакуумних умовах, з малою швидкістю конденсації або коли плівка не суцільна її ТКО може виявитися від’ємним. [1].
Для двошарових
плівок визначення ТКО стає більш принциповішим, аніж для одношарових, оскільки
вимірювання товщин
та
призведе
до ще більшої похибки, тож теоретичний розрахунок питомого опору за правилом
паралельного з’єднання призводить до похибки через те, що це правило не зовсім
задовольняє випадку двошарової плівки. В теоретичній моделі Р.Дімміха
розглядається залежність ТКО від товщин
та
.
При цьому відхилення від правила паралельного з’єднання не стає принциповим,
оскільки ТКО - це відноснавеличина, тобто
. У найбільш загальному
вигляді співвідношення Р.Дімміха для ТКО двошарової плівки має вигляд:
(1.2)
При відносно великих
товщина [2] співвідношення (1.2) спрощується до вигляду:
(1.3)
У 1992 р. Берковіц та ін. вперше спостерігали ГМО в так званих гранульованих сплавах, що викликало нову хвилю зацікавленості цим явищем. Гранульовані сплави зазвичай отримують шляхом одночасного осадження на підкладку двох металевих компонент, які мають обмежену змішуваність в масивних зразках, одна із яких магнітна, а інша - немагнітна (рис. 1.1). В результаті цього при певному підборі концентрацій утворюються магнітні частинки (гранули) в немагнітній матриці, розміри яких від декількох ангстрем до декількох нанометрів.
Як і в плівкових
мультишарах, у гранульованих сплавах опір сильно залежить від магнітного стану
гранул. Він мінімальний при паралельній орієнтації магнітних моментів
(насичення). У міру того, як буде відбуватися розорієнтація магнітних моментів,
опір буде збільшуватися, досягаючи свого максимального значення R(Hmax).Результати
досліджень, наведені у роботі [4] вказують на те, що гранульований стан плівок
(Co, Ag) певним чином впливає на їх електрофізичні властивості (питомий опір ρ і термічний коефіцієнт опору (ТКО, β).
Рис. 1.1
Схематичне зображення еволюції форми і розмірів магнітних включень CoFe в
немагнітній матриці Ag. Температура відпалювання, К: а - 77; б - 500; в - 700;
г - 900. Із роботи [3]
Одним із варіантів врахування впливу структурно-фазового стану на електрофізичні властивості плівкових систем гранульованих сплавів може слугувати порівняння експериментальних величин із розрахунковими, отриманими після проведених досліджень. Подібна спроба врахування такого впливу на величину термічного коефіцієнту опору (ТКО) здійснена і розрахована авторами у роботі [5], де запропонована феноменологічна модель електрофізичних властивостей гранульованих плівкових сплавів.
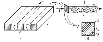
В основі такої моделі електрофізичних властивостей, які запропоновали автори [5,6], лежать наступні положення:
- плівковий зразок моделюється у вигляді шаруватої структури;
окремий шар (рис. 1.2 а) моделюється у вигляді паралельного з’єднання трубок струму, кожна з яких складається із послідовного з’єднання фрагментів твердого розчину і гранул із середнім радіусом r0 (рис. 1.2 б).;
розрахунок опору гранули (Rг) сферичної форми проводиться шляхом інтегрування елементу опору по об’єму гранули.
При цьому зразок
представляє з себе зʼєднання окремих шарів, в яких трубки струму моделюються, як
паралельне зʼєднання бокових і центрального стержня.
Рис. 1.2 Схематичне
зображення окремого шару (а), трубки струму (1), її поперечного перерізу (б) із
чотирма боковими (2) та центральним (3) стержнями. І - сила струму. Із роботи
[5]
Співвідношення для
розрахунку b,
отримане авторами [5,6], має наступний вигляд:
, (1.4)
де
ступінь
ґранулярності зразка (
-
середня величина фрагменту т.р. в трубці струму); rгі rтр - питомий опір гранул і фрагментів
т.р.; bгі
bтр - ТКО гранул Со і фрагментів т. р.
відповідно.
Співвідношення
(1.4) можна спростити до трьох граничних випадків:
при
;
(1.5)
,
; (1.6)
,
(1.7)
Величина ТКО має 3 випадки: для біпластини, для гомогенної системи та для гранульованих сплавів, які зазначені вище[6].
Огляд експериментальних досліджень електрофізичних властивостей двошарових систем на основі плівок Agі Co
Унікальні електрофізичні властивості плівкових зразків постійно знаходяться в полі зору дослідників. Так, цій проблемі присвячена велика кількість робіт.
Електрофізичні властивості тонких плівок можуть значно відрізнятися від властивостей масивних зразків. Це пов’язано, по-перше, з їх кристалічною будовою, яка суттєво залежить від температури підкладки при конденсації, ступеню вакууму, властивостей матеріалу, який випаровується; по-друге, з товщиною плівки незалежно від методу її одержання. Крім цього, електричні властивості дуже чутливі до зміни температури, концентрації дефектів та деформації (стискання або розтягу).
У випадку системи на основі Ag і Со має місце обмежена взаємна розчинність з утворенням т.р. (Ag, Со) з ГЦК-граткою і параметрами близькими до а0(Ag). У результаті цього надлишкові атоми Со утворюють гранулі в матриці твердого розчину (т.р.), що підтверджується електронно-мікроскопічними дослідженнями[7].Показано, що утворення гранульованого твердого розчину на основі Ag відбувається при термообробленні до температури 800 К (система Ag/Co/П) або в процесі одночасної конденсації (плівка (Ag + Co)/П).
Експериментальні величини термічного коефіцієнта опору добре узгоджуються із розрахунковими на феноменологічному моделю для гранульованого твердого розчину[7]. Діаграми стану Ag-Co для масивних зразків[8] компонентівмають дуже обмежену розчинність у порівнянні із плівковими зразками. Стабілізація т.р. (Ag, Co) з елементами гранульованого стану має місце як в процесі одночасної конденсації з двох джерел, так і при послідовній конденсації з наступним термообробленням.
Плівкові системи на основі Co і Ag та Co і Au у невідпаленому стані двофазні. У процесі термовідпалювання відбувається аналогічне утворення т.р. (Ag, Со) та (Au, Со). Піки на рентгенограмах від Au(23)/Cо(15)/П (П - підкладка) до і після відпалювання до 700 К, що відповідють ГЦК-Ag, зазнають зміщення, а ті, що відповідають ГЩП-Со, зникають після відпалювання. На мікрознімоку кристалічної структури двошарової плівки Ag/Со/П спостерігається стабілізація наночастинок ГЩП-Со, від яких на відповідній їй електронограмі поряд з лініями т.р. фіксуються екстрарефлекси. Таким чином, у результаті термовідпалювання плівкових систем на основі Co і Ag та Co і Au відбувається утворення гранульованих т. р. [9].
Гранульовані
плівкові сплави на основі Ag та Cо відносяться до систем зі спін-залежним
розсіювання. Вони мають матрицю із немагнітного матеріалу на основі якої
формується твердий розчин т.р. (Ag, Cо) і система феромагнітних гранул Со
різного розміру (від декількох ангстремдо декількох нанометрів) [10-12].
Утворення гранульованого плівкового сплаву в системах на основі Ag та Со
пов’язане з тією обставиною, що компоненти даної системи мають обмежену взаємну
розчинність у масивному стані [9] і тому із надлишкових атомів Со, які продифундували
у решітку Ag, формується система гранул (структура такого сплаву та мікрознімок
представлені на рис. 1.3) [13].

Рис. 1.3 Схематична
структура гранульованого сплаву на основі Co і Ag (а) та його мікроструктура
після відпалювання до температури 600 К, отримана в режимі високої
розрізнювальної здатності (б). Із роботи [13]
В серії робіт В. Пратта та ін. [14 - 15] на прикладі мультишарів на основі Co і Cu або Ag та Feі Cr. Отриманих методом пошарової конденсації, було показано, що при вимірюванні у перпендикулярній геометрії величина МО не перебільшує 10%, в той час як при паралельній геометрії МО досягає 40% (температура вимірювання Т = 4,2 К). Аналогічний результат був отриманий при дослідженні магніторезистивних властивостей гранульованих сплавів на основі Со і Ag у паралельній геометрії в роботах [16 - 18].Cu і Co-Ag плівки показують протилежну тенденцію з Co завдяки різним домінуючим вкладенням анізотропії в двох системах, тобто зменшення компонента намагнічення. Тому збільшення перпендикулярної анізотропії може бути виведений для Co-Ag із збільшенням товщини плівки. Використовуючи Ag як магнітну розпірку, маленький перпендикулярний магнітний компонент з'являється також для мультишарів гранульованих систем.
На відміну від плівок Ag, плівки Co мають двофазний склад. На електронограмах поряд з лініями ГЩП-Со фіксуються лінії ГЦК-Со, які можуть відповідати як відбиттям від дефектів пакування в ГЩП-Со, так і незавершеним фазовим ГЦК→ГЩП переходом при конденсації плівки Со[19].
Широкий інтервал значень магнітоопору (від 1 до 40%) пов’язаний із режимами термообробки та зміною концентрації атомів Со. Розмірна залежність магнітоопору від індукції магнітного поля має нелінійний характер. Згідно даних на концентраційних залежностях для плівкового сплаву на основі Agта Co при Т = 4,2 К величина МО зростає з 27 до 43% при збільшенні загальної концентрації сСо в інтервалі від 14 до 37 ат.%. При подальшому збільшенні концентрації атомів Со відбувається різке зменшення величини МО і при сСо = 60 ат.% досягає мінімального значення (МО = 2%). При температурі вимірювання 300 К спостерігається аналогічний характер залежності (максимум спостерігали при сСо = 38 ат.%, величина МО = 20%) [13].
Була проведена апробація запропонованої авторами [5] феноменологічної моделі, що використовується для розрахунку електрофізичних властивостей (питомого опору (r) та термічного коефіцієнту опору (b) плівкових гранульованих сплавів. Результати, отримані за допомогою вище наведеного співвідношення та експериментальні дані добре корелюють між собою. Зокрема було встановлено, що для плівкової системи з утворенням гранульованого стану Ag(43)/Co(20)/П bекс = 1,58×10-4 К-1, а bроз = 1,35×10-4 К-1[24].
В роботі [20] досліджували ГМО в гранульованих плівках Ag та Co. Із збільшенням концентрації кобальту, середній розмір зерен варіює від 3 до 9 нм і магнітна поведінка переходить від суперпарамагнітної до одного домену феромагнітного і багатодоменного феромагнітного стану. У ціх матеріалів присутній гігантський магнітоопір, значення яких проходить через максимум залежно від кобальту. Максимальний ГМО досягає 14% в 10К і 4% при кімнатній температурі. Ці значення менші, в порівнянні з отриманими іншими методами[20].
Аналогічні дослідження проводились в роботі [21]. Чутливість пов'язана з зернистим типом ГМО в яких вона збільшилася, через зниження опору і підвищення обмінної взаємодії між Co гранулами та суміжних феромагнітного Со або FeCo шарів, які були викликані зростанням Co гранул в Ag або CoAg шарів. Максимальні значення були отримані шляхом відпалу в межах 350-400°С. Ці високі значення були запропоновано використовувати для магнітного датчика в високих полях[21].
На основі гранульованих
сплавів Ag/Co були створені датчики для безконтактного лінійного положення
зондування позиції (рис. 1.4). Гранульовані сплави з ГМО є хорошим рішення для
розробки простих і ефективних недорогих датчиків. Ці матеріали показують високу
чутливість і високу робочу температуру. Значення магнітоопору вимірювали при
кімнатній температурі під Nd-Fe-B в постійних магнітах, їх вплив становить 8%,
що вище, ніж в інших комерційних пристроїв. Це дозволяє мати чутливість вище,
ніж 14,6 мВ/мм[22].