Материал: Электрические методы исследования скважин

Внимание! Если размещение файла нарушает Ваши авторские права, то обязательно сообщите нам

По гамма-каротажу ведутся также попутные поиски радиоактивных руд и вод в интервале глубин до 500 м. Диаграммы ГК пишутся на малых скоростях движения прибора по стволу скважины - 300 - 400 м/час. Это же относится и к другим разновидностям радиоактивных каротажей. Скорости записи меньше, чем у электрических методов примерно в 10 раз.

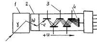
Основной частью скважинного прибора ГК является сцинтилляционный счетчик, схема которого представлена ниже на рисунке.

Сцинтилляционный счётчик

Диаграмму ГК можно записывать в пробуренной скважине до спуска колонны или после спуска. Качество диаграммы при этом меняется незначительно. Но, поскольку в открытом стволе существует опасность прихвата скважинного прибора, то эти исследования обычно проводятся в скважине, обсаженной колонной. Кривая ГК записывается при обязательном радиоактивном каротаже двухканальным скважинным прибором (ГК - НГК).

Скважинный прибор ГК используется при работе с жидкими радиоактивными изотопами, которые являются гамма-излучателями и применяются при определении заколонной циркуляции. В этой операции диаграмма ГК записывается дважды - до закачки изотопов и после.


Спектрометрический гамма-каротаж (СГК)

СГК позволяет определять в породах концентрации отдельных естественных радиоактивных элементов: К, Тh,U (Ra) и, тем самым резко увеличить возможности ГК, оценить загрязнение техногенными радионуклеидами и решения других радиоэкологических задач.


Комплексная интерпретация электрических (БК, ИК) и радиоактивных методов (ГК, НГК).

Отбивка забоя (локатор муфт и ГК)



Локатор муфт представляет собой многослойную индуктивную катушку со стальным сердечником. Катушка расположена между двумя постоянными магнитами. Полюсы магнитов (N,S) направлены на встречу друг к другу. Прибор помещен в антимагнитный корпус. При перемещении прибора по стволу скважины изменение магнитного сопротивления среды приводит к изменению напряженности магнитного поля вокруг катушки, которая возбуждает электродвижущую силу индукции. Разность потенциалов передается на поверхность по жиле кабеля на регистрирующий прибор.

Применение:

уточняет положение в муфтовых соединений колонны или НКТ;

уточняет интервалы перфорации;

осуществляет точную привязку показаний различных приборов по глубине.

Нейтронный гамма-каротаж (НГК)


Это метод искусственной радиоактивности, основанный на облучении пород нейтронами. В результате сложного взаимодействия нейтронов с ядрами элементов скважинной среды, порода отвечает гамма-излучением.

Нейтрон, это элементарная ядерная частица, обладающая атомной единичной массой, и не имеющая электрического заряда. Самой примечательной величиной является высокая скорость его - 30 тыс. км/с. Она составляет 0,1 скорости света. Кинетическая энергия его очень высокая, она измеряется в Мэв. Благодаря такой энергии нейтрон обладает высокой проникающей способностью в веществах, независимо от их плотности.


Нейтронный источник, применяемый в скважинном приборе НГК, представляет собой порошкообразную смесь полония и бериллия (РоВе). Полоний - это тяжелый элемент с естественной радиоактивностью с периодом полураспада Т=140 дней. Из всего комплекса излучений полония используются альфа-лучи, которые производят бомбардировку бериллия. В результате ядерной реакции рождаются нейтроны. Напомним, что альфа-лучи представляют собой поток ядер гелия.

Нейтроны, рожденные в этой реакции, называются быстрыми. При движении их в скважинной среде происходят многочисленные столкновения их с ядрами элементов среды. При этом скорость нейтронов постепенно уменьшается, энергия снижается, они переходят в новое качество - медленные. А еще далее, медленные нейтроны переходят в категорию тепловых, энергия которых еще ниже.

Столкновение нейтронов с ядрами может быть упругим, когда энергия нейтрона сохраняется, а меняется направление движения. Неупругим считается столкновение, когда часть энергии нейтрона передается другой частице - ядру вещества. Наибольшая потеря энергии отмечается при столкновении с частицей равной массы. Это механическое столкновение подобно удару биллиардных шаров, когда скорость первого шара уменьшается, а второго - увеличивается. Самым сильным замедлителем нейтронов является водород. В скважинной среде водород является примечательным элементом - он содержится в пластовых флюидах. Абсолютное содержание водорода в воде и нефти примерно одинаковое. В пластовых условиях флюиды содержатся в поровом пространстве. Количество флюидов в пласте соответствует пористости, поэтому НГК является методом определения пористости пластов.

Когда нейтроны сильно ослабевают до уровня тепловых, они захватываются ядрами других элементов. Ядра переходят в состояние избытка энергии. Такое состояние называется возбуждением, оно является неустойчивым, и ядра не могут долго находиться в этом состоянии. Они стремятся избавиться от лишней энергии, чтобы перейти в устойчивое состояние.

Диаграмма НГК


В скважинной, пластовой системе эта реакция проявляется выбросом избыточной энергии в виде гамма-излучения, которое фиксируется скважинным прибором НГК.

На диаграмме НГК показания интенсивности вторичного гамма-излучения обратно пропорциональны пористости. В интервале терригенных пород максимальной пористостью обладают глины, поэтому на диаграмме они отмечаются минимальными значениями. А плотные известняки, пористость которых близка к нулю, отмечаются максимальными значениями НГК.


Наиболее интересные пласты - песчаники и алевролиты, отмечаются промежуточными значениями. На приведенном рисунке видно, что пористость первого пласта выше, чем второго. Точная величина пористости определяется по величине относительной амплитуды НГК (АНГК).

 - интенсивность НГК в интервале данного пласта,

 - интенсивность в глинах (min),

интенсивность в самом плотном пласте (max).

Диаграмма НГК записывается в условных единицах, соответствующих пористости. При калибровке скважинного прибора показания в баке с водой соответствуют пористости 100%.

Интенсивность НГК фиксируется сцинтилляционным счетчиком. Скважинный прибор радиоактивного каротажа (РК) содержит два независимых канала - ГК и НГК. Канал ГК находится в верхней части скважинного прибора. Он удален от канала НГК на 2 м, чтобы вторичное гамма-излучение от источника нейтронов не доставало его.

На схематическом рисунке скважинного прибора РК обозначения соответствуют:

- источник нейтронов,

- канал ГК;

- кабель каротажный,

- канал НГК;

- экран свинцовый (против прямого излучения по вертикали).

Двухканальный скважинный прибор РК

 

В физических процессах взаимодействия нейтронов с веществом можно отметить несколько подробнее эффект захвата тепловых нейтронов. По возможностям захвата ядра всех элементов скважинной среды обладают конкретными количественными характеристиками. Параметром этого свойства является ядерное сечение захвата. Из всех элементов природы максимальным сечением захвата обладает хлор. При захвате одного теплового нейтрона ядра выдают один гамма-квант, а хлор выдает три кванта. Следовательно, вещества, содержащие хлор, отмечаются на диаграммах НГК повышенными значениями. В геологическом разрезе скважины в водоносных интервалах содержится хлор (соль NaCl). Поэтому водоносные интервалы отмечаются повышенными значениями относительно нефтеносных.


Пример выделения коллектора методами ГК и НГК в интервале 1762-1772м.


Отметка ВНК по НГК и ННКт

На приведенном рисунке в нижней части пласта на диаграмме НГК отмечается повышенным значением. Это означает, что нижняя часть пласта водоносна, а верхняя - нефтеносна, т.е. в пласте отмечается ВНК. Это позволяет применять НГК для контроля за обводнением нефтяного пласта в процессе разработки.

Нейтрон-нейтронный каротаж (ННК)


При исследованиях этим методом скважинная среда облучается потоком быстрых нейтронов от источника, в качестве которого используется тот же источник, что и в методе НГК. В горных породах происходит замедление нейтронов, ослабление их энергии до уровня медленных, а затем и тепловых. Главным замедлителем является водород, а в эффекте захвата основным элементом является хлор. Следовательно, эффективность ННК сильно зависит от минерализации пластовых вод. Часть замедленных нейтронов в результате диффузии и рассеяния возвращается на скважинный прибор и фиксируется сцинтилляционным счётчиком.

Метод ННК имеет две модификации: по тепловым нейтронам (т) и по надтепловым (нт), энергия которых несколько выше, чем тепловых. Эти две категории нейтронов фиксируются разными способами.

ННКнт (по надтепловым нейтронам) является результатом замедляющего действия водорода, поэтому применяется для определения пористости пластов. В практике исследования скважин эта модификация применяется очень редко. Это объясняется тем, что в пробуренных скважинах уже бывает проведено исследование методом НГК, который является обязательным методом для всех скважин. Поэтому вторично определять пористость нет необходимости. К тому же, следует заметить, что метод ННК обладает меньшей глубинностью исследования в пласт.

Что касается ННКт, то он применяется часто. По плотности потока тепловых нейтронов можно судить о содержании хлора в пласте т.к. он является главным захватчиком их. В пластах, содержащих соленую воду, много тепловых нейтронов бывает поглощено хлором, поэтому на скважинный прибор возвращаются слабые потоки малой плотности, водоносные пласты отмечаются пониженными показаниями относительно нефтеносных. На диаграмме ННКт отмечается ВНК. Этот эффект зависит от минерализации пластовой воды. При малой солености ВНК на диаграмме ННКт может не отмечаться. В действующих добывающих скважинах чаще всего нефть извлекается вместе с водой. В разных скважинах минерализация воды может изменяться в широком диапазоне. О ней судят по плотности, что адекватно минерализации. Плотность добываемой воды (r) по различным причинам может быть от 1030 до 1180 кг/м3. Граничным критерием для эффективности ННКт является r=1100 кг/м3, ниже которой водоносные интервалы не отмечаются.

Другой проблемой метода ННК является низкая его глубинность в пласт по горизонтали, которая составляет всего 15-20 см. Это ограничивает эффективность применения его для исследования остановленных скважин. В этих скважинах ствол заполняется соленой водой, создается большое забойное давление, которое по величине больше пластового. Создаётся перепад давления ΔР, под действием которого вода из ствола скважины фильтруется в перфорированные продуктивные пласты, из которых до остановки скважины отбирали нефть с водой. Поглощённая пластом вода оттесняет пластовые флюиды на глубину, превосходящую возможности нейтронных методов НГК, ННКт, поэтому исследования по определению интервалов обводнения нефтяных пластов часто бывают безрезультатными. Напрашивается необходимость применения других методов, обладающих большей глубинностью исследования.

Импульсный нейтронный каротаж (ИНК)


Радиоактивные методы широко применяются для решения различных геолого-технических задач, связанных с контролем за разработкой нефтяных месторождений. Их главное достоинство заключается в возможности прохождения нейтронных и гамма-излучений через мощную толщу преград в конструкции скважины - через металл обсадной колонны и других труб в стволе скважины, а также через цементный камень крепления скважины. Тем не менее, глубинность исследования методами радиометрии остается очень низкой. Это связано с рассеянием и поглощением ядерных излучений в скважинной среде. Глубинность их крайне не достаточна для исследования пластов-коллекторов.

ГГК 10-15 см

ННК 15-20 с

НГК 20-30 см

Для увеличения глубинности исследований нужны более мощные источники излучений, а это противоречит безопасности работ.

Другим крупным недостатком при исследовании скважин является влияние жидкости ствола скважины. Все ядерные процессы происходят не только в пластах, но и в стволе. Хоть диаметр скважины не большой, но это ближняя зона для скважинного прибора, и все реакции в ней происходят сильнее, чем в дальних зонах пласта, где содержится полезная информация. По этой причине на диаграммах радиоактивных методов записываются и полезная информация от пласта, и бесполезная - от ствола скважины. Таким образом, геологическая эффективность диаграмм снижается.

В импульсных нейтронных методах ИНГК, ИННК влияние этих недостатков снижено. Скважинный прибор ИНК - нейтронный генератор. В нем предусмотрена ядерная реакция в ускорительной трубке с получением потока нейтронов с высокой энергией. Если ампульный нейтронный источник (Р0Ве) даст непрерывное излучение нейтронов с энергией 3¸7 Мэв, то нейтроны на выходе генератора ИНК имеют энергию 14 Мэв. Это означает, что в породе они могут пройти большее расстояние, что увеличивает глубинности исследования, которая составляет 30-45 см.

Нейтронный генератор работает в импульсном управляемом режиме. В нем использована электронная коммутация кратковременных сигналов, длительность которых измеряется в микросекундах (мкс). Основной частью прибора является ускорительная трубка, содержащая дейтерий под небольшим давлением. Под действием высокого напряжения (70 тыс. вольт) положительные ионы (дейтоны) развивают очень большую скорость, и, бомбардируют мишень в виде катода, изготовленного из циркония. Результатом этой реакции является выход нейтронов. При выключении напряжения питания скважинного прибора все реакции прекращаются. На поверхности, при подготовительных работах прибор не представляет никакой опасности. Электрическое питание включается после спуска его в скважину.

Помеха от влияния ствола скважины исключается благодаря импульсному режиму работы.

Импульсный нейтронный режим

десь t1 - импульс выхода нейтронов, t2 - пауза, при которой измерительная схема отключается для исключения влияния ствола скважины, t3 - окно измерений полезной информации от пласта, измерительная схема включена. Затем следует t4 - пауза, схема отключается, пропускаются все вторичные ядерные реакции в стволе скважины. Далее снова следует t1 - инжекция нейтронов, цикл повторяется. Периодичность циклов определяется частотой ¦=400 Гц.

На диаграммах импульсного нейтронного каротажа ИНГК, ИННК нефтеносные интервалы пластов отмечаются повышенными показаниями, водоносные - пониженными.

Как нейтронный метод с максимальной глубинностью исследования, ИНК широко применяется для определения водонефтяного контакта в пласте (ВНК) и выделения водоносных интервалов и пластов при контроле за разработкой продуктивных интервалов в добывающих скважинах. Применяется он в комплексе с другими геофизическими и гидродинамическими методами.