Материал: Доклад по теме «Методы и способы очистки воды»

Внимание! Если размещение файла нарушает Ваши авторские права, то обязательно сообщите нам

Физико-химические способы очистки воды

Как следует из названия, методы очистки воды данной группы совмещают в себе химическое и физическое воздействие на загрязнители воды. Они достаточно разнообразны и применяются для удаления самых разных веществ. В их числе растворенные газы, тонкодисперсные жидкие или твердые частицы, ионы тяжелых металлов, а также различные вещества в растворенном состоянии. Физико-химические методы могут применяться как на стадии предварительной очистки, так и на поздних этапах для глубокой очистки.

Разнообразие методов данной группы велико, поэтому ниже будут приведены наиболее распространенные из них:

  • флотация;

  • сорбция;

  • экстракция;

  • ионообмен;

  • электродиализ;

  • обратный осмос;

  • термические методы.

Флотация, применительно к водоочистке, представляет собой процесс отделения гидрофобных частиц при пропускании через воду большого числа пузырьков газа (обычно воздуха). Показатели смачиваемости отделяемого загрязнителя таковы, что частицы закрепляются на поверхности раздела фаз пузырьков и вместе с ними поднимаются на поверхность, где образуют слой пены, который может быть легок удален. Если отделяемая частица оказывается больше по размерам чем пузырьки, то вместе они (частица + пузырьки) образуют так называемый флотокомплекс. Нередко флотацию комбинируют с использованием химических реагентов, к примеру, сорбирующихся на частицах загрязнителя, чем достигается снижение его смачиваемости, или являющихся коагулянтами и проводящих к укрупнению удаляемых частиц. Флотацию преимущественно используют для очистки воды от различных нефтепродуктов и масел, но также могут удаляться твердые примеси, отделение которых другими способами неэффективно.

Существуют различные вариант осуществления процесса флотации, ввиду чего выделяют следующие ее типы:

  • пенная;

  • напорная;

  • механическая;

  • пневматическая;

  • электрическая;

  • химическая и т.д.

Приведем в качестве примера принцип работы некоторых из них. Широко используется метод пневматической флотации, при которой образование восходящего потока пузырьков создается за счет установки на дне резервуара аэраторов, обычно представляющих собой перфорированные трубы или пластины. Подаваемый под давлением воздух проходит сквозь отверстия перфорации, за счет чего дробиться на отдельные пузырьки, осуществляющие сам процесс флотации. При напорной флотации поток очищаемой воды смешивается с потоком воды, перенасыщенной газом и находящейся под давлением, и подается в камеру флотации. При резком падении давления растворенный в воде газ начинает выделяться в виде пузырьков малого размера. В случае электрофлотации процесс образования пузырьков протекает на поверхности расположенных в очищаемой воде электродов при протекании по ним электрического тока.

Сорбционные методы основаны на избирательном поглощении загрязняющих веществ в поверхностном слое сорбента (адсорбция) или в его объеме (абсорбция). В частности для очистки воды используется процесс адсорбции, который может носить физический и химический характер. Отличие заключается в способе удержания адсорбируемого загрязнителя: с помощью сил молекулярного взаимодействия (физическая адсорбция) или благодаря образованию химических связей (химическая адсорбция или хемосорбция). Методы данной группы способны достичь большой эффективности и убирать из воды даже малые концентрации загрязнителей при больших ее расходах, что делает их предпочтительными в качестве методов доочистки на завершающих стадиях процесса водоочистки и водоподготовки. Сорбционными методами могут удаляться различные гербициды и пестициды, фенолы, поверхностно активные вещества и т.д.

В качестве адсорбентов используются такие вещества как активированные угли, силикагели, алюмогели и цеолиты. Их структура делается пористой, что значительно увеличивает удельную площадь адсорбента, приходящуюся на единицу его объема, из-за чего достигается большая эффективность процесса. Сам процесс адсорбционной очистки может быть осуществлен путем смешения очищаемой воды и адсорбента, или же путем фильтрации воды через слой адсорбента. В зависимости от сорбирующего материала и извлекаемого загрязнителя процесс может быть регенеративным (адсорбент после регенерации используется вновь) или деструктивны, когда адсорбент подлежит утилизации ввиду невозможности его регенерации.

Очистка воды методом жидкостной экстракции заключается в использовании экстрагентов. Применительно к очистке воды, эктсрагент – это несмешиваемая или мало смешиваемая с водой жидкость, значительно лучше растворяющая в себе извлекаемые из воды загрязнители. Процесс осуществляется следующим образом: очищаемая вода и эктрагент перемешиваются для развития большой поверхности контакта фаз, после чего в них происходит перераспределение растворенных загрязняющих веществ, большая часть которых переходит в экстрагент, затем две фазы разделяются. Насыщенный извлекаемыми загрязнителями экстрагент называется экстрактом, а очищенная вода – рафинатом. Далее экстрагент может быть утилизирован или регенерирован в зависимости от условий процесса. Данным методом из воды удаляются преимущественно органические соединения, такие как фенолы и органические кислоты. Если экстрагируемое вещество представляет определенную ценность, то после регенерации экстрагента оно вместо утилизации может быть с пользой использовано для других целей. Данный факт способствует применению экстракционного метода очистки к сточным водам предприятий для извлечения и последующего использования или возврата в производство ряда веществ, теряемых со стоками.

Ионный обмен в основном используется в водоподготовке с целью умягчения воды, то есть изъятия солей жесткости. Суть процесса заключается в обмене ионами между водой и специальным материалом, называемым ионитом. Иониты подразделяются на катиониты и аниониты в зависимости от типа обмениваемых ионов. С химической точки зрения ионит представляет собой высокомолекулярное вещество, состоящее из каркаса (матрицы) с большим количеством функциональных групп, способных к ионообмену. Существуют природные иониты, такие как цеолиты и сульфоугли, которые применялись на ранних этапах развития ионообменной очистки, но в настоящее время широкое распространение получили искусственные ионообменные смолы, значительно превосходящие свои природные аналоги по ионообменной способности. Метод очистки ионным обменом получил широкое распространение, как в промышленности, так и в быту. Бытовые ионообменные фильтры, как правило, не используются для работы с сильнозагрязненными водами, поэтому ресурса одного фильтра хватает на очистку большого количества воды, после чего фильтр подлежит утилизации. В то же время при водоподготовке ионообменный материал чаще всего подлежит регенерации с помощью растворов с большим содержанием ионов H+ или OH--

Электродиализ – метод разделения растворов электролитов путем их избирательного переноса через ионоселективные мембраны под действием электрического поля. Электродиализ относится к электромембранным процессам и сочетает в себе черты как электрохимического, так и мембранного процессов.

Электродиализ представляет собой комплексный метод, сочетающий мембранный и электрический процессы. С его помощью можно удалять из воды различные ионы и проводить обессоливание. В отличие от обычных мембранных процессов, в электродиализе используются специальные ионоселективные мембраны, пропускающие ионы только определенного знака. Аппарат для проведения электродиализа называется электродиализатором и представляет собой ряд камер, разделенных чередующимися катионообменными и анионообменными мембранами, в которые поступает очищаемая вода. В крайних камерах расположены электроды, к которым подводится постоянный ток. Под действием возникшего электрического поля ионы начинаются двигаться к электродам согласно своему заряду, пока не встречают ионоселективную мембрану с совпадающим зарядом. Это приводит к тому, что в одних камерах происходит постоянный отток ионов (камеры обессоливания), а в других, наоборот, наблюдается их накопление (камера концентрирования). Разводя потоки из разных камер можно получить концентрированный и обессоленный растворы. Неоспоримые преимущества данного метода заключаются не только в очищении воды от ионов, но и в получении концентрированных растворов отделяемого вещества, что позволяет возвращать его назад в производство. Это делает электродиализ особенно востребованным на различных химических предприятиях, где вместе со стоками теряется часть ценных компонентов, и применение данного метода удешевляется за счет получения концентрата.

Аппаратное оформление

Чаще всего электродиализ проводят в аппаратах типа фильтр-пресс с плоскими электродами, но также встречаются аппараты рулонного типа. Количество мембран может достигать 300 и более штук. За счет профильного исполнения межмембранных прослоек создаются сквозные отводящие каналы обессоленного раствора и концентрата. Для предотвращения солеотложения на мембранах и увеличения их срока службы процесс часто проводят в режиме реверсивного электродиализа. Суть его заключается в том, что с определенной периодичностью в аппарате меняется полярность тока, а следовательно, и направление движения ионов сквозь соответствующие мембраны. При этом камеры обессоливания становятся камерами концентрирования и наоборот.

Достоинства

  • Экологичность: электродиализ не требует для своего осуществления дополнительных реагентов или иных расходуемых веществ.

  • Технологичность: устройство электродиализаторов обеспечивает простоту их обслуживания и надежность при эксплуатации.

  • Низкое энергопотребление.

  • Возможность возврата в производство компонентов очищаемой воды.

Применение:

  • Опреснение и очистка воды.

Электродиализ находит все более широкое применение в области водоподготовки. Необходимая степень обессоливания достигается за счет многоступенчатого опреснения воды. Благодаря тому, что процесс электродиализа не требует дополнительных реагентов, очищенная вода так же не нуждается в дополнительной доочистке. Также данный способ обессоливания позволяет получать из пресной воды ультрачистую воду, используемую в микроэлектронике.

  • Выделение ценных компонентов и регенерация сточных вод.

Одно из наиболее широких применений электродиализ приобрел в сфере обработки сточных вод химических, нефтехимический, электрохимических и других предприятий. Процесс позволяет не только очищать сточные воды путем обессоливания и деионизации, но и возвращать назад в цикл ценные компоненты, содержащиеся в стоках. Так в процессе производства аммиачной селитры из кислого конденсата возможно возвращать в цикл до 94% нитрата аммония (NH4NO3).

На нефтеперерабатывающих заводах после стадий обработки продуктов перегонки и крекинга нефти едкой щелочью образуются сернисто-щелочные сточные воды (СЩСВ). Эти стоки содержат различные токсические соединения серы, как органические, так и неорганические, а также едкий натр, фенольные соединения и соли органических кислот. Обработка таких стоков происходит в многокамерных электродиализаторах периодического действия. В результате достигается почти полная очистка СЩСВ от токсичных сернистых соединений (99-100%), снижение ХПК на 90-95% и получение регенерированного раствора едкого натра, который может быть возвращен назад в цикл.

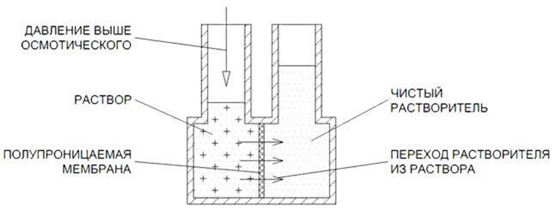
Обратный осмос относится к мембранным процессам и проводится под давлением больше осмотического. Осмотическое давление – избыточное гидростатическое давление, приложенное к раствору, отделенному полупроницаемой перегородкой (мембраной) от чистого растворителя, при котором прекращается диффузия чистого растворителя через мембрану в раствор. Соответственно, при рабочем давлении выше осмотического будет наблюдаться обратный переход растворителя из раствора, за счет чего концентрация растворенного вещества будет расти. Таким способом можно отделять растворенные газы, соли (включая соли жесткости), коллоидные частицы, а также бактерии и вирусы. Также установки обратного осмоса выделяются тем, что используются для получения пресной воды из морской. Данный тип очистки с успехом используется как в бытовых условиях, так и при обработке сточных вод и водоподготовке.

Термические методы основаны на воздействии на очищаемую воду повышенных или пониженных температур. Одним из наиболее энергоемких процессов является выпаривание, однако оно позволяет получить воду высокой степени чистоты и высококонцентрированный раствор с нелетучими загрязнителями. Также концентрирование примесей может осуществляться с помощью вымораживания, поскольку в первую очередь начинает кристаллизоваться чистая вода, и лишь затем оставшаяся ее часть с растворенными загрязнителями. Выпариванием, как и вымораживанием, можно проводить кристаллизацию – выделение примесей в виде выпадающих в осадок кристаллов из насыщенного раствора. В качестве экстремального метода используется термическое окисление, когда очищаемая вода распыляется и подвергается воздействию высокотемпературных продуктов сгорания топлива.

Биологические способы(методы) очистки воды

Как следует из названия, методы очистки данной группы основаны на использовании живых организмов. Несмотря на очевидность метода, биологическая очистка является наиболее передовым и перспективным направлением в очистке сточных вод. Для осуществления процесса обычно используются бактерии различных видов, но также это могут быть низшие грибы и водоросли, простейшие и даже некоторые многоклеточные, такие как красные черви и мотыль. Одной из особенностей биологического метода очистки является возможность подбора определенных живых организмов для оптимальной очистки сточных вод заданного химического состава. Так нитрофицирующие бактерии, такие как Nitrobacter и Nitrosomonas, способны окислять азотосодержащие соединения в процессе питания, а фосфат аккумулирующие организмы применяются для очистки воды от фосфора.

Скопление микроорганизмов, используемое при биологической очистке, называется активным илом. Он представляет собой темно-коричневую или черную жидкую массу с землистым запахом, которая при отстаивании образует оседающие хлопья. Благодаря этому активный ил может быть сравнительно легко отделен от воды после завершения процесса очистки. Сами микроорганизмы, как правило, находятся в активном иле не поодиночке, а в составе колоний, называемых зооглеи. В зависимости от состава очищаемой воды и условий проведения процесса очистки зооглеи могут иметь различную форму: шарообразную, древовидную и т.д.

В общем случае все используемые в биоочистке микроорганизмы можно разделить на две большие группы, определяющие характер проведения процесса: аэробные и анаэробные. Аэробные организмы потребляют кислород в процессе питания, необходимый им для окисления веществ. В свою очередь анаэробные организмы не нуждаются в кислороде. Для процесса очистки использование микроорганизмов того или иного типа определяет характер проведения процесса и необходимое для его осуществления оборудование.

Биологическая очистка может проводиться в следующих условиях:

  • биологические пруды;

  • поля фильтрации;

  • биофильтры;

  • аэротенки (окситенки);

  • метантенки.

В первых двух случаях используются крайне простые сооружения. Биологический пруд – это естественный или искусственный водоем с, как правило, естественной аэрацией, в котором обитают микроорганизмы активного ила. Поле фильтрации представляет собой участок почвы (песок, глина, суглинок или торф), через который осуществляют фильтрацию воды и ее очистку за счет содержащихся в почве микроорганизмов. Сооружения такого типа неспособны работать с сильнозагрязненными водами при большом расходе. В тоже время они почти не требуют эксплуатационных затрат и постоянного контроля со стороны человека.

Биофильтр – это сооружение, в котором очистка воды осуществляется путем фильтрации через слой загрузочного материала, покрытого слоем аэробных микроорганизмов, который также называется биопленкой. Для обеспечения достаточного количества кислорода, необходимого организмам для биоразложения загрязнителей, предусматривается воздухораспределительная система. Однако аэрация может осуществляться и естественным путем.

Аэротенк является более сложным очистным сооружением, в котором аэрация осуществляется искусственным образом. Как следует из описания, в нем проводится очистка аэробными микроорганизмами. Перед подачей в аэротенк вода предварительно смешивается с активным илом. Аэрация в аэротенке не только насыщает среду кислородом, стимулируя процессы биоразложения загрязнений, но и обеспечивает дополнительное перемешивание. Обычно для аэрации используется атмосферный воздух, но в случае окситенков вместо него используется технический кислород, что значительно увеличивает эффективность процесса.

Биологическая очистка сточных вод анаэробными организмами преимущественно проводится в метантенках. Отличительной особенностью такой очистки является отсутствие потребности в кислороде и получение биогаза в качестве продукта жизнедеятельности анаэробных бактерий. Также в метантенк обычно подается не сама вода, а выпадающий в отстойниках концентрированный осадок, который необходимо подвергнуть брожению. Для интенсификации процесса брожения в метантенке может быть предусмотрен дополнительный подогрев. При этом выделяют мезофильное сбраживание, проводимое при 30-35 °C, и термофильное сбраживание, проводимое при 50-55 °C. Сам процесс анаэробного разложения достаточно сложен и протекает в несколько стадий, а на завершающей стадии происходит образование метана, являющегося экологически чистым топливом.