Рис. 2.36 Кристаллическая ячейка пьезоэлектрика и пьезоэлектрический ЧЭ
Кристаллическая ячейка содержит атомы Si и кислорода O2. В ячейке можно выделить три оси: X – электрическая ось; Y – механическая ось; Z – оптическая ось.
В исходном состоянии без приложения механических напряжений (рисунок 2.36, а) ячейка электрически нейтральна.
Если вдоль оси X приложена внешняя сила Fx, кристаллическая решетка деформируется (рисунок 2.36, б), происходит перераспределение зарядов и на поверхностях А и Б кристалла появляются поляризационные заряды. Это явление называется продольным пьезоэффектом.
При положении силы Fy вдоль оси Y (рисунок 2.36, в) на поверхностях А и Б кристалла появляются поляризационные заряды противоположных знаков. Это явление называется поперечным пьезоэффектом
При приложении силы вдоль оси Z или гидростатическом сжатии кристалла поляризационные заряды не образуются.
Поляризационный заряд пропорционален силе, приложенной, например, вдоль оси X:
,
где d – коэффициент пропорциональности, пьезомодуль, Кл/Н.
Для сбора электрических зарядов к кристаллу прикрепляют электроды (рисунок 2.36, г). Такой ЧЭ напоминает конденсатор, в котором в качестве диэлектрика выступает сам кристалл – генератор зарядов. Напряжение на обкладках ЧЭ зависит от расстояния между ними и изменяется при любых вариациях последнего. Это обстоятельство позволяет использовать пьезоэлектрические ЧЭ в датчиках силы, давления, вибрации. Пьезоэлектрические ЧЭ являются знакочувствительными, т.е. знак заряда изменяется при замене сжатия на растяжение.
Однако пьезоэлектрический эффект не применим для стационарных и медленно изменяющихся внешних механических напряжений, поскольку вследствие ограниченной величины сопротивления изоляции ЧЭ заряд постепенно стекает с поверхностей А и Б кристалла.
Емкостные ЧЭ основаны на зависимости электрической емкости конденсатора от размеров, взаимного расположения его пластин и от диэлектрической проницаемости среды между ними. Емкость плоского конденсатора определяется по формуле:
,
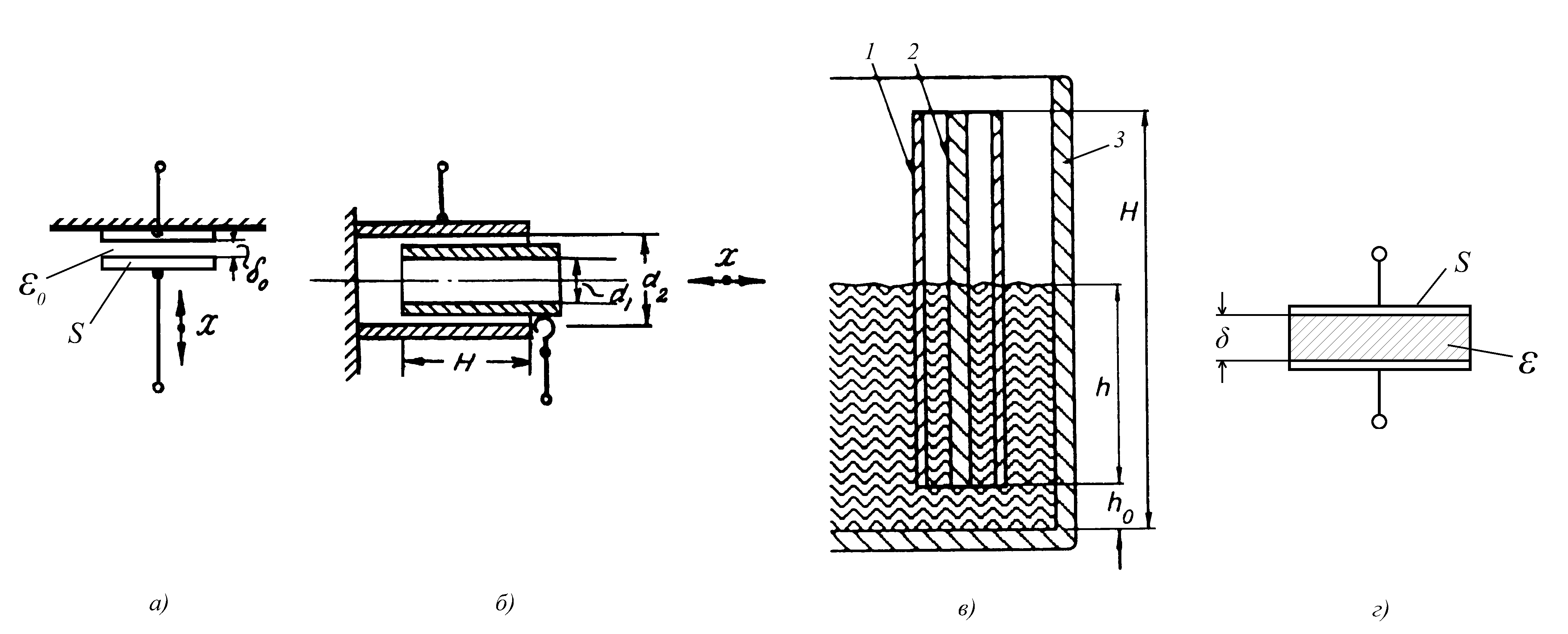
где E0 – диэлектрическая постоянная для конденсатора, пластины которого находятся в вакууме (практически в воздухе, S – площадь пластин, δ – расстояние между пластинами). На рисунке 2.37 изображены различные типы емкостных ЧЭ.
Рис
2.37. Емкостные ЧЭ
Емкостный ЧЭ на рисунке 2.37 (а) представляет собой плоский конденсатор с параллельными пластинами, одна из которых перемещается от внешнего воздействия Х. Такой ЧЭ используется для изготовления датчиков перемещения, давления, силы и т.д. Функция преобразования C = f(δ) нелинейна, гиперболическая.
Емкостный ЧЭ на рисунке 2.37 (б) представляет собой цилиндрический конденсатор, состоящий из двух коаксиальных цилиндров, а для вычисления емкости используется формула:
,
где H – длина зоны перекрытия двух цилиндров, d1, d2 - диаметры цилиндров. Функция преобразования C = f(H) линейна.
Емкостный ЧЭ на рисунке 2.37 (в) измеряет уровень h жидкости с относительной диэлектрической проницаемостью Е. Он изготовлен на основе коаксиального конденсатора, в котором поверхность каждого цилиндра 1 и 2 покрыта тонким слоем изоляционного материала для предотвращения короткого замыкания. ЧЭ размещается в резервуаре 3 с жидкостью. При увеличении уровня жидкость заполняет все больший объем между коаксиальными проводниками, изменяя при этом емкость, которая определяется по формуле:
,
где h – высота части ЧЭ, заполненной жидкостью.
На рисунке 2.37 (г) показан емкостный ЧЭ влажности, в котором диэлектрический слой между пластинами выполняется из гигроскопичного материала. Такой диэлектрик поглощает молекулы воды и в соответствии с их количеством меняет диэлектрическую проницаемость Е, что приводит к изменению емкости. По величине емкости определяют относительную влажность.
Таким образом, если какой-либо параметр конденсатора изменяется при определенном внешнем воздействии, то на его основе можно построить соответствующий емкостный ЧЭ.
Электрическое сопротивление металлов и большинства сплавов зависит от температуры, поэтому на их основе разработаны чувствительные элементы для измерения температуры. На рисунке 2.38 показан резистивный ЧЭ температуры.

Рис. 2.38. Резистивный ЧЭ температуры
Тонкая металлическая проволока или лента 1 наматывается на каркас 2 из керамики, слюды, кварца, стекла или пластмассы. Для изготовления резистивных ЧЭ применяют платину, медь или никель. Для большинства практических целей и в узких диапазонах изменения температуры можно считать зависимость сопротивления проволоки 1 от температуры линейной:
,
где Rt – сопротивление проволоки при температуре t, R0 – сопротивление при 0 °С, α – температурный коэффициент сопротивления (ТКС).
Резистивные ЧЭ выполняются также напылением металлического слоя на изолирующую подложку, обычно керамическую или стеклянную. Платина чаще всего применяется в термометрах сопротивления из-за её высокой стабильности и линейности изменения сопротивления с температурой. Платиновые ЧЭ используются для измерения температуры от -260 до +1100 °С. Медь используется, в основном, для измерения низких температур в диапазоне от -50 до +200 °С. Никель используется в недорогих датчиках для измерения в диапазоне от -50 до +250 °С, однако широко не применяется из-за нестабильной и нелинейной функции преобразования.
Резистивные ЧЭ, изготовленные из керамических полупроводников, называются термисторами. Термисторы имеют большое значение либо положительного, либо отрицательного ТКС и бывают в форме диска, трубки, шарика, пластины или тонкого слоя, нанесенного на керамическую подложку. Термисторы обладают нелинейной зависимостью сопротивления от температуры, что позволяет использовать их лишь в узком диапазоне температур. Высокая чувствительность, малые размеры, низкая стоимость позволяет использовать термисторы в различных датчиках для измерения температуры от -100 до +300 °С.
Для сравнения ни рисунке 2.39 приведены температурные зависимости сопротивления термистора и медного ЧЭ.

Рис. 2.39. Функция преобразования медного ЧЭ и термистора
Кривая 2 соответствует термистору, а кривая 1 – медному резистивному ЧЭ.
Термоэлектрический ЧЭ основан на термоэлектрическом эффекте и представляет собой цепь из двух разнородных проводников или полупроводников. На рисунке 2.40 представлена цепь, содержащая два разных проводника A и B.

Рис. 2.40. Схема термоэлектрического ЧЭ
Места соединений
проводников 1 и 2 называются спаями. Если
температуры спаев t и t0
не равны, то в цепи протекает ток. При
размыкании цепи на ее концах может быть
измерена термоЭДС. При небольшой разницы
температур t и t0
термоЭДС можно считать пропорциональной
разности температур:
,
где k - чувствительность
термопарного соединения. ТермоЭДС
зависит от природы проводников и
температуры спаев. В измерительной
технике термоэлектрические ЧЭ обычно
называют термопарами. Спай, погруженный
в объект измерения температуры, называют
рабочим спаем (концом), а спай вне объекта
называют свободным спаем (концом). Схема
измерения термоЭДС показана на рисунке
2.41.

Рис. 2.41. Схема включения измерительного прибора в цепь термоэлектрического ЧЭ
Рабочей спай 1 погружен в объект с температурой t, а два свободных спая 2 и 3 подключены проводом C к измерительному прибору 3. Температура свободных спаев t0. Измерение температуры t возможно лишь при достаточно точно известной температуре t0. Создаваемая термопарами ЭДС сравнительно невелика: она не превышает 8 мВ на каждые 100 °С и обычно превышает 70 мВ.
Несмотря на то, что любые два проводника создают в паре между собой термоЭДС, лишь ограниченное число термоэлектродов используется для создания термоэлектрических ЧЭ.
К материалам термоэлектродов предъявляется ряд требований: однозначная и близкая к линейной зависимость термоЭДС от температуры, жаростойкость и механическая прочность с целью измерения высоких температур; химическая инертность; термоэлектрическая однородность материала проводника по длине, что позволяет восстанавливать рабочий спай без переградуировки, а также менять глубину его погружения; технологичность изготовления с целью получения взаимозаменяемых по термоэлектрическим свойствам материалов: дешевизна и, наконец, наиболее существенное – стабильность и воспроизводимость термоэлектрических свойств, что позволяет создать стандартные градуировки. Ни один из существующих в настоящее время материалов не удовлетворяет полностью всем требованиям. Экспериментальным путем были подобраны пары металлов, которые в наибольшей степени подходят для измерения температуры, обладая высокой чувствительностью, временной стабильностью, устойчивостью к воздействию внешней среды. Это, например, пары металлов хромель-аллюмель, медь-константан, железо-константан, платина-платина/родий, рений- вольфрам. Каждый тип подходит для решения определенных задач. На рисунке 2.42 показаны термоЭДС для стандартных термопар в широком температурном диапазоне.

Рис. 2.42. Зависимость термоЭДС стандартных термопар от температуры
Тип Т: Сu и константан. Устойчивы к коррозии. При работе на воздухе в агрессивной среде используется до 370 °С из-за окисления медного элемента.
Тип J: Fe и константан. Работают в вакууме, в инертных, окислительных и восстановительных средах при температурах до 500 °С. При температурах свыше 540 0С начинается процесс окисления железного элемента.
Тип Е: Хромель и константан. Температурный диапазон -200..900 °С. Работают в окислительных и инертных средах.
Тип К: Хромель-аллюмель. Работают в окислительной и инертной средах в диапазоне -200..1300 °С. Наиболее распространенный тип благодаря высокой чувствительности и стабильности.
Тип R и S: Платина-платина/родий. Работают в окислительной, нейтральной средах и в вакууме.
Современные технологии позволяют изготавливать тонкопленочные термопары на основе соединения двух пленочных разновидных металлов толщиной порядка 5 мкм. Тонкая плоская термопара образует плотный тепловой контакт с поверхностью измеряемого объекта.
При использовании в интегрированных датчиках пары материалов наносят на поверхность полупроводниковых подложек. Поскольку кремний обладает высокой чувствительностью термопарного соединения, на его основе изготавливают высокочувствительные термоэлектрические ЧЭ.
Характеристики полупроводникового р-n перехода в диодах и биполярных транзисторах сильно зависит от температуры. Это свойство используется при изготовлении полупроводниковых ЧЭ на основе p-n перехода. На рисунке 2.43 показана схема ЧЭ на основе прямосмещенного p-n переходе транзистора.

Рис. 2.43. ЧЭ на основе прямосмещенного p-n перехода
Выходное напряжение U прямо пропорционально изменению от температуры транзистора (рисунок 2.44).

Рис. 2.44. Зависимость напряжения от температуры для прямосмещенного p-n перехода, снятая при постоянном токе
Например, для кремниевого перехода, работающего при токе 10 мкА, температурная чувствительность равна 2,3 мВ/°С. Для схемы на рисунке 2.43 рекомендуется работать при токе 100 мкА. Тогда при Е = 5 В и U ≈ 0,6 В сопротивление R = 44 кОм. Благодаря простоте и низкой стоимости транзисторные ЧЭ получили довольно широкое применение. Такие ЧЭ методом диффузии формируются на мембранах кремниевых датчиков давления для компенсации температурной зависимости пьезоэлектрических ЧЭ.
В качестве оптических ЧЭ используют пары светоизлучатель–светоприемник, которые обеспечивают возможность осуществления бесконечного метода измерения, основанного на поглощении, лучепреломлении и лучеотражении. На рисунке 2.45 показаны две схемы измерения, использующие оптические ЧЭ.

Рис. 2.45. Схемы оптических ЧЭ, работающих на просвет (а) и на отражение (б)
Луч света от источника 1, пройдя оптическую систему 2, направляется на диафрагму 3 и через нее на светоприемник 4. При этом сигнал светоприемника определяется падающим на него световым потоком, который в свою очередь зависит от размера отверстия диафрагмы.
Во второй схеме измерения (б) световой луч отражается от объекта измерения и в зависимости от отражательных свойств объекта изменяется сигнал, получаемый от светоприемника.
В качестве светоизлучателей используется лампы накаливания, светодиоды и лазеры. Рабочие характеристики светоизлучателей показаны на рисунке 2.46.

Рис. 2.46. Температурные (а) и временные (б) характеристики лампы накаливания (1) и светодиода (2) и диаграмма направленности светодиода (в)
К достоинствам ламп накаливания относятся сравнительно большая мощность излучения и стабильная температурная характеристика в широком диапазоне температур от -60 до 150 °С (а). Причем необходимый уровень выходного сигнала достигается уже при 50-процентной выходной мощности, что позволяет увеличивать ресурс работы ЧЭ путем снижения Uип. Так, для лампы с Uип = 6 В, имеющей срок службы 100 ч, при понижении Uип до 4 В ресурс возрастает до 10000 ч. Кроме того, высокая мощность излучения позволяет снизить требования к чувствительности и помехозащищенности светоприемников.
Применение ламп накаливания в фотоэлектрических датчиках положения позволяет непосредственно сформировать «линию считывания» и тем самым обойтись без щелевых диафрагм. Такое простое техническое решение вдвое увеличивает разрешающую способность датчика.
В последнее время в промышленных датчиках положения чаще всего используют излучающие полупроводниковые диоды – светодиоды. Ниже приведены основные параметры светодиодов:
Мощность излучения P, Вт до 1,0
Ширина спектральной характеристики S(λ)
на уровне 0,5 P / Pmax, нм до 50
Длина волны λ, соответствующая максимуму S(λ), мкм 0,4..1,2
Угол направленности Δθ, град 60..160
Направленность излучателя представляет собой свойство концентрации излучаемой мощности в относительно малом телесном угле. Диаграмма направленности (в) характеризует зависимость мощности излучения от угла θ. Угол θ обычно выбирают из условия P / Pmax ≥ 0,8.
По массогабаритным показателям – надежности, быстродействию и потребляемой мощности – светодиоды превосходят лампы накаливания. Их срок службы превышает 104 ч. Недостатки светодиодов связаны с малой мощностью излучения (несколько десятков мВт) и ее зависимостью от температуры.
В последнее время все большее распространение получают полупроводниковые лазерные диоды. Принцип действия лазера основан на способности некоторой активной среды под действием внешнего электромагнитного изучения определенной частоты формировать когерентное монохроматическое излучение с острой диаграммой направленности.
Большинство лазерных диодов излучает свет в ИК диапазоне с длиной волны 0.78..0,63 мкм. Их выходная мощность достигает 0,5 Вт при долговечности более 105 часов.
| 00539 |
| 02.03 |
| 0501 Конунников ЛР1-1 |
| 10Лекция 10 |
| 1136 |
| 1304 |
| 131 |
| 1362 |
| 15.02.16 1 пара |
| 1741 |