Общие сведения о датчиках
Датчик – это устройство, воспринимающее внешнее воздействие (измеряемую величину). Выдает эквивалентный электрический сигнал (заряд, ток, напряжение и т.д.), являющийся функцией этой измеряемой величины y = f(x), где x – входная, измеряемая величина (поток света, температура, давление, колебания, перемещение, положение, форма, размер, скорость, концентрация, химический состав и т.п.); y – выходной сигнал датчика.
В состав датчика могут входить функциональные узлы: чувствительный элемент, непосредственно воспринимающий измеряемую величину и преобразующий её в электрический сигнал; преобразователи, осуществляющие преобразование энергии (усиление, детектирование, фильтрация, АЦП-преобразование). Количество необходимых промежуточных этапов преобразований определяется интерфейсными возможностями и точностью датчика.
Для датчиков с линейной функцией преобразования y = f(x) используют коэффициент преобразования:
,
где xi и yi – текущие значения x и y.
Важнейшей характеристикой датчика является чувствительность S = dy/dx.
Для датчиков с линейной функцией преобразования S = K. В общем случае чувствительность зависит от внешних факторов: напряжения питания, температуры, частоты измеряемого входного воздействия x.
Датчики с нелинейной функцией преобразования можно считать линейными внутри ограниченного диапазона значений x.
На практике линейность датчика определяют по его градуировочной характеристике, которую снимают экспериментальным путем.
Быстродействие датчика определяется свойствами его структурных элементов и преобразователей и показывает, как выходной сигнал y следует во времени за изменением измеряемой величины x. Производители датчиков используют частотные характеристики, показывающие, насколько быстро датчик может среагировать на изменение внешнего воздействия. Амплитудно-частотная характеристика (АЧХ) показана на рисунке 2.20.

Рис. 2.20. АЧХ и ФЧХ датчика первого порядка
Датчики первого порядка в своей структуре на содержат колеблющихся частей. S(0) и S(f) – соответственно статическая и динамическая чувствительности; f и fr – соответственно частота входного сигнала и граничная частота. Граничная частота fr показывает, что на этой частоте происходит 30%-ое уменьшение выходного сигнала y. Частота fr считается предельной частотой работы датчика.
Точность – важная
характеристика датчика, оценивается
через отклонение результата измерения
y от истинного yn
значения измеряемого параметра:
.
На практике часто используют термин погрешность измерений датчика, понимая под этим величину максимального расхождения между показаниями реального и идеального датчиков.
По способу выражения погрешности подразделяются на абсолютные, относительные и приведенные.
Абсолютная
погрешность датчика:
,
где yном – номинальное
значение измеряемого параметра, y
– показание датчика.
Относительная
погрешность:
![]()
Приведенная
погрешность:
,
где
-
максимальная абсолютная погрешность,
ylim –
верхний предел диапазона измерений.
По связи с функцией преобразования погрешности подразделяются на аддитивные и мультипликативные.
Аддитивная (погрешность нуля) – составляющая полной погрешности датчика, не зависящая от измеряемой величины x. Функция преобразования показана на рисунке 2.21 (а).
Мультипликативная (погрешность чувствительности) – составляющая полной погрешности, абсолютная величина которой пропорциональна измеряемой величине x. Функция преобразования показана на рисунке 2.21 (б).

Рис. 2.21. Аддитивная (а) и мультипликативная (б) погрешности датчика
Δ0y – аддитивная погрешность, показывающая величину смещения реальной характеристики относительно номинальной y = fном(x).
Δyi – мультипликативная погрешность пропорциональна текущему значению xi.
По характеру проявления погрешности подразделяются на систематические, случайные и прогрессирующие. На рисунке 2.22 показаны все три погрешности, которые в реальной действительности проявляются совместно.

Рис. 2.22. График результатов наблюдений
Систематическая погрешность не изменяется с течением времени и может быть устранена введением поправок на весь срок службы.
Случайная погрешность не может быть предсказана, но легко обнаруживается при повторных измерениях в виде некоторого разброса результатов.
Прогрессирующая погрешность медленно изменяется в течении времени из-за старения элементов датчика. Они могут быть скорректированы введением поправки в данный момент времени.
По способу оценки погрешности подразделяются на основные и дополнительные.
Основной погрешностью называется составляющая полной погрешности датчика, которая определяется в нормальных условиях его функционирования, которые указаны в технических условиях.
В реальных условиях датчик работает при значительных колебаниях предельных значений факторов окружающей среды (температура, влажность, вибрации, ионизирующая радиация, электромагнитные поля, гравитационные силы). Изменения показаний датчика при отклонении условий эксплуатации от нормальных называются дополнительными погрешностями. В паспорте на датчик могут быть указаны граничные значения влияющих факторов.
В метрологии рассматривают несколько десятков различных погрешностей. Ограничимся вышерассмотренными, которые учитывают специфику функционирования датчиков в машиностроительных производствах.
В стремлении к созданию более точных датчиков разработаны методы повышения точности:
Стабилизация важнейших параметров путем использования стабильных деталей, материалов, соответствующих технологий изготовления и сборки;
Пассивная защита путем теплоизоляции, амортизации, фильтрации и т.п.;
Активная защита путем стабилизации медленно изменяющихся факторов окружающей среды;
Коррекция систематических и прогрессирующих погрешностей и статистическая обработка случайных погрешностей.
К главным параметрам датчика кроме точности относится надежность. Если датчик работает в измерительной системе, управляющей объектом повышенной опасности для экологии и человека, то надежность становится определяющим параметром.
Надежность – это способность датчика выполнять требуемые функции при соблюдении определенных условий в течение заданного промежутка времени. Надежность устанавливает время до выхода датчика из строя. Для определения надежности датчиков их подвергают квалификационным испытаниям, которые проводятся в наихудших условиях.
Для возможного применения в различных областях важными являются точность, надежность, стоимость, конструкция, вес, габариты.
Чувствительные элементы датчиков
Основой любого датчика является чувствительный элемент, преобразующий неэлектрические внешние воздействия в электрические сигналы. В основе этих преобразований лежат законы физики. Среди чувствительных элементов, используемых в датчиках, остановимся лишь на тех, которые используются в системах контроля и управления в машиностроительных производствах.
В соответствии с физическим принципом, положенным в основу преобразования информации, различают следующие основные типы чувствительных элементов:
резистивные;
электромагнитные;
гальваномагнитные;
пьезоэлектрические;
емкостные:
тепловые:
оптические.
Чувствительные элементы делятся на пассивные (параметрические) и активные (генераторные).
Пассивные при воздействии внешних неэлектрических сигналов не могут самостоятельно на выходе создавать электрический сигнал. Такие чувствительные элементы меняют свои характеристики (параметры), например сопротивление, индуктивность, емкость. Поэтому для своей работы требуют внешней энергии.
Активные чувствительные элементы в отличие от пассивных не нуждаются в дополнительном источнике энергии и в ответ на внешние воздействия генерируют электрический сигнал (ток, напряжение, заряд).
Резистивные ЧЭ относятся к пассивным и преобразуют внешние воздействия в изменение сопротивления, определяемого по формуле:
,
где ρ, l, S – удельное электросопротивление, длина и сечение проводника соответственно.
Удельное сопротивление ρ зависит от изменения температуры:
,
где ρ0 – удельное сопротивление при эталонной температуре (обычно 25 ˚C).
Для построения резистивных датчиков температуры используются термисторы, платиновые и медные чувствительные элементы.
При механическом напряжении металлической нити ее сопротивление изменяется, т.к. при удлинении нити её площадь поперечного сечения уменьшается при постоянном объеме. Это свойство называется тензоэффектом.
Отношение
называется тензочувствительностью,
которая показывает, насколько относительное
изменение сопротивления превосходит
его относительную деформацию.
Использование тензоэлементов в датчиках основано на законе Гука:
,
где σ, Е – напряжение и модуль Юнга соответственно.
После преобразования получим:
,
где К – постоянный коэффициент.
Удельное сопротивление резисторов, выполненных из гигроскопичных материалов, зависит от количества влаги, поглощаемой им. Такие резисторы называют гигристорами и они используются в датчиках влажности.
При попадании на поверхность материала света изменяется удельное сопротивление материала. Это свойство называется фотоэффектом. Явление фотоэффекта используется в фоторезисторах, используемых в оптических датчиках.
Чувствительные элементы подразделяются на реостатные с большим изменением сопротивления и тензорезисторы с малым изменением сопротивления.
Реостатные ЧЭ преобразуют перемещение датчика, связанного с измеряемым объектом, в сопротивление R. Схема реостатного ЧЭ показана на рисунке 2.23.

Рис. 2.23. Реостатный проволочный ЧЭ с переменной высотой каркаса
На каркас 1 из изоляционного материала намотана с равномерным шагом проволока 2. Изоляция проволоки на верхней грани каркаса зачищается, и по металлу проволоки скользит щетка 3. Добавочная щетка 5 скользит по токосъемному кольцу 4. Обе щетки изолированы от приводного валика 6.
Реостатные преобразователи выполняются как с проводом, намотанным на каркас, так и реохордного типа. Чаще всего применяют провода из манганина, константана или фехраля. В очень ответственных случаях, когда требования к износостойкости контактной поверхности особенно высоки или когда контактные давления очень малы, применяют провод из сплава платины с иридием (90% Pt + 10% Ir). Добавка иридия к платине увеличивает твердость и прочность последней, повышает кислотоупорность, антикоррозийность и износостойкость. Удельное сопротивление этого сплава равно ρ = 0,23 мкОм·м. Платиноиридиевый провод выпускается весь малых диаметров (до 0,03 мм), что позволяет выполнять высокоомные (до нескольких тысяч омов) преобразователи массой всего 10-12 г и габаритов порядка 1 х 2 см. Хорошими параметрами обладают также преобразователи из проводов, изготовленных из сплавов платины с палладием, рубидием, рутением, осмием.
Провод реостата должен быть покрыт либо эмалью, либо слоем окислов, изолирующих соседние витки друг от друга.
Движок (щетка) выполняется либо из 2-3 проволок, изготовленных из сплава платины с иридием или из платины с бериллием, либо в виде пластинчатых щеток из серебра или фосфористой бронзы. В случае проволочных щеток контактное усилие должно быть порядка 0,003–0,005 Н, а в случае пластинчатых 0,05–0,1 Н. Контактная поверхность намотанного провода полируется, ширина контактной поверхности движка должна быть равна двум-трем диаметрам провода.
При работе реостатного преобразователя в условиях вибраций применяют щетки из проволок различной длины (от точки крепления до точки контактов) или из пластин с двумя-тремя надрезами. Этим обеспечивается разная собственная частота вибраций отдельных частей щетки.
Каркас реостатного преобразователя обычно выполняется из текстолита или пластмассы, применяются также каркасы из алюминия, покрытого или изоляционным лаком, или оксидной пленкой толщиной до 10 мкм, обладающей достаточно хорошими изоляционными свойствами. Алюминиевый каркас, сохраняя стабильность геометрических размеров, позволяет также за счет лучшей теплопроводности повысить плотность тока в обмотке и, следовательно, увеличить чувствительность преобразователя. Формы каркасов очень разнообразны: они могут быть в виде плоской или цилиндрической пластины, плоского или цилиндрического кольца, плоского сегмента и т.д.
Индуктивное и емкостное сопротивления реостатных преобразователей весьма малы, и их можно не принимать во внимание до частот порядка нескольких десятков тысяч герц.
В ряде случаев применяются функциональные реостатные преобразователи с нелинейным распределением сопротивления вдоль каркаса. Последнее достигается, например, изменением высоты каркаса, шунтированием части линейного реостата постоянными сопротивлениями, применением намотки с переменными шагом, намотки отдельных участков каркаса проводами разного диаметра или проводами с разными удельными сопротивлениями.
При работе реостатного ЧЭ возникает контактный шум, вызванный нестабильностью контактного сопротивления, который растет вследствие износа, загрязнения и окисления дорожки и щетки.
Реостатные ЧЭ характеризуются сопротивлением R = 0,2 ÷ 0220 кОм, мощностью P = 0,5 ÷ 0,2 Вт, погрешностью δ = (0,01 ÷ 0,3) %.
Применяются реостатные ЧЭ в датчиках положения и перемещения.
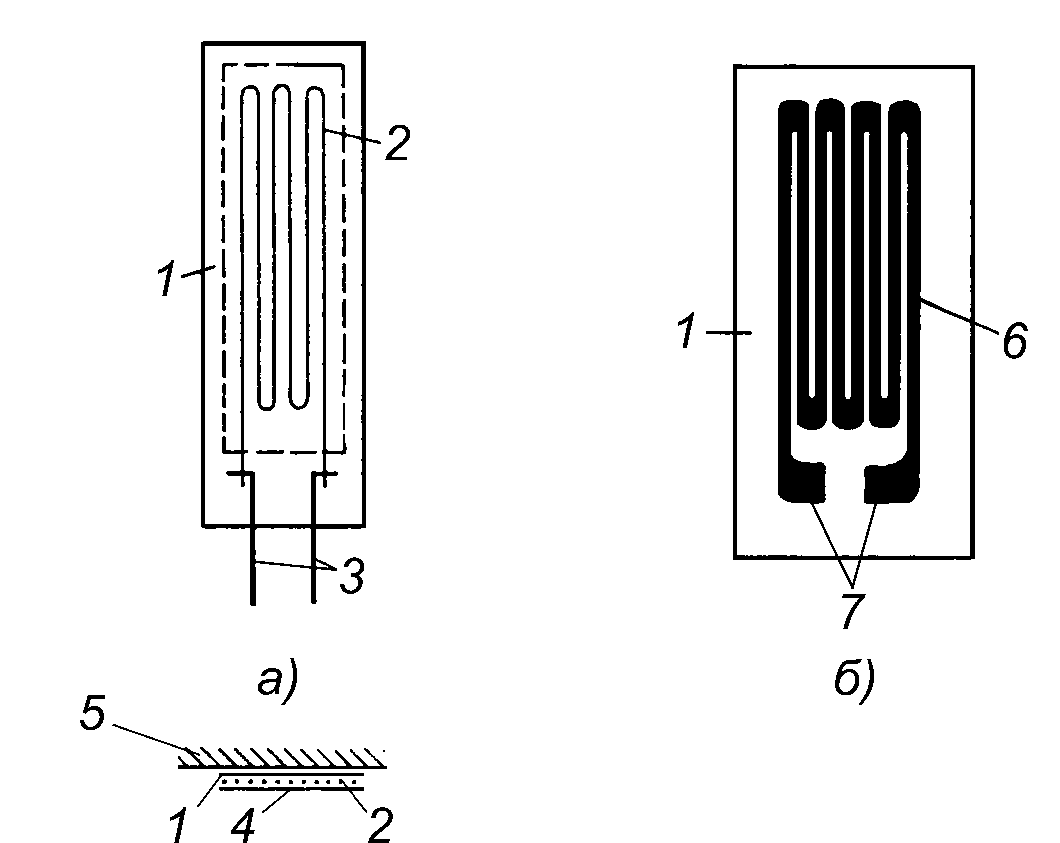
Тензорезисторы преобразуют механическую деформацию в малое изменение сопротивления. Внешний вид тензорезисторов показан на рисунке 2.24.

Рис. 2.24. Проволочный и фольговый тензорезисторы
На тонкую бумагу или пленку 1 наклеивается тензочувствительная проволока диаметром около 0,025 мм. К концам проволоки присоединяются выводные проводники 3. Сверху наносят слой лака 4.
Такой тензорезистор, будучи прикрепленным к тензодетали 5, воспринимает деформации её поверхностного слоя.
Разновидность тензорезисторов – фольговые – представляют собой травленую фольгу толщиной 0,005-0,025 мм с выводами 7.
Применяются также пленочные и полупроводниковые тензорезисторы. При изготовлении фольговых и пленочных тензорезисторов можно предусмотреть любой рисунок. Наилучшими эксплуатационными характеристиками обладают фольговые тензорезисторы, имеющие малую поперечную чувствительность и хорошую температурную стабильность. Полупроводниковые тензорезисторы при очень большой тензочувствительности (около 100) обладают нелинейной функцией преобразования и высокой температурной чувствительностью.
Сравнительная характеристика тензорезисторных ЧЭ дана в таблице 2.2.
| 00539 |
| 02.03 |
| 0501 Конунников ЛР1-1 |
| 10Лекция 10 |
| 1136 |
| 1304 |
| 131 |
| 1362 |
| 15.02.16 1 пара |
| 1741 |