|
Модель |
Тип |
Относитель-ная дефор-мация Δl/l в % |
Тензо- чувстви-тельность S |
Рабочий ток I, мА |
Размеры, мм |
|
|
Длина |
Ширина |
|||||
|
КТД-2А (Россия) |
Полупроводниковый |
0,1 |
100 |
10 |
2 |
0,7 |
|
КТЭ-7Б (Россия) |
>> |
0,1 |
100 |
10 |
7 |
0,7 |
|
КФ-5, ФКПА (Россия) |
Фольговый |
0,2 |
3 |
30 |
11 |
5 |
|
LG11 0,6/120 (Германия) |
>> |
0,5 |
2 |
12 |
5 |
3 |
|
Вт 356 (Россия) |
Проволочный |
0,6 |
2 |
50 |
15 |
10 |
Широкое применение тензорезисторов объясняется малой массой и размерами, простотой изготовления и низкой стоимостью, линейностью преобразования, практической безынерционностью.
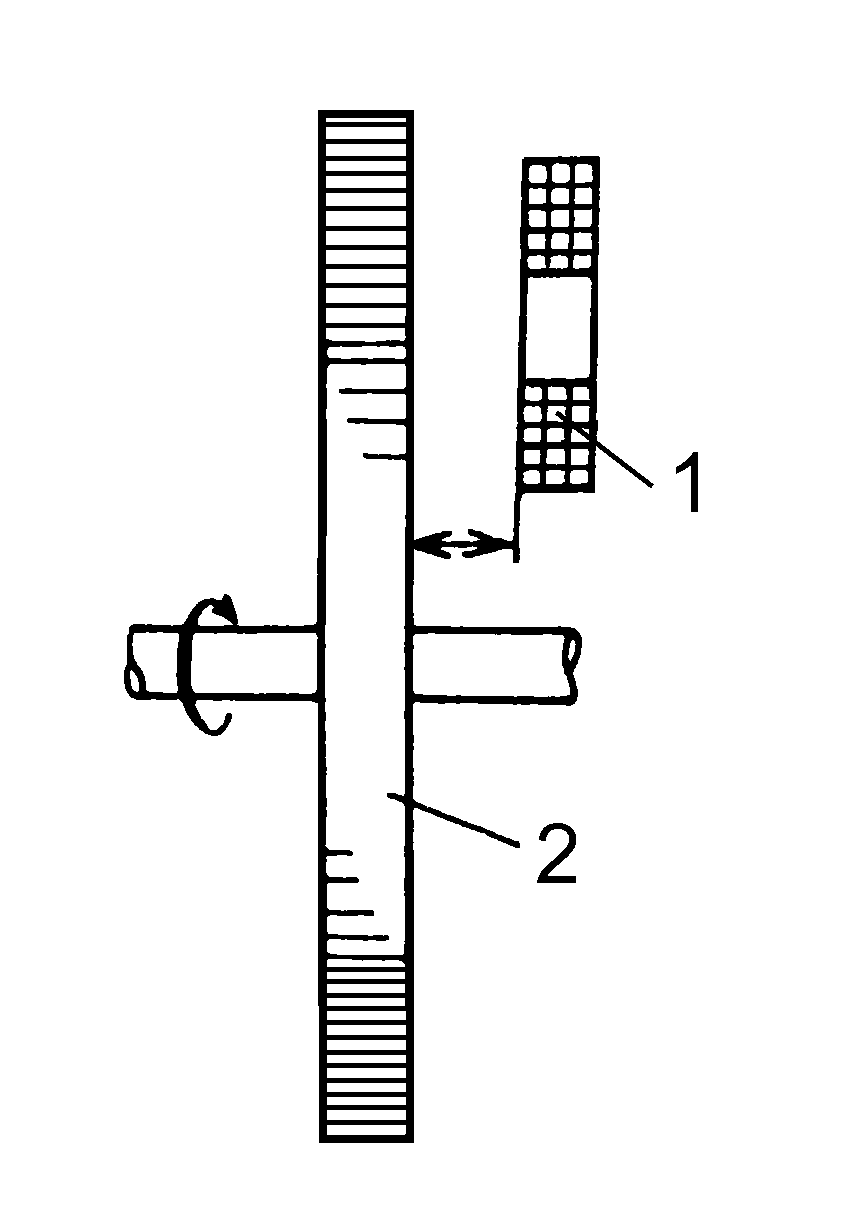
Гигристоры преобразуют изменение влажности в изменение сопротивления. Внешний вид гигристора и его функция преобразования показаны на рисунке 2.25.

Рис. 2.25. Гигристор для датчиков влажности
Типовой гигристор состоит из подложки, на которую методом трафаретной печати нанесены два встречно-штыревых электрода, покрытые гигроскопичным электропроводным полупроводниковым гелем. Гель, как правило, состоит из гидроксиэтилцеллюлозы, нонилфенилполиэтиленгликольэфира и других органических веществ с не менее экзотичными названиями с добавлениями углеродного порошка. Этот гель тщательно перемешивается до образования однородной массы. Другой тип гигристоров изготавливается из пленки хлорида лития (LiCl) и связующего вещества. Подложка погружается в гель с контролируемой скоростью до тех пор, пока не заполнит всё пространство между электродами. Подложка с нанесенным покрытием подвергается термоотверждению, проводимому при определенной температуре и влажности.
Зависимость сопротивления гигристора от влажности имеет нелинейный характер.
Общим для всех электромагнитных ЧЭ является наличие катушки и магнитопровода. Схема простого дроссельного электромагнитного ЧЭ приведена на рисунке 2.26.

Рис. 2.26. Электромагнитный ЧЭ
Магнитная цепь ЧЭ с катушкой 2 содержит ферромагнитную часть, включающую магнитопровод 1 и подвижный сердечник 3, и воздушный зазор. Индуктивность катушки 2 определяется формулой
,
где N – число витков в катушке 2, ZM – магнитное сопротивление.
,
где RM – активная составляющая магнитного сопротивления, XM – реактивная составляющая магнитного сопротивления.
,
где lM и l0 – длина силовых линий в магнитопроводе и воздухе соответственно, SM и S0 – площадь поперечного сечения магнитопровода и воздушного зазора соответственно, μ0 – магнитная проницаемость воздушного зазора, μ – относительная магнитная проницаемость магнитопровода.
,
где P – потери в магнитопроводе на частоте ω, обусловленные вихревыми токами и гистерезисом, Ф – магнитный поток в магнитопроводе.
Из приведенных формул следует, что индуктивность можно изменять, воздействуя на длину l0 или площадь поперечного сечения S0 воздушного участка 4 магнитной цепи, а также на магнитную проницаемость μ или на потери в магнитопроводе.
Простой дроссельный ЧЭ на рисунке 2.26 характеризуется изменением индуктивности ΔL катушки при перемещении ΔX подвижного сердечника 3 или повороте Δα подвижного сердечника 3 относительно неподвижного магнитопровода 1. Однако функция преобразования такого ЧЭ нелинейна, близка к гиперболической. Существенное уменьшение нелинейности достигается при дифференциальном включении двух одинаковых катушек, изображенных на рисунке 2.27, при котором перемещение сердечника 3 вызывает увеличение индуктивности одной катушки и уменьшение индуктивности в другой.

Рис. 2.27. Дифференциальная дроссельная система ЧЭ
Дифференциальный дроссельный ЧЭ отличается вдвое большей чувствительностью и уменьшением нелинейности функции преобразования.
Для электромагнитного дроссельного ЧЭ типичные значения на частоте 5 кГц: индуктивности L ≈ 5 мГн, реактивного сопротивления XM ≈ 150 Ом, активного сопротивления RM ≈ 20÷200 Ом. Рабочее перемещение ΔX ≈ 0,01÷10 мм.
Чувствительные элементы, преобразующие перемещение ΔX подвижного сердечника 3 в изменение индуктивности ΔL, называют индуктивными.
Индуктивный ЧЭ с подвижным ферромагнитным сердечником плунжерного типа изображен на рисунке 2.28.

Рис. 2.28. Дифференциальный ЧЭ плунжерного типа
Катушки 2 и 3 размещены на пластмассовом каркасе 4. Внутри катушек 2 и 3, включенных дифференциально (встречно), перемещаются плунжер 1 из ферромагнитного материала. Перемещение ΔX плунжера вызывает изменение индуктивностей катушек. Данный ЧЭ имеет разомкнутую магнитную цепь, поэтому его чувствительность ниже по сравнению с дроссельным. Кроме того, между катушками 2 и 3 имеет место взаимная индуктивность, что также влияет на чувствительность. Взаимную связь катушек можно существенно уменьшить, располагая катушки на Е-образном ферромагнитном магнитопроводе. Основное преимущество ЧЭ плунжерного типа состоит в возможности измерения перемещений ΔX до нескольких десятков мм.
На рисунке 2.29 показан ЧЭ токовихревого типа, в котором изменение индуктивности катушки происходит вследствие изменения расстояния от нее до проводящего тела.

Рис. 2.29. Токовихревой ЧЭ
Измерение расстояния Х между быстровращающимся диском 2 из немагнитного материала и катушкой 1, питаемой переменным током, основано на использовании размагничивающего влияния вихревых токов, генерируемых магнитным потоком катушки в диске 2, на величину индуктивностей катушки. Токовихревые ЧЭ используются при построении датчиков для бесконтактного контроля линейных размеров, толщины покрытий, обнаружения трений, царапин и других дефектов. При этом важно, что магнитное поле проникает через немагнитные материалы до измеряемого объекта.
Работа магнитоупругого ЧЭ, показанного на рисунке 2.30, основана на изменении магнитной проницаемости μ ферромагнитного магнитопровода в зависимости от возникающего в нем механического напряжения.

Рис. 2.30. Магнитоупругий ЧЭ для измерения силы F
Магнитопровод 1 из магнитострикционного материала образует замкнутую цепь. Катушка 2 размещена в окне магнитопровода. Катушка питается переменным током, величина которого выбирается из условия обеспечения заданной магнитной проницаемости μ. Воздействие механического напряжения на петлю гистерезиса магнитопровода, выполненного из материала с отрицательной магнитострикцией (никель), показана на рисунке 2.31.

Рис. 2.31. Части гистерезисных петель для механически нагруженного никеля
Кривые показывают, что при возрастании напряжения σ уменьшается остаточная индукция B, а следовательно и μ. Изменение магнитной проницаемости Δμ/μ для различных материалов составляет 0,5÷3 %. При этом индуктивность L = N2 / RM = N2 · S/l · μ = K · μ, т.е. пропорциональна μ. Магнитоупругие ЧЭ используются при изготовлении датчиков для измерения силовых факторов и обеспечивают большую мощность выходного сигнала.
Как отмечалось ранее при рассмотрении дифференциального ЧЭ плунжерного типа с двумя катушками (рисунок 2.28), между катушками имеет место взаимная индуктивность, которая может быть выражена формулой:
,
где N1 и N2 – число витков катушек.
Чувствительные элементы, преобразующие измеряемую величину X в уменьшение взаимоиндуктивности M, принято называть трансформаторными. Схема трансформаторного ЧЭ показана на рисунке 2.32.

Рис. 2.32. Схема дифференциального трансформаторного ЧЭ плунжерного типа
Катушки размещены в ферромагнитном цилиндре 1 (магнитный экран). Вторичные обмотки включены встречно для того, чтобы получить нулевой сигнал на выходе при ΔX = 0. Плунжер 2 обеспечивает связь катушек через магнитный поток, который создается первичной обмоткой (катушкой). Величина взаимной индуктивности определяется величиной ΔX перемещения плунжера 2 (ферритовый сердечник). При нейтральном (симметричном) положении плунжера 2 (ΔX = 0) напряжение на выходе равно нулю. Смещение ΔX плунжера относительно нейтрального положения приводит к появлению выходного сигнала.
Закон электромагнитной индукции Фарадея лежит в основе функционирования индукционных ЧЭ и констатирует, что ЭДС, индуцированная в катушке, имеющей N витков, равна
,
где Ф – магнитный поток, сцепленный в катушке. Формула показывает, что напряжение e может быть получено либо за счет движения источника магнитного поля (магнит, катушка), либо изменением тока в катушке, либо изменением ориентации источника магнитного поля по отношению к катушке. На рисунке 2.33 показан индукционный ЧЭ, где напряжение e получается за счет движения катушки.

Рис. 2.33. Индукционный ЧЭ генераторного типа
Цилиндрическая катушка 1 перемещается в кольцевом зазоре магнитопровода 2. Цилиндрический постоянный магнит 3 создает в кольцевом зазоре постоянное радиальное магнитное поле. Катушка при перемещении пересекает линии магнитного поля, и в ней возникает напряжение, пропорциональное скорости перемещения. Индукционные ЧЭ используются при изготовлении датчиков скорости линейных и угловых перемещений и ускорений (виброметры, акселерометры).
Гальваномагнитные эффекты – Холла и магнитно-резистивный – имеют широкие возможности применения для обнаружения магнитных полей и определения положения и перемещения объектов.
Эффектом Холла называется явление, связанное с возникновение поперечной разности потенциалов в пластине, помещенное в магнитное поле, если в продольном направлении этой пластины протекает электрический ток. Схема Холловского ЧЭ приведена на рисунке 2.34.

Рис. 2.34. Пластина Холла
Внешнее магнитное поле имеет магнитную индукцию B, в продольном направлении пластины протекает ток I, на боковые стороны пластины нанесены электроды, с которых снимают напряжение Холла Uх. При движении электронов q внутри пластины, помещенное в магнитное поле В, возникает отклоняющая сила F, смещающая электроны к краю пластины. При этом одна из сторон становится более отрицательно заряженной, чем другая. Поэтому возникает поперечная разность потенциалов – напряжение Холла, знак и амплитуда Uх зависят как от величины, так и от направления магнитного и электрического полей:
![]()
где RX – эффективная толщина полупроводникового слоя, I – ток, B · sinα – составляющая индукции внешнего магнитного поля, перпендикулярная плоскости пластины. Самым распространенными материалами для изготовления пластины Холла являются полупроводниковые структуры на базе GaAs, InAs, InSb и др. Для них Rx ≈ 105 см3/Кл. Если I = const, α = const, то
ΔUx = Sx·ΔB,
где Sx = Rx · I / h – чувствительность элемента Холла.
Возникновение Ux является малоинерционным процессом, поэтому в диапазоне средних и высоких частот ЧЭ Холла можно считать практически безынерционным.
В зависимости от кристаллической структуры материала пластины заряды могут быть отрицательными, либо положительными, что определяет полярность Ux.
Магнитно-резистивный эффект – изменение сопротивление полупроводника или металла в магнитном поле. Схема пермаллоевого ЧЭ приведена на рисунке 2.35

Рис. 2.35. Пермаллоевый ЧЭ
Пермаллоевая пленка изменяет свое сопротивление в зависимости от взаимной ориентации тока I и внешнего магнитного поля B. Магнитное поле B поворачивает вектор намагниченности M пленки на угол β. При этом сопротивление пленки R = R0 + ΔR · cos2β,
где R0 – исходное сопротивление пленки при отсутствии магнитного поля, ΔR – приращение сопротивления пленки при действии внешнего магнитного поля.
Чувствительность пермаллоевых ЧЭ примерно в 200 раз выше чувствительности ЧЭ Холла.
Пьезоэлектрические чувствительные элементы
Пьезоэлектрические ЧЭ генераторного типа основаны на использовании прямого пьезоэлектрического эффекта, заключающегося в появлении электрических зарядов на поверхности некоторых кристаллов под влиянием механических напряжений. Пьезоэлектрическими свойствами обладают кварц, сегнетова соль, турмалин, ниобат лития, пьезокерамики: титанат бария, титанат свинца, цирконат свинца и др.
Физическая природа пьезоэффекта показана на рисунке 2.36 на примере кварца.

| 00539 |
| 02.03 |
| 0501 Конунников ЛР1-1 |
| 10Лекция 10 |
| 1136 |
| 1304 |
| 131 |
| 1362 |
| 15.02.16 1 пара |
| 1741 |