Материал: Д6887 Новоселов АГ Процессы и аппараты пищ производств Ч1

Внимание! Если размещение файла нарушает Ваши авторские права, то обязательно сообщите нам

Рис. 2.32. Барботажный скруббер:

1 – корпус; 2 – перфорированная тарелка; 3 – штуцер; 4 – регулируемый порог; 5 – патрубок; 6 – патрубок для слива суспензии

Степень очистки для частиц свыше 10 мкм может быть доведена до 95–99 %, а для частиц меньшего диаметра степень очистки ниже. Расход промывной жидкости составляет 0,1–0,3 л/м3. Высота слоя пены изменяется в диапазоне 60–200 мм. В целях повышения степени очистки в аппарате можно устанавливать последовательно несколько тарелок.

2.7. Осаждение под действием электрического поля

Если взвешенные в газе твердые или жидкие частицы невозможно выделить из потока другими способами, применяется осаждение в поле действия электрических сил. В этом случае частицам небольших размеров (d >> 0,005 мкм) удается сообщить значительный электрический заряд, что обеспечивает высокую степень очистки = 95 99 % [4]. Питание электрофильтров осуществляется постоянным электрическим током высокого напряжения

(U = 35 75 кВ).

56

Физическая сущность процесса электроосаждения заключается в том, что газовый поток, содержащий взвешенные частицы, ионизируется самостоятельным электрическим разрядом, при этом выделяемые частицы приобретают электрический заряд. При прохождении ионизированного газового потока в электрическом поле между двумя электродами выделяемые частицы, заряженные отрицательно, перемещаются к положительно заряженному электроду (аноду) и оседают на нем.

Для исключения ионизации всего газа между электродами (пробой промежутка и короткое замыкание) конструкция электрофильтров должна обеспечивать создание неоднородного электрического поля, когда коронный разряд или свечение слоя газа происходит только вблизи отрицательного электрода (катода). При этом остальная часть межэлектродного пространства остается изолятором. Такая неоднородность электрического поля достигается тем, что катод выполняется в виде стержней диаметром около 10 мм (рис. 2.33 и 2.34).

1

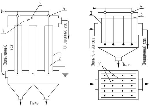
Рис. 2.33. Трубчатый электрофильтр:

Рис. 2.34. Пластинчатый

1 – осадительный электрод

электрофильтр:

(трубчатый); 2 – коронирующий

1 – коронирующий электрод;

электрод; 3 – рама; 4 – изоляторы;

2 – осадительные (пластинчатые)

5 – встряхивающее приспособление

электроды; 3 – рама; 4 – изоляторы

57

В зависимости от формы анода электрофильтры делятся на пластинчатые и трубчатые.

Запыленный газ (см. рис. 2.33) поступает в нижнюю часть аппарата и распределяется по трубчатым электродам 1 (аноды), внутри которых расположены коронирующие электроды 2 (катоды) в виде стержней. Катоды подвешены на общей раме 3, которая опирается на изоляторы 4. Твердые частицы, которые осаждаются на аноде, периодически стряхиваются ударным приспособлением 5 и удаляются из нижней части аппарата.

Аналогично трубчатому электрофильтру работает пластинчатый электрофильтр (см. рис. 2.34). В этом аппарате катодами 1 также являются стержни, а анод выполнен из металлической сетки в виде пластин 2.

2.8.Очистка газов в псевдоожиженном слое

2.8.1.Сущность принципа псевдоожижения

В настоящее время для интенсификации процессов тепло- и массообмена, процессов смешения, агломерации и других в различных отраслях промышленности используют аппараты с псевдоожиженным слоем (ПС) зернистого материала (взвешенный, кипящий слой). В последнее время аппараты с псевдоожиженным слоем начали использоваться и для очистки газов.

Если через неподвижный слой материала, лежащего на решетке, пропускать снизу вверх поток ожижающего агента (рис. 2.35) (жидкость или газ), то состояние слоя будет определяться скоростью потока

w = V / fa,

где V – объемный расход ожижающего агента, м3/с; fа – площадь поперечного сечения аппарата, м2.

При скоростях потока ниже критической wкрI (скорость начала

псевдоожижения) слой остается неподвижным (НС) и ожижающий агент движется через слой в режиме фильтрации. При достиже-

нии wкрI слой становится псевдоожиженным, при этом твердые части-

58

цы в нем начинают перемещаться. Дальнейшее увеличение скорости приводит к увеличению высоты слоя H (слой расширяется). При

достижении второй критической скорости wкрII (скорость уноса) слой

разрушается, а частицы в режиме пневмотранспорта уносятся из аппарата.

а

б

в

 

 

 

 

 

 

Рис. 2.35. Изменение структуры слоя в зависимости от скорости ожидающего агента:

а– неподвижный слой; б – псевдоожиженный слой;

в– унос частиц из аппарата

Расширение ПС характеризуется порозностью слоя , которая определяется как отношение объема пустот Vп в слое к объему всего слоя и рассчитывается по формуле

 

ε

 

Vп

 

Vсл

Vп

 

1

Vт

,

 

 

 

 

 

 

 

 

 

 

 

 

 

 

 

 

 

 

V

 

 

Vсл

 

 

 

Vсл

 

 

 

где Vт объем,

занимаемый

твердыми

частицами в

слое, м3;

Vсл = fа Н – объем слоя, м3.

 

 

 

 

 

 

 

 

 

 

 

 

Если считать, что Vт

в ПС остается постоянным, то

 

ε

1

fa H0 (1

ε0 )

 

1

(1

ε0 )

H0

,

(2.32)

 

fa H

 

 

 

 

 

 

 

 

 

 

 

 

 

H

 

откуда

59

H

(1

ε0 )

H0

,

(1

ε)

 

 

 

где 0 порозность неподвижного слоя зернистого материала;

Н0 – высота неподвижного слоя.

 

 

На рис. 2.36 показаны типичные

результаты изменения

гидравлического сопротивления слоя

Р

и высоты H, а также

результаты расчета

по формуле (2.32).

 

 

а

б

 

в

 

 

 

 

 

 

 

 

 

 

 

 

Рис. 2.36. Зависимости:

а – P f (w) ; б – H f (w) ; в – ε f (w)

В момент начала псевдоожижения вес зернистого материала, приходящийся на единицу площади поперечного сечения аппарата, уравновешивается силой гидравлического сопротивления слоя:

Pc

Gc

,

(2.33)

 

 

fa

 

где Gc – вес материала в слое, Н.

С учетом архимедовых сил (2.33) можно представить в виде

Pc g H0 ч ρс ) (1 ε0 ) .

(2.34)

60