Материал: Цифровой концентратор

Внимание! Если размещение файла нарушает Ваши авторские права, то обязательно сообщите нам

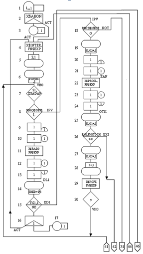
SAVEVALUE BLO3+,1

Значение 1 добавляется к значению переменной BLO3, которая содержит число повторных попыток при занятости адресата.

ASSIGN 3+,1

К значению параметра с номером 3 добавляется значение 1. Параметр 3 содержит число попыток данного вызова.

ADVANCE X$POFT,FN$EXP

Среднее время пребывания сообщения в блоке ADVANCE задано в ячейке с именем POFT, способ модификации среднего значения задан функцией EXP. Т.о. мы задали интервал между ПВ при занятости абонента.

TRANSFER ,VHO

Блок TRANSFER является основным средством, позволяющим направить сообщение к любому блоку модели.

В данном случае режим выбора следующего блока, к которому должно перейти сообщение (безусловный, статистический…) не указан. Все сообщения переходят к блоку VHO.

NOT SAVEVALUE ADR+,1

Значение 1 добавляется к значению переменной ADR, которая содержит число не ответов адресата.

ENTER 1

Занимается многоканальное устройство под номером 1.

QUEUE 1

Длина очереди под номером 1 увеличивается на 1 (поскольку операнд В отсутствует).

ADVANCE X$UST,FN$EXP

Среднее время пребывания сообщения в блоке ADVANCE задано в ячейке с именем UST, способ модификации среднего значения задан функцией EXP. Т.о. мы задержали сообщение на время, равное среднему времени установления связи.

DEPART 1

В данном случае длина очереди под номером 1 уменьшается на 1 (поскольку операнд В отсутствует).

LEAVE 1

Освобождается одна единица (т.к. операнд В отсутствует) многоканального устройства под номером 1.

0245 TEST LE RN6,FN$OTS,EX1

Сравнивается случайной величины RN6 (ее значение колеблется от 0 до 1) со значением функции OTS. RN6 должна быть меньше или равна (LE) значению функции OTS. Т.к. поле С блока TEST пусто, то транзакты не могут войти в блок TEST до тех пор, пока условия не изменятся таким образом, что отношение будет истинно. Как только отношение будет истинно, сообщение войдет в блок TEST и пытается перейти к следующему по номеру блоку.

SAVEVALUE BLO4+,1

Значение 1 добавляется к значению переменной BLO4, которая содержит число повторных попыток при не ответе.

ASSIGN 3+,1

К значению параметра с номером 3 добавляется значение 1. Параметр 3 содержит число попыток данного вызова.

ADVANCE X$POFT,FN$EXP

Среднее время пребывания сообщения в блоке ADVANCE задано в ячейке с именем POFT, способ модификации среднего значения задан функцией EXP. Т.о. мы задержали сообщение на время, равное среднему интервалу между вызовами при не ответе абонента.

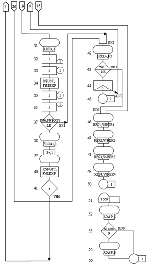
TRANSFER ,VHO

В данном случае режим выбора следующего блока, к которому должно перейти сообщение (безусловный, статистический…) не указан. Все сообщения переходят к блоку VHO.

EX1 SAVEVALUE SRED+,P3

Значение переменной P3 добавляется к значению переменной SRED, которая содержит сумму повторных попыток.

TEST NE TG1,1,ED1

Сравнивается текущее значение счетчика завершений TG1 (сообщения, вошедшие в блоки TERMINATE с ненулевым операндом А, уменьшают значение этого счетчика на число, равное значению операнда А) с единицей. TG1 должна быть не равна (NE) единице. Если отношение истинно, то транзакт переходит к следующему блоку. Если отношение ложно - к блоку с меткой ED1. Таким образом мы проверили, все ли вызовы (транзакты) мы обслужили.

SPLIT 1,ACT

Создать одну копию входящего сообщения и перейти к блоку с меткой ACT.

0285 TERMINATE 1

Уничтожает транзакт.

ED1 SAVEVALUE RES1,V$PER1

Значение переменной PER1 сохраняется в переменной RES1.

SAVEVALUE RES2,V$PER2

Значение переменной PER2 сохраняется в переменной RES2.

SAVEVALUE RES3,V$PER3

Значение переменной PER3 сохраняется в переменной RES3.

SAVEVALUE RES4,V$PER4

Значение переменной PER4 сохраняется в переменной RES4.

TERMINATE 1

Уничтожает транзакт.

GENERATE 1000

Транзакты будут вводиться в модель через каждые 1000 единиц модельного времени.

SAVEVALUE ADAP,5

Значение 5 сохраняется в переменной ADAP.

TEST G SR1,800,KON

Сравнивается значение коэффициента использования многоканального устройства под номером один (SR1) со значением 800. SR1 должна быть больше (G) 800. Если отношение истинно, то транзакт переходит к следующему блоку. Если отношение ложно - к блоку с меткой KON.

SAVEVALUE ADAP,6

Значение 6 сохраняется в переменной ADAP.

KON TERMINATE

Т.к. поле А пусто, то сообщение уничтожается, а содержимое счетчика не изменяется.

START 500

Оператор START задает значение счетчика завершений при прогоне модели.

В данном случае модель будет прогоняться 500 раз.

REPORT REPORT.GPS

Создаем файл отчета с именем Report.gps.

END

Заканчиваем работу с программой.

Результаты имитационного эксперимента с моделью функционирования цифрового концентратора сведены в таблицу 3.1.

Таблица 3.1 Результаты имитационного эксперимента с моделью функционирования цифрового концентратора


Количество абонентов


30

40

50

60

70

100

Вероятность потери по времени

47,514%

47,713%

47,534%

46,640%

47,553%

48,126%

Вероятность успешного завершения разговора

51,888%

51,689%

51,084%

52,173%

50,293%

50,493%

Среднее число попыток на один вызов

1,38

1,35

1,35

1,37

1,34

1,32

Вероятность блокировки в абонентском тракте

30,491%

30,486%

30,453%

30,272%

30,263%

29,955%


3.3 Руководство к использованию программы


. Включите компьютер.

. В случае если программа находится на жестком диске - перейдите к пункту 5. В противном случае - к пункту 3.

. Вставьте дискету с программой в дисковод.

. Скопируйте программу имитации цифрового концентратора на жесткий диск, в директорию GPSS:

Copy <путь к файлу на дискете> <путь к директории GPSS>

Например:a:\Concent.gps c:\Gpss\

5. Перейдите в директорию GPSS.

. Запустите файл "Gpsspc.exe".

. В окне ввода, после знака приглашения (">") наберите команду

@<имя файла>

и нажмите клавишу "Enter". Например:

@Concent.gps <Enter>

. По окончании работы программы введите команду

END

для завершения работы с GPSS.

. Для изменения получаемых результатов измените количество абонентов в подсети (строка 0010). Сделать это можно в любом текстовом редакторе. Таким образом, изменяя количество абонентов можно получать новые статистические данные относительно вероятности потерь по времени, вероятности успешного разговора, среднего числа попыток на один вызов и вероятности блокировки в абонентском тракте.

4. Бизнес-план


4.1 Продукция


Предлагаемым продуктом разработки является программа имитационной модели функционирования цифрового концентратора.

Она может использоваться как для оценки работы реального концентратора при заданных условиях и сбора статистических данных (поступающая нагрузка, вероятность успешного разговора, занятость ИКМ-тракта и т.д.) так и для обучения молодых специалистов.

Данная программа может работать на любых персональных ЭВМ типа IBM, не требуя при этом мощных вычислительных машин, что является весьма положительным качеством, так как не каждая организация имеет мощные ЭВМ.

4.2 Рынок


Данная программа является весьма специфичной и очень необходимой в данный момент.

В качестве потенциальных потребителей данной продукции могут выступать компании и фирмы, занимающиеся разработкой и внедрением средств связи, а также высшие учебные заведения, занимающиеся обучением специалистов в области электросвязи.

Так как на сегодняшний день данная продукция не имеет аналогов на рынке Казахстана, следовательно, не имеет конкурентов. Единственной проблемой является нелегальное распространение программы, но это решается использованием защиты от несанкционированного включения.

 

4.3 Менеджмент


Персонал, занимающийся непосредственной разработкой программы, состоит из инженера и руководителя.

Время, затраченное разработчиками на разработку программы, указано в таблице 4.1

Таблица 4.1 Перечень выполняемых работ

Выполняемые работы

 Объем, дней

 Исполнитель

Постановка задачи, подготовка исходных данных

1

руководитель

Выдача задания и исходных данных

1

руководитель

Ознакомление с заданием

1

инженер

Сбор материала

3

инженер

Обработка исходных данных

1

инженер

Обзор литературы

2

инженер

Разработка плана работ

2

руководитель

Составление графика проведения работ

1

Руководитель инженер

Анализ общих вопросов

1

инженер

Проведение подготовительных работ

2

инженер

Изучение методов проведения работ

3

Руководитель инженер

Описание процедур и детализация

2

Руководитель инженер

Освоение методов математического моделирования

10

инженер

Математическое моделирование задачи

3

руководитель

Проведение специальных расчетов

3

инженер

Разработка алгоритма и отладка

3

инженер

Проведение практических работ и получение результатов

2

инженер

Обработка первичных результатов

1

инженер

Разработка программы расчета

2

инженер

Обработка вторичных результатов

1

инженер

Анализ результатов

2

инженер

Подготовка письменных материалов

2

инженер

Проведение консультаций

3

руководитель

Оформление отчета

5

инженер

Доработка отчета

2

руководитель

Сдача и предварительная проверка отчета

1

Руководитель инженер

Итого

67


4.4 Потребности в финансировании


Разработка программы является весьма сложным процессом, требующим большого количества времени и усилий. Приведем расчет стоимости разработки программы.

Труд разработчиков оплачивается согласно штатного расписания.

Далее определяется количество исполнителей (табл. 4.2).

Таблица 4.2 Количество исполнителей

Исполнитель

Количество, человек

Заработная плата, тенге

Руководитель

1

20000

Инженер

1

15000

Итого

2

35000


Для определения стоимости человеко-дня, месячный должностной оклад, приведенный в таблице 4.2, делится на среднемесячное количество рабочих дней - 24 дня.

Для руководителя:

T = 20000/24 = 833.33 тенге,

для инженера - исполнителя задания:

Т = 15000/24 = 625 тенге.

Таблица 4.3 Трудозатраты

Исполнитель

Дневная зарплата, тенге

Трудоемкость, чел/день

Сумма, тенге

Руководитель

833.33

19

15833.27

Инженер

625

48

30000

Основная заработная плата определяется как сумма оплаты труда всех исполнителей [7]:

Зосн = å (Зо* Ti); (4.1)

Зосн = 833.33*19 + 625*48 = 15833.27 + 30000 = 45833.27 тенге

Дополнительная заработная плата составляет 10% от основной заработной платы [7]:

Здоп = Зосн*10 / 100; (4.2)

Здоп = 45833.27*10 / 100 = 4583.33 тенге

Фонд оплаты труда (ФОТ) складывается из основной и дополнительной заработной платы [7]:

ФОТ = Зосн + Здоп ; (4.3)

ФОТ = 45833.27 + 4583.33 = 50416.6 тенге

Отчисления на социальное страхование (Сс) берутся в размере 26% от ФОТ [7].

Осс = ФОТ * 26 / 100; (4.4)

Осс = 50416.6 * 26 / 100 = 13108.32 тенге

После определения размера ФОТ требуется рассчитать себестоимость научно-исследовательских работ с учетом нетрудовых затрат на материалы. Таблица 4.4 содержит статьи расходов и конечную смету затрат.

Амортизационные отчисления берутся исходя из того, что стоимость компьютера, на котором разрабатывалась программа, и принтера составляет 1000 долларов США. Средний курс покупки одного доллара США составляет 147 тенге. С учетом того, что норма амортизации берется в размере 30% в год, амортизационные отчисления за 12 рабочих дней составляют [7]:


Стоимость машинного времени - 147 тенге в час, и т.к. инженер затратил 12 дней по 6 часов, то стоимость машинного времени за 72 часа составит [7]:

Смв = 72час*147тенге/час = 10584 тенге.

Затраты на электроэнергию рассчитываются по следующей формуле:


где W - потребляемая мощность;

T - количество часов работы оборудования;

S - стоимость киловатт-часа электроэнергии.

W = 4 кВт; T = 12*6=72 ч; S = 4,83 тенге/кВт× час.

Э = 4*72*4.83 = 1391.04тенге

Кроме того, в смету затрат следует включить также затраты на оформление программного обеспечения. В данные затраты входит стоимость дискеты, инструкции и упаковки.

Таким образом:

Зоф = Здиск + Зинст + Зупак ; (4.7)

Зоф = 80 + 40 + 50 = 170 тенге

Сумма затрат состоит из фонда оплаты труда разработчиков, отчислений в фонд социального страхования, амортизации оборудования и затрат на электроэнергию и материалы [7]:

З = ФОТ + Осс + А + Э + Смв + Зоф; (4.8)

З = 50416.6 + 13108.32 + 2004.55 + 1391.04 + 10584 +170 = 77674.51 тенге

Смета затрат приведена в таблице 4.4.

Таблица 4.4 Смета затрат на проведение НИР

Наименование статей затрат

Сумма, тенге

ФОТ

50416.6

Отчисления в социальное страхование

13108.32

Амортизация

2004.55

Затраты на электроэнергию

1391.04

Стоимость машинного времени за 72 часа

10584

Затраты оформления

170

Итого: 77674.51


4.5 Цена реализации


Лимитная цена программы складывается из себестоимости разработки программы и чистого дохода [7]:

Цл = С + П; (4.9)

Прибыль, т.е. рентабельность, рассчитывается как 40% от себестоимости программы [7]:

П = 40 * С / 100; (4.10)

П = 40 *77674.51 / 100 = 31069.81 тенге

Цл = 81558.24 + 32623.3 = 108744.32 тенге

Цена реализации, с учетом налога на добавленную стоимость (НДС) в размере 20% от стоимости программы, вычисляется по формуле [7]:

Цр = Цл + НДС, (4.11)

НДС = 20 * Цл / 100, (4.12)

НДС = 20 * 108744.32 / 100 = 21748.87 тенге

Таким образом, цена реализации программы:

Цр = 108744.32 + 21748.87 = 130493.19 тенге

4.6 Экономическая эффективность от внедрения программного обеспечения


4.6.1 Расчет затрат до внедрения программного продукта

На производстве решение данной задачи осуществляется одним человеком. До внедрения предоставляемого программного продукта, инженер занимаясь решением данной задачи, затрачивает на ее реализацию один рабочий день, т.е. восемь часов.

Затраты на решение задачи без использования программы рассчитываются по формуле [7]:

Затр = Кмаш + ЗП , (4.13)

где ЗП - зарплата в год инженера, занимающегося решением данной задачи,

Кмаш - годовые затраты машинного времени на решение задачи.

Заработная плата инженера за год, учитывая расчет вручную, определяется по формуле [7]:

ЗП = Q * N * 12, (4.14)

где Q - оклад инженера,

N - количество человек,

ЗП = 15000 * 1 * 12 = 180000 тенге,

Исходя из того, что иженер тратит на решение данной задачи по восемь часов четыре раза в месяц, а за год, соответственно, 384 часа, то годовые затраты машинного времени на решение задачи определяются [7]:

Кмаш = tg * q, (4.15)

где tg - количество часов использования ПЭВМ в год,

q - стоимость часа машинного времени.

Кмаш = 384 * 147 = 56448 тенге,

Затр = 56448 + 180000 = 236448 тенге,

4.6.2 Расчет затрат после внедрения программного продукта

После внедрения программы инженер станет тратить пять минут на решение задачи. Следует заметить, что это вызовет огромную экономию машинного времени, и, соответственно, связанные с этим затраты.

Отметим, что пять минут, затраченные по четыре раза в месяц, за год составят 4 часа.

Годовые затраты машинного времени на решение задачи определяются

Кмаш = tg * q, (4.16)

где tg - количество часов использования ПЭВМ в год,

q - стоимость часа машинного времени.

Кмаш = 4 * 147 = 588 тенге,

Годовая заработная плата работника отдела, останется прежней.

Суммарные затраты после внедрения программы определяются [7]:

Затр = Кмаш + ЗП, (4.17)

З’атр = 588 + 180000 = 180588 тенге.

4.6.3 Расчет экономии затрат от внедрения программного обеспечения

Расчет экономии затрат от внедрения нового программного продукта. Экономия затрат от внедрения программы определяется [7]:

Э = Затр - З’атр, (4.18)

где Затр - затраты до внедрения программы,

З’атр - затраты после внедрения программы.

Э = 236448 - 180588 = 55860 тенге.

На основе проведенных выше вычислений можно сказать о том, что внедрение данного программного продукта позволит получить социально-экономический эффект.

В результате внедрения программного продукта возрастает производительность и качество труда, вызванные путем сокращения времени на выполнение рабочего процесса. Основная экономия ощущается в машинном времени. Нужно отметить, что данная экономия будет при решении одной задачи, а поскольку таких задач, непосредственно связанных со статистикой, очень много, то в целом экономия от внедрения данного программного продукта намного возрастает.

5. Безопасность жизнедеятельности


Тема дипломной работы: "Моделирование работы концентратора в сети ISDN". Основной целью проекта является разработка программного продукта, имитирующего работу цифрового концентратора.

Данная программа предназначена для установки в компьютерном классе. В классе работают 10 человек, рабочий день с 900 до 1700. Поскольку оператор весь рабочий день взаимодействует непосредственно с ЭВМ, то очень важно правильно организовать его рабочее место. С точки зрения учета человеческого фактора рабочее место оператора обладает рядом эргономических свойств и показателей. Эргономичность связана с показателями производительности, надежности и экономичности эксплуатации. Поэтому при конструировании и размещении рабочих мест предусмотрим меры, предупреждающие или снижающие преждевременное утомление работающего человека, предотвращающие возникновение у него психофизиологического стресса, а также появление ошибочных действий. Такая конструкция рабочего места будет обеспечивать быстроту, безопасность, простоту и экономичность технического обслуживания, полностью отвечать функциональным требованиям и предполагаемым условиям эксплуатации.

На случай возникновения пожара в операторском зале, предусмотрим средства тушения пожара. Подберем огнетушители, рассчитаем их количество, установим пожарные извещатели.

В операторских залах предъявляются определенные требования к вентиляции и кондиционированию воздуха. Поэтому предусмотрим, чтобы в зал подавалось достаточное количество наружного воздуха на одного человека; кондиционирование воздуха обеспечивало автоматическое поддержание параметров микроклимата в необходимых пределах в течение всех сезонов года, очистку воздуха от пыли, создавало небольшое избыточное давление в чистых помещениях для исключения поступления неочищенного воздуха.

К операторскому залу предъявляются определенные требования к освещенности. Условия искусственного освещения оказывают большое влияние на зрительную работоспособность, физическое и моральное состояние людей, а, следовательно, на производительность труда и производственный травматизм. Поэтому подберем такое освещение, которое будет обеспечивать комфортную световую среду для труда, создавать нормальные условия для работы и учебы.

Такое освещение будет:

·   создавать благоприятные условия труда;

·   соответствовать гигиеническим нормам;

·   равномерно распределять яркость на рабочей поверхности и в пределах окружающего пространства;

·   устранять резкие тени на рабочей поверхности;

·   устранять блескость (прямую и отраженную) в поле зрения;

·   обеспечивать необходимый спектральный состав света для правильной цветопередачи.

В качестве источников света при искусственном освещении в операторском зале, будем применять люминесцентные лампы.

Исходя из вышеуказанного, в данном разделе дипломной работы сделаем следующее:

·   рассмотрим вопросы рациональной организации рабочего места оператора;

·   подберем огнетушители, рассчитаем их количество, установим пожарные извещатели;

·   рассчитаем искусственное освещение операторского зала двумя методами: методом коэффициента использования и точечным методом;

·   рассчитаем систему вентиляции и подберем кондиционер.

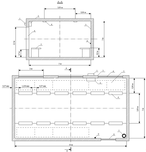
5.1 Рациональная организация рабочего места оператора

При конструировании рабочего места оператора создадим следующие условия: достаточное рабочее пространство для работающего человека, позволяющее осуществлять все необходимые движения и перемещения при эксплуатации и техническом обслуживании оборудования; достаточные физические, зрительные и слуховые связи между работающим человеком и оборудованием, а также между людьми в процессе выполнения общей трудовой задачи; оптимальное размещение рабочих мест в производственных помещениях, а также безопасные и достаточные проходы для работающих людей; необходимое естественное и искусственное освещение для выполнения трудовых задач, технического обслуживания; допустимый уровень акустического шума и вибрации, создаваемых оборудованием рабочего места или другими источниками шума и вибрации [8].

На рабочем месте оператора используем:

·   средства отображения информации индивидуального пользования (дисплей);

·   средства ввода информации (клавиатура, различные манипуляторы);

·   средства связи и передачи информации (телефонный аппарат, модем);

·   средства документирования и хранения информации (принтеры, дисковые накопители);

·   вспомогательное оборудование.

Рабочее место оператора (см. рис. 5.1) организуем следующим образом [8]. Дисплей разместим на столе так, чтобы расстояние наблюдения информации на экране было в пределах 450-500 мм. Экран дисплея расположим так, чтобы угол между нормалью к центру экрана и горизонтальной линией взгляда составлял 200. Клавиатуру расположим на столе или подставке так, чтобы высота клавиатуры по отношению к полу составляла 650-800 мм, наклон клавиатуры сделаем в пределах 5-100. При размещении компьютера на стандартном столе используем кресло с регулируемой высотой сиденья (от 380 до 450-500 мм) и подставку для ног.

Рис. 5.1 Рациональная организация рабочего места оператора

Средства документирования расположим справа от оператора в зоне максимальной досягаемости, а средства связи - слева, чтобы освободить правую руку для записей.

Экран дисплея, документы и клавиатура расположим так, чтобы перепад яркостей поверхностей, зависящий от их расположения относительно источника света, не превышал 1:10 (оптимально 1:3).

5.2 Выбор огнетушителей, расчет их количества, установка пожарных извещателей


Для тушения пожаров используем порошковые огнетушители ОП-5 объемом 7 л. Они являются хорошими диэлектриками и быстро тушат пожар. В виду того, что такие огнетушители со временем слеживаются, будем производить их замену каждый год.

Согласно СНиП на каждые 100 м2 необходимо устанавливать один огнетушитель. Поскольку у нас помещение размером 5х10 и общая площадь, таким образом, составляет 50 м2, то для тушения пожаров установим один порошковый огнетушитель. Расположение огнетушителя показано на рисунке 5.2

В качестве пожарного извещателя установим ПКИЛ-9 - ручной пожарный извещатель. Он устанавливается на лестничных площадках и в коридорах и окрашивается в красный цвет. При обнаружении пожара следует разбить защитное стекло и нажать кнопку, которая замыкает электрическую цепь и на приемной станции раздается звуковой сигнал. Расположение извещателя показано на рисунке 5.2

Для предупреждения пожаров все токоведущие части монтируем на негорючих основаниях (мрамор, текстолит, гетинакс, асбест и т.п.).

5.3 Расчет системы искусственного освещения


Дано:

длина помещения А = 10 м;

ширина помещения В = 5 м;

высота помещения Н = 3 м;

высота рабочей поверхности hР = 0,8 м;

разряд зрительной работы III (высокой точности).

Для операторского зала рекомендована люминесцентная лампа ЛБ40-4 (белого цвета), мощностью 40 Вт, световым потоком 3000 лм, диаметром 40 мм и длиной со штырьками 1213,6 мм (таблица 2-12, [9]).

Определим наивыгоднейшее расстояние между светильниками [9]:  м, (5.1)

где  =1,2  1,4;

h = H - hР = 3 - 0,8 = 2,2 м.

По этим данным находим, что наивыгоднейшее расстояние между светильниками равно:

 м.

Рассчитаем число рядов светильников [10]:

 (5.2)

где B - ширина помещения, В = 5 м;

Z - расстояние между светильниками, Z = 3,08 м.

Отсюда:

 м.

Следовательно светильники будем располагать в два ряда.

Определим число светильников [10]:

, (5.3)

где Е - заданная минимальная освещенность светильника. Для персонала работающего с ЭВМ Е = 400 лк;

Кз - коэффициент запаса, учитывающий запыление и износ источников света в процессе эксплуатации. Кз = 1,5;

S - освещаемая площадь, S = 50 м ;

Z - коэффициент неравномерности освещения, Z = 1,4;

 - коэффициент использования;

ФЛ - световой поток лампы, ФЛ = 3000 лм.- число ламп в светильнике.

Нам неизвестен коэффициент использования, для его нахождения определим индекс помещения [10]:

 (5.4)

Т.к. у нас побеленный потолок, побеленные стены с окнами, закрытыми белыми шторами, то коэффициенты отражения будут следующими [9]):

p пот = 50%;

р ст = 30%;

р пол = 20%.

Следовательно, коэффициент использования  = 54% (таблица 5-20).

В качестве светильника возьмем ЛСП02 рассчитанный на 2 лампы мощностью 40 Вт, диаметром 40 мм и длиной со штырьками 1213,6 мм. Длина светильника 1234 мм, ширина 276 мм.

Таким образом:

 светильников.

Т.е. у нас 12 светильников расположенных в два ряда, в каждом ряду по шесть светильников, в каждом светильнике по 2 лампы.

Проверку расчета произведем точечным методом.

Линейные размеры излучателей в данном случае равны 1213,6 мм и превышают высоту 0,5 м установки. В данном случае они рассматриваются как светящиеся линии.

Кривые линии изолюкс построены в координатной системе [10]:

(P1 - L1) (5.5)

где ; (5.6)

; (5.7)

где L - общая длина светящихся линий;

P = 1,5;h = 2,4;L = 9,75.

Таким образом, подставив данные в формулы, получим:

;

.

Для обеспечения в данной точке заданной освещенности ЕН, необходимо иметь удельный световой поток Ф. Световой поток в каждом светильнике определяется по формуле [10]:

, (5.8)

где  - коэффициент, учитывающий отражение составляющих света и действие удаленных светильников и составляет 1,1 - 1,2;

 - суммарная условная освещенность в контрольной точке (выбираются точки, где имеет наименьшее значение). = 40х2 = 80;ЕУ - определяется по графику пространственных изолюкс, ЕУ = 40.

Таким образом, подставив данные в формулы, получим:

 лм.

Поскольку необходимый световой поток ламп каждого светильника не должен отличаться от требуемого на -10% или +20%, то можно сделать вывод, что расчет верен.

Итого, для создания нормированной освещенности нам понадобится 24 лампы в 12-ти светильниках располагающихся в два ряда, в каждом ряду по 6 светильников, в каждом светильнике по 2 лампы.

Рис. 5.2 Схема искусственного освещения

1 - кондиционер (внешний блок);6 - люминесцентная лампа;

- кондиционер (внутренний блок);7 - огнетушитель;

- стена;8 - дверь;

- окно;9 - пожарный извещатель.

- рабочее место;

 

5.4 Расчет системы вентиляции


Найдём требуемое количество подаваемого воздуха по фактору "тепловыделение". Оно рассчитывается по формуле [8]:

, (5.9)

где = tУДАЛ - tПОСТ,

tУДАЛ - температура удаляемого воздуха;

tПОСТ - температура поступающего воздуха;

СВ - теплоемкость воздуха, СВ = 0,24 ккал/кг*0С;

 - удельная масса приточного воздуха,  = 1,206 кг/м3.

QИЗБ - избыточное тепло.

Избыточное тепло найдем из выражения [8]:

QИЗБ = QОБ + QЛ + QР - QОТД, (5.10)

где QОБ - тепло, выделяемое офисным оборудованием;

QЛ - тепло, выделяемое людьми;

QР - тепло, вносимое солнечной радиацией;

QОТД - теплоотдача в окружающую среду.

Значения QР и QОТД примерно равны и взаимно компенсируются. Поэтому избыточное тепло образутся только за счёт людей и оборудования.

Тепло, выделяемое людьми, найдём по формуле [8]:

, (5.11)

где КЛ - количество людей в помещении, КЛ = 10;

q - тепло, выделяемое одним человеком, q = 250 ккал/ч;

qПОГЛ - тепло, поглощаемое одним человеком, qПОГЛ = 140 ккал/ч.

Отсюда находим:

 ккал/ч.

Рассчитаем количество тепла, выделяемого офисным оборудованием. В классе расположено 10 персональных компьютеров. Каждый компьютер имеет мощность 230 Вт. Общая мощность компьютеров составляет 10*230=2300 Вт = = 2,3 кВт. Также имеется один принтер с потребляемой мощность 50 Вт. Общая потребляемая мощность офисной техники равна 2,35 кВт.

Тепло, выделяемое офисным оборудованием рассчитаем по формуле:

, (5.12)

где 860 - тепловой эквивалент 1 кВт/час;

РОБ - потребляемая мощность, РОБ = 2,35 кВт;

η - коэффициент перехода тепла в помещение, η = 0,95.

Подставив все значения в формулу, находим:

 ккал/ч.

Рассчитаем теплонапряженность воздуха по формуле [8]:

, (5.13)

где VП - объем помещения, VП = 150 м3.

QИЗБ = QЛ + QОБ = 1100 + 1919,95 = 3019,95 ккал/ч.

Таким образом, подставив все данные в формулу, получим:

 ккал/м3.

Т.к. QН > 20 ккал/м3, то = 8 0С.

Найдём требуемое количество подаваемого воздуха:

 м3/ч.

Рассчитаем кратность воздухообмена по формуле [8].

, (5.14)

где L - требуемое количество подаваемого воздуха, L = 1304,22 м3/ч;

V - объем помещения, V = 150 м3.

Таким образом, кратность воздухообмена равна:

 1/час.

Т.о. нам необходим кондиционер, создающий воздухообмен 1304 м3/ч.

Установим в операторском зале один настенный кондиционер DELONGHI CP 30, рассчитанный на 130 м2 (расположение кондиционера показано на рисунке 5.2). Данный кондиционер создает воздухообмен 1300 м3/ч, создает в помещении воздушную среду с температурой 17-26 0С и влажность 40-70%, удаляет из помещения избыточную влагу и тепло, снабжен таймером, термостатом, бактерицидным фильтром и автоматическим климат контролем. Электропитание кондиционера 230 В, 5 А, 50 Гц; максимальный уровень шума 38 дБ; внутренний блок: длина 810 мм, высота 300 мм, глубина 200 мм; внешний блок: длина 650 мм, высота 500, глубина 210 мм [11].

Заключение


В данной дипломной работе были рассмотрены основные функции цифрового концентратора, разработан алгоритм и программное обеспечение имитирующее работу цифрового концентратора. Поскольку данный программный продукт реализован на языке моделирования GPSS, то здесь также рассмотрены основные вопросы моделирования и особенности языка GPSS.

В работе приведен технико-экономический расчет, в котором рассчитаны затраты на разработку данного программного продукта, и рассмотрены вопросы безопасности жизнедеятельности.

Данный программный продукт предназначен для установки в компьютерном классе и способствует закреплению полученных знаний о работе цифрового концентратора.

Список использованных источников


1. Шварц М. Сети связи: протоколы, моделирование и анализ. Пер. с англ. - М.: Наука, 1992.

2. Мартин Дж. Сети связи и ЭВМ. Пер. с англ. - М.: Связь, 1974.

3. Гнатив А. Современная аппаратура концентрации цифровых каналов // Электросвязь. - 2000. Вып. 9. - С. 48-50.

4. Зеленов А. Stinger - новый концентратор доступа DSL для открытой сети следующего поколения // Электросвязь. - 2000. Вып. 5. - С. 46-47.

5. Шрайбер Т. Дж. Моделирование на GPSS. Пер. с англ. - М.: Машиностроение, 1980.

6. Советов Б. Я., Яковлев С. А. Моделирование систем: Лабораторный практикум. - М.: Высш. шк., 1989.

7. Барамысова Г. А. Методические указания к экономической части дипломного проекта. - Алма-Ата, 1990.

8. Баклашов Н. И., Китаева Н. Ж., Терехов Б. Д. Охрана труда на предприятиях связи и охрана окружающей среды. - М.: Радио и связь, 1989.

9. Кнорринг Г. М. Справочная книга для проектирования электрического освещения. - Л.: Энергия, 1976.

10.Кошулько Л. П. Методические указания к выполнению раздела "Охрана труда" в дипломном проекте. - Алма-Ата, 1989.

11.Системы вентиляции и кондиционирования. / Ананьев В. А., Галоперин А. Д., Городов А. К., Еремин М. Ю., Звягинцева С. М., Мурашко В. П., Седых И. В. - М.: Евроклимат, 2000.

Приложение