Емкостные ЧЭ основаны на зависимости электрической емкости конденсатора от размеров, взаимного расположения его пластин и от диэлектрической проницаемости среды между ними. Емкость плоского конденсатора определяется по формуле:
,
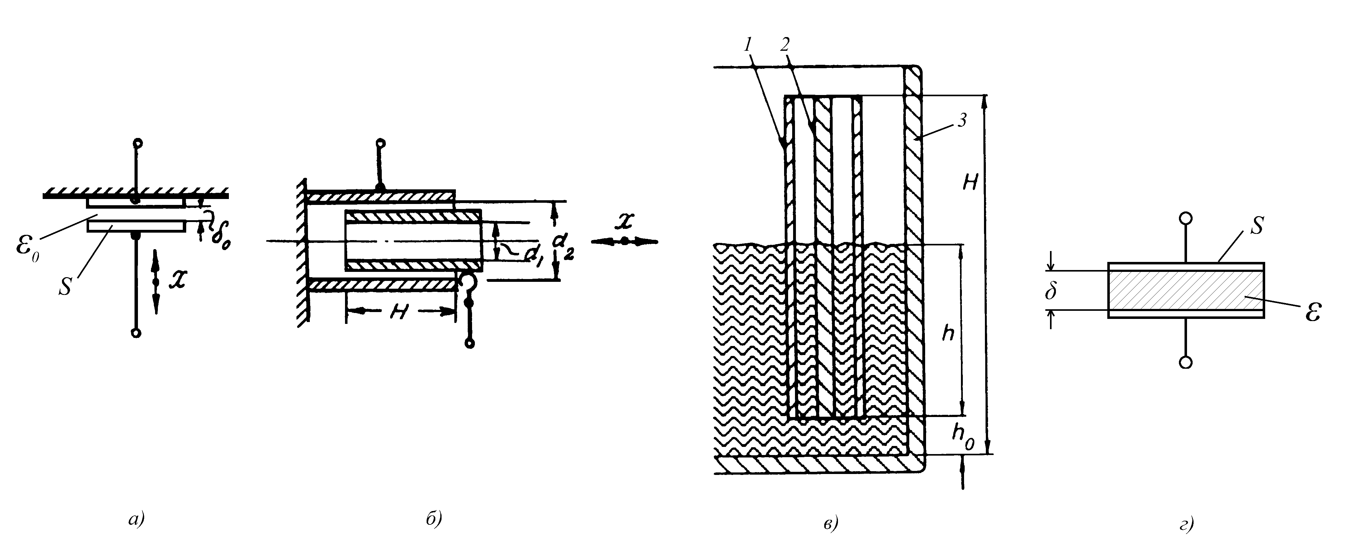
где E0 – диэлектрическая постоянная для конденсатора, пластины которого находятся в вакууме (практически в воздухе, S – площадь пластин, δ – расстояние между пластинами). На рисунке 2.37 изображены различные типы емкостных ЧЭ.
Рис
2.37. Емкостные ЧЭ
Емкостный ЧЭ на рисунке 2.37 (а) представляет собой плоский конденсатор с параллельными пластинами, одна из которых перемещается от внешнего воздействия Х. Такой ЧЭ используется для изготовления датчиков перемещения, давления, силы и т.д. Функция преобразования C = f(δ) нелинейна, гиперболическая.
Емкостный ЧЭ на рисунке 2.37 (б) представляет собой цилиндрический конденсатор, состоящий из двух коаксиальных цилиндров, а для вычисления емкости используется формула:
,
где H – длина зоны перекрытия двух цилиндров, d1, d2 - диаметры цилиндров. Функция преобразования C = f(H) линейна.
Емкостный ЧЭ на рисунке 2.37 (в) измеряет уровень h жидкости с относительной диэлектрической проницаемостью Е. Он изготовлен на основе коаксиального конденсатора, в котором поверхность каждого цилиндра 1 и 2 покрыта тонким слоем изоляционного материала для предотвращения короткого замыкания. ЧЭ размещается в резервуаре 3 с жидкостью. При увеличении уровня жидкость заполняет все больший объем между коаксиальными проводниками, изменяя при этом емкость, которая определяется по формуле:
,
где h – высота части ЧЭ, заполненной жидкостью.
На рисунке 2.37 (г) показан емкостный ЧЭ влажности, в котором диэлектрический слой между пластинами выполняется из гигроскопичного материала. Такой диэлектрик поглощает молекулы воды и в соответствии с их количеством меняет диэлектрическую проницаемость Е, что приводит к изменению емкости. По величине емкости определяют относительную влажность.
Таким образом, если какой-либо параметр конденсатора изменяется при определенном внешнем воздействии, то на его основе можно построить соответствующий емкостный ЧЭ.
58.Оптические ЧЭ
В качестве оптических ЧЭ используют пары светоизлучатель–светоприемник, которые обеспечивают возможность осуществления бесконечного метода измерения, основанного на поглощении, лучепреломлении и лучеотражении. На рисунке 2.45 показаны две схемы измерения, использующие оптические ЧЭ.

Рис. 2.45. Схемы оптических ЧЭ, работающих на просвет (а) и на отражение (б)
Луч света от источника 1, пройдя оптическую систему 2, направляется на диафрагму 3 и через нее на светоприемник 4. При этом сигнал светоприемника определяется падающим на него световым потоком, который в свою очередь зависит от размера отверстия диафрагмы.
Во второй схеме измерения (б) световой луч отражается от объекта измерения и в зависимости от отражательных свойств объекта изменяется сигнал, получаемый от светоприемника.
В качестве светоизлучателей используется лампы накаливания, светодиоды и лазеры. Рабочие характеристики светоизлучателей показаны на рисунке 2.46.

Рис. 2.46. Температурные (а) и временные (б) характеристики лампы накаливания (1) и светодиода (2) и диаграмма направленности светодиода (в)
К достоинствам ламп накаливания относятся сравнительно большая мощность излучения и стабильная температурная характеристика в широком диапазоне температур от -60 до 150 °С (а). Причем необходимый уровень выходного сигнала достигается уже при 50-процентной выходной мощности, что позволяет увеличивать ресурс работы ЧЭ путем снижения Uип. Так, для лампы с Uип = 6 В, имеющей срок службы 100 ч, при понижении Uип до 4 В ресурс возрастает до 10000 ч. Кроме того, высокая мощность излучения позволяет снизить требования к чувствительности и помехозащищенности светоприемников.
Применение ламп накаливания в фотоэлектрических датчиках положения позволяет непосредственно сформировать «линию считывания» и тем самым обойтись без щелевых диафрагм. Такое простое техническое решение вдвое увеличивает разрешающую способность датчика.
В последнее время в промышленных датчиках положения чаще всего используют излучающие полупроводниковые диоды – светодиоды. Ниже приведены основные параметры светодиодов:
Мощность излучения P, Вт до 1,0
Ширина спектральной характеристики S(λ)
на уровне 0,5 P / Pmax, нм до 50
Длина волны λ, соответствующая максимуму S(λ), мкм 0,4..1,2
Угол направленности Δθ, град 60..160
Направленность излучателя представляет собой свойство концентрации излучаемой мощности в относительно малом телесном угле. Диаграмма направленности (в) характеризует зависимость мощности излучения от угла θ. Угол θ обычно выбирают из условия P / Pmax ≥ 0,8.
По массогабаритным показателям – надежности, быстродействию и потребляемой мощности – светодиоды превосходят лампы накаливания. Их срок службы превышает 104 ч. Недостатки светодиодов связаны с малой мощностью излучения (несколько десятков мВт) и ее зависимостью от температуры.
В последнее время все большее распространение получают полупроводниковые лазерные диоды. Принцип действия лазера основан на способности некоторой активной среды под действием внешнего электромагнитного изучения определенной частоты формировать когерентное монохроматическое излучение с острой диаграммой направленности.
Большинство лазерных диодов излучает свет в ИК диапазоне с длиной волны 0.78..0,63 мкм. Их выходная мощность достигает 0,5 Вт при долговечности более 105 часов.
Светоприемники должны удовлетворять ряду требований: малогабаритность, малое потребление мощности, высокая чувствительность, быстродействие. Чаще всего используют фотодиоды и фототранзисторы, действие которых основано на внутреннем фотоэффекте – явлении, при котором электроны, находящиеся в валентной зоне полупроводника, при поглощении света возбуждаются и переходят в зону проводимости.
Фотодиод представляет собой полупроводниковый диод на базе p-n перехода или барьера металл-полупроводник, смещенного в обратном направлении. При этом обратный ток фотодиода зависит от освещенности его p-n перехода.
При освещении выпрямляющего p-n перехода световым потоком Фс происходит генерация избыточных носителей и обратный ток фотодиода возрастает на величину Iф, называемую фототоком (рисунок 2.47). Обратное смещение перехода составляет 10..30 В. Фотоприемники изготавливаю на основе германия, кремния, свинца, индия, они имеют линейную функцию преобразования.

Рис. 2.47. Вольт-амперная характеристика (а) и функция преобразования (б) фотодиода.
Упрощенная структура фотодиода и его условное графическое обозначение показаны на рисунке 2.48.

Рис. 2.48. Структура фотодиода (а) и его УГО (б)
Принцип действия фототранзистора основан на усилении фототока коллекторного p-n перехода. Его выходные характеристики подобны выходным характеристикам обычного биполярного транзистора, но положение характеристик определяется не током базы, а величиной светового потока.
Функцию преобразования светоприемника можно представить в обобщенном виде (рисунок 2.48, б):
,
где Sф – чувствительность светоприемника, А/лм; Фс – световой поток, лм.
Ниже приведены основные параметры фотоприемников:
Длина волны λ в максимуме спектральной характеристики S(λ)
(рис.2.49), мкм:
для германиевых фотодиодов 0,6…1,0
для индиевых фотодиодов ≤3,2
«Темновой» ток Iт, мкА 50
Чувствительность Sф, А/лм:
фотодиодов ≤0,1
фототранзисторов ≤1
Быстродействие t, с 10-11

Рис. 2.49. Спектральные характеристики фотодиодов на основе германия (1), свинца (2), кремния (3) и индия (4).
Оптические ЧЭ позволяют строить высоконадежные и точные датчики. В последнее время технические характеристики оптических ЧЭ заметно улучшились, соответственно этому решилась сфера их применения.