Материал: Цеха металлургического комбината им. Ильича

Внимание! Если размещение файла нарушает Ваши авторские права, то обязательно сообщите нам

Выплавляемый передельный чугун имеет низкое содержание вредных примесей: фосфора и серы, что позволяет применять его для выплавки самых ответственных марок сталей и широко использовать в литейном производстве машиностроительных предприятий.

.1Устройство доменной печи

Внутренне очертание вертикального разреза доменной печи называется ее профилем (рис. 3.1), в котором различают колошник 1, шахту 2, распар 3, заплечики 4 и горн 5.

Рисунок 3.1 - Профиль доменной печи

Общий вид современной доменной печи показан на рис. 3.2. Доменная печь снаружи заключена в металлический кожух толщиной 20-25 мм в верхней части и 35-40 мм в нижней, состоящий из ряда цилиндрических и конических поясов. Кожух выполняют цельносварным. С внутренней стороны кожуха находится огнеупорная футеровка, охлаждаемая холодильниками.

Рисунок 3.2 - Общий вид доменной печи:

- летка для выпуска чугуна; 2 - фурменное устройство для подачи комбинированного дутья; 3 - цилиндрическая часть колошника с защитными плитами; 4 - большой конус колошника; 5 - малый конус колошника; 6 - устройство для вращения приемной воронки; 7 - приемная воронка; 8 - скип; 9 - наклонный мост; 10 - межконусное пространство; 11 - летка для выпуска шлака; 12 - площадка

Во многих случаях верхняя часть печи от распара до колошника опирается на так называемое мараторное кольцо, которое лежит на колоннах, а нижняя часть опирается на фундамент. Такой случай распределения нагрузки показан на рис. 3.2. Материал на колошник подают при помощи двух скипов 8, движущихся снизу вверх по наклонному мосту 9.

Основной частью колошникового устройства является засыпной аппарат, состоящий из большого 4 и малого конусов 5 с приемной воронкой 7. Для обеспечения равномерного распределения шихты в межконусном пространстве 10 малый конус 5 и его воронка вращаются вокруг своей оси при помощи устройства 6. Скип опрокидывается на колошнике и шихта сначала выгружается в приемную воронку, затем при опускании малого конуса - в межконусное пространство и при опускании большого конуса - в доменную печь. Наличие двух поочередно опускающихся конусов обеспечивает герметизацию колошника при загрузке шихты.

В нижней части печи находятся фурменные устройства 2, через которые подается нагретое дутье и добавки газообразного, жидкого или пылеугольного топлива. Жидкие продукты плавки непрерывно стекают вниз в горн печи, в котором расположены летки для выпуска чугуна и для выпуска шлака. Через эти летки периодически выпускают продукты плавки. Таким образом, процессы в печи и подача шихты происходят непрерывно, а выпуск чугуна и шлака - периодически.

.2 Загрузка шихты и распределение материалов на колошнике

В современной доменной печи продолжительность пребывания в ней материалов составляет 4-6 ч, а газов около 1-3 с. Высокие показатели плавки могут быть получены при хорошем распределении газов по сечению печи. Только в этом случае газы в максимальной степени отдадут физическое тепло материалам, и наиболее полно будет использована их восстановительная способность. Естественно, что распределение газового потока по сечению печи зависит от распределения шихты.

Шихту загружают в печь отдельными порциями - колошами. Рудную часть колоши можно загружать отдельно или одновременно с коксом. Величину колоши и способ ее загрузки выбирают так, чтобы распределение газов в печи было наилучшим.

Следует учитывать, что дутье поступает в печь у стен, а газовое сопротивление слоя шихты у стен меньше, чем в центре, и поэтому газы стремятся идти вдоль стен.

В настоящее время основным железорудным материалом является агломерат, слой которого менее газопроницаем, чем слой кокса. Поэтому целесообразно, чтобы слой агломерата у стен был толще, чем в центре печи, а слой кокса - наоборот. Загрузка шихты с конуса и способность кокса располагаться в печи с меньшим углом откоса, чем угол откоса агломерата или руды, обеспечивают это требование. Кроме того, выбирая соответствующим образом зазор между конусом и колошником и изменяя величину колоши, уровень засыпи и порядок загрузки шихты, можно перераспределять шихту и регулировать газовый поток в печи.

.3 Автоматизация. Метрологическое обеспечение

Процесс плавки в доменной печи главным образом определяется однородностью химического и зернового составов шихты. В идеальном случае, если создать условия, обеспечивающие непрерывную загрузку точно заданных количеств однородных кусковых железорудных материалов, прочного коса, а также высоконагретого дутья постоянного состава, то можно длительное время работать на заданном оптимальном режиме плавки по количеству и температуре дутья и получать продукты плавки постоянного заданного состава.

В практических условиях приходится тщательно следить за процессом и принимать необходимые меры для его регулирования: изменять температуру и количество дутья, количество подаваемого природного газа, соотношение между железорудными материалами и коксом, расход флюса, параметры загрузки шихты.

Основные контролируемые параметры технологического процесса:

Давление: давление холодного и горячего дутья; давление газа в средней части шахты и на колошнике; давление природного газа;давление воды, поступающей в охладительную арматуру;давление пара;

Расход: расход природного газа, подаваемого на каждую фурму;расход воды на охлаждение печи;расход газа;расход пара, подаваемого на увлажнение дутья;

Температура: температура колошникового газа в газоотводах и по радиусу колошника; температура огнеупорной кладки печи; температура поступающей и отходящей воды и воздуха;

состав колошникового газов и влажность дутья;

уровень шихтовых материалов в печи;

число подач, загруженных в печь;

число скипов в подаче;

масса агломерата, кокса и добавок к каждой подаче.

На доменных печах полностью автоматизированы операции набора, взвешивания и загрузки шихты. Например, при транспортерной подаче шихты из бункеров к скипам дозу материалов определяет контроллер. Ленточные конвейеры, подающие агломерат, начинают работать только после того, как перекидной шибер будет направлен на нужную весовую воронку и затвор этой воронки закроется. Как только воронка заполнится до достижения заданной массы, транспортеры и питатели бункеров остановятся, и автоматически откроется затвор весовой воронки для заполнения скипа.

Автоматизированы операции набора кокса из коксовых бункеров в весовую воронку, отсев коксовой мелочи, взвешивания и регистрации массы кокса. Кроме того автоматизирована работа машин и механизмов по загрузке шихты в печь. Микроконтроллер задает последовательность и чередование загрузки компонентов шихты, контролирует отправление скипов, открывание уравнительных клапанов, опускание большого и малого конусов и вращение распределителя шихты.

Автоматизированы процессы нагрева воздухонагревателей, и переключения аппаратов с нагрева на дутье, а также сжигания газа в аппаратах, а также автоматически поддерживается температура дутья, путем добавления к нему холодного воздуха.

4. КИСЛОРОДНО-КОНВЕРТОРНЫЙ ЦЕХ

В комплексе современного конверторного цеха входят главный корпус с конверторным отделением, отделение непрерывной разливки стали и миксерное, ряд насосных, дымососная, вентиляционная и кислородная станции, известково-обжигательный и скрапоразделочный цех, и ряд вспомогательных объектов.

Конверторное отделение современного цеха с тремя конверторами емкостью 160 т состоит из шести пролетов: шихтовых материалов, конверторной подачи сыпучих материалов, конверторного, загрузочного, также пролетов перестановки шлаковых ковшей и подготовки сталеразливочных ковшей.

В пролете шихтовых магнитных материалов скрап специальным мостовыми кранами загружаются в совки емкостью 50 м3. Затем совки переставляются мостовым краном с поворотной тележкой грузоподъемностью 130 т на самоходную передаточную машину - скраповоз, который транспортирует их в загрузочный пролет.

В пролете подачи сыпучих материалов рабочие площадки расположены на нескольких ярусах. На этих площадях установлены системы конверторов, бункеры и весовые устройства. В этом же пролете размещается вертикальный газоход радиационно-трубчатого котла-утилизатора; наклонный газоход котла расположен в конверторном пролете.

Нижняя часть наклоненного газохода размещена на специальной тележке мостового типа, что позволяет передвинуть эту часть котла в период ремонта футеровки конвертора. Из котла-утилизатора, работающего без дожигания конверторных газов, последние попадают в газоочистку с трубами Вентури, в которой очищается до санитарных норм. Отсос газов производится мощными дымососами.

Основа отделения - конверторный пролет. В нем установлено обычно три конвертора с водоохлаждаемыми кислородными фурмами, которые обеспечивают подачу кислорода в конвертор с интенсивностью до 450 м3/мин. Цикл работы конвертора (загрузка, плавка, введение добавок, слив стали и шлака) составляет около 40мин. Непосредственно у конвертора расположена машина для футеровки конвертора, передвижные площадки для взятия проб и обслуживания сталевыпускного отверстия, печь для нагревания ферросплавов и плавления алюминия, механизированные совки и течки для подачи ферросплавов в конвертор и вермикулита в сталеразливочный ковш.

.1 Описание устройства работы конвертера

Кислородно-конвертерный процесс осуществляется в конвертере с основной футеровкой путем подачи технически чистого кислорода под давлением 1,0 ¸ 1,5 МПа через водоохлаждаемую фурму, опускаемую через горловину конвертера и имеющую на конце сопло, в жидкий чугун. На ММК им. Ильича сталь выплавляется в трех 160-тонных конвертерах с продувкой чистым кислородом сверху при интенсивности его подачи 400м3/мин.

Чистота технического кислорода составляет 98 ¸ 99,5 % (практически отсутствуют газообразныеохладители: N2, H2O, CO2). Лучшие результаты для получения минимального содержания азота в стали получают при чистоте кислорода не менее 99 %. С целью образования основного шлака, связывающего фосфор, в конвертер в начале продувки добавляют известь.

Основным источником тепла является физическое тепло жидкого чугуна и тепло экзотермических реакций окисления примесей металлошихты: Si, Mn, P, C. Доля тепла, вносимого каждым из перечисленных элементов, зависит от удельного теплового эффекта реакции окисления, их процентного содержания в металлошихте (чугуне и металлоломе) и условий проведения процесса.

Под воздействием дутья примеси чугуна окисляются, выделяя значительное количество тепла, в результате этого одновременно снижается содержание примесей в металле и повышается температура, поддерживающая его в жидком состоянии. Когда содержание углерода достигает требуемого значения, (количество углерода определяется по времени от начала продувки и по количеству израсходованного кислорода), продувку прекращают и фурму извлекают из конвертера. Полученный металл содержит избыток кислорода, поэтому заключительная стадия плавки - раскисление и легирование металла. Течение кислородно-конвертерного процесса (т.е. последовательность реакций окисления) обуславливается температурным режимом процесса и регулируется изменением количества дутья или введением в конвертер «охладителей» (скрапа, железной руды, извести). Средняя температура металла при выпуске около 1600 °С.

Тепловой баланс конвертерной плавки должен быть замкнутым, т.е. расход тепла на нагрев стали, шлака, газов и тепловые потери не должны превышать прихода тепла.

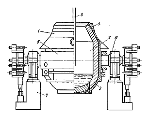
Кислородный конвертер представляет собой футерованный изнутри сосуд грушевидной формы, изготовленный из стального листа и имеющий сверху отверстие - горловину. Горловина служит для загрузки шлакообразующих материалов и скрапа, заливки чугуна, ввода в полость конвертера кислородной фурмы, отвода газов, слива шлака.

Конвертер состоит из трех частей (рисунок 4.1):

− верхней разъемной шлемной частью в форме усеченного конуса с меньшим основанием вверху (горловиной);

− средняя цилиндрическая часть;

− днище (разъемное или неразъемное), имеет полусферическую чашеобразную форму, выполняют съемным для удобства ремонта или глуходонным.

Для отделения металла от шлака при сливе в ковш конвертер снабжают леткой (сталевыпускным отверстием). Кожух конвертера сваривают из толстых стальных листов толщиной от 20 до 110 мм. Футеровку делают трехслойной:

− арматурный (теплозащитный) слой толщиной 110 ¸ 250 мм, примыкающий к кожуху, выполняют из магнезитового или магнезитохромитового кирпича.

− рабочий (внутренний, огнеупорный) слой из периклазоизвесткового, периклазоуглеродистого и др. кирпича, толщина которого в зависимости от вместимости конвертера составляет 380 ¸750 мм.

− промежуточный (между арматурным и рабочим слоем) обычно делают набивку толщиной 70 ¸100 мм из огнеупорной массы.

Общая толщина футеровки конвертеров вместимостью 50 ¸ 300 тонн составляет 700 ¸1000 мм. Перед вводом конвертера в работу футеровку обжигают при 1100 ¸ 1200 °С. Обычно футеровка выдерживает 800 ¸ 2000 плавок. В настоящее время при использовании периклазоуглеродистых кирпичей и создании шлакового гарнисажа, путем раздува шлака после каждой плавки, достигнута стойкость ~15000 плавок.

Корпус конвертера крепится в опорном кольце с цапфами, опирающимися на подшипники, установленными в опорных узлах на станинах. Цапфы соединены с механизмом поворота, обеспечивающим поворот конвертера на 360° в любом направлении.

По вертикальной оси конвертера сверху через горловину вводится водоохлаждаемая фурма. Над конвертером, кроме фурмы, находятся газоотводящий тракт и система загрузки сыпучих материалов. Под конвертером по рельсам перемещаются сталевоз и шлаковоз (тележки для сталеразливочного и шлакового ковшей).

Конвертер имеет две водоохлаждаемые фурмы, которые служат для подачи кислорода при продувке металла в конверторе. Одна фурма рабочая, другая резервная. Фурма изготовляется из 3 цельнотянутых труб, концентрически входящих одна в другую. Кислород, поступающий из кислородного цеха, подается по внутренней трубе; по наружной трубе подводится, а по третьей трубе отводится охлаждающая вода. К нижней части фурмы привинчивается или приваривается медная головка-сопло. Фурма устанавливается в вертикальном положении строго по оси конвертора.

  


.2 Технологический процесс

Кислородно-конверторный процесс- это выплавка стали из жидкого чугуна с добавкой лома в конверторе с основной футеровкой и продувкой кислородом сверху через фурму.

Основной задачей управления конверторной плавкой является получение стали с заданным содержанием углерода, необходимой температурой и содержанием вредных примесей.

Достижение этой цели требует правильного расчета шихтовки исходных материалов, т.е. количество чугуна, скрапа, руды, извести, боксита и синхронного хода процессов нагрева ванны и удаление примесей.

Сущность конвертерных процессов на воздушном дутье заключается в том, что залитый в плавильный агрегат (конвертор) чугун продувают сверху воздухом; кислород воздуха окисляет примеси чугуна, в результате чего он превращается в сталь.

.3 Средства автоматизации

Данная система автоматизации включает в себя следующие приборы и средства:

термопреобразователь сопротивления медный ТСМ-1088;

диафрагма;

датчик разности давлений Метран-100-ДД-1430;

датчик избыточного давления Метран-55-ДИ-516;

клапан регулирующий 25нж903бр с МЭП;

пускатель бесконтактный реверсивный ПБР-3А;

программируемый контроллер SimaticS7-300.

Термопреобразователь сопротивления ТСМ-1088 предназначен для измерения температуры жидких и газообразных сред в различных отраслях промышленности.

В качестве отборного устройства - диафрагма. Предназначена для измерения расхода вещества (газа, жидкости и пара) методом переменного перепада в трубах круглого сечения.

В качестве датчика избыточного давления для измерения давления кислорода в данной схеме используется Метран-55-ДИ-516-К-МП-t10-0,25-2,5 МПа-42-М20-ШР-КРТУ 4212-009-12580824-2002. Верхний предел измерения этого датчика 2,5 МПа.

В качестве датчика разности давления используется Метран-100-ДД-1430-К-02-МП1-t10-015-16кПа-25-42-ШР14/С5 2 02 К М20 ТУ 4212-012-12580824-2001, предел измерения которого 16 кПа.

Датчики давления Метран-100 предназначены для работы в системах автоматического контроля, регулирования и управления технологическими процессами и обеспечивают непрерывное преобразование измеряемых величин. Датчики Метран-100 предназначены для преобразования давления рабочих сред: жидкости, пара, газа (в т.ч. газообразного кислорода и кислородосодержащих газовых смесей) в унифицированный токовый выходной сигнал, цифровой сигнал.

В качестве регулирующего органа - клапан 25нж903бр (25- внутренний диаметр, нж - нержавейка, 903 - фланцевый, бр - блок регулирующий). Регулирующий клапан применяют для регулирования потоков воздуха и газов при небольших статических давлениях.

В качестве исполнительного механизма МЭО. Механизм предназначен для привода запорно-регулирующей арматуры (запорных, запорно-регулирующих, регулирующих клапанов) в системах автоматического регулирования технологическими процессами в соответствии с командными сигналами, поступающими от регулирующих и управляющих устройств.

В качестве пускателя применяем пускатель бесконтактный реверсивный 3-х фазный типа ПБР-3А. Предназначен для бесконтактного управления механизмами типа МЭО. Пускатель обладает высоким быстродействием, высоким значением вероятности безотказной работы, большим сроком службы, малой массой.

Все сигналы с датчиков идут на программируемый контроллер SIMATIC S7-300, предназначенный для решения задач автоматизации низкого и среднего уровня сложности.


5. МНЛЗ

МНЛЗ - машина непрерывного литья заготовок. Жидкая сталь непрерывно заливается в водоохлаждаемую форму, называемую кристаллизатором. Перед началом заливки в кристаллизатор вводится специальное устройство с замковым захватом («затравка»), как дно для первой порции металла. После затвердевания металла затравка вытягивается из кристаллизатора, увлекая за собой формирующийся слиток. Поступление жидкого металла продолжается и слиток непрерывно наращивается. В кристаллизаторе затвердевают лишь поверхностные слои металла, образуя твердую оболочку слитка, сохраняющего жидкую фазу по центральной оси.

Поэтому за кристаллизатором располагают зону вторичного охлаждения, называемую также второй зоной кристаллизации. В этой зоне в результате форсированного поверхностного охлаждения заготовка затвердевает по всему сечению. Этот процесс слиткообразования является способом получения слитков неограниченной длины.МНЛЗ состоит из сталеразливочного и промежуточного ковшей, водоохлаждаемого кристаллизатора, системы вторичного охлаждения, устройства для вытягивания, оборудования для резки и перемещения слитка.

Рисунок 5.1 - Конструкция МНЛЗ

После выпуска металла из сталеплавильного агрегата, доводки по химическому составу и температуре на АКП, ковш поднимается литейным краном на поворотный стенд МНЛЗ. Поворотный стенд представляет собой вращающуюся конструкцию с двумя позициями для установки ковшей.

После опустошения ковша в позиции разливки, стенд поворачивается на 180° и уже полный ковш находится в позиции разливки. После открытия шибера ковша, жидкий металл начинает поступать в промежуточный ковш.

Пром. ковш является своего рода буфером между Сталь ковшом и кристаллизатором. После открытия стопора (стопорный механизм позволяет плавно регулировать поток металла в кристаллизатор, поддерживая в нем постоянный уровень) пром. ковша металл поступает в кристаллизатор. Кристаллизатор представляет собой водоохлаждаемую конструкцию, которая совершает вертикальные колебания, для предотвращения застывания металла на стенках кристаллизатора. В зависимости от конструкции МНЛЗ размеры кристаллизатора могут варьироваться. В кристаллизаторе происходит застывание стенок сляба. Далее, под воздействием тянущих роликов сляб попадает в зону вторичного охлаждения (дуговой участок ручья), где на металл через форсунки разбрызгивается вода. После выхода металла на прямолинейный участок ручья, происходит отрезание слябов (газовая резка или ножницы).

Наиболее распространен способ непрерывной разливки, заключающийся в том, что жидкую сталь посредством специального механизма - манипулятора двумя сталеразливочными ковшами наливают в промежуточный ковш, который имеет несколько сливных отверстий тем самым делая разливку стали многоручьевой и непрерывной.

Из промежуточного ковша сталь непрерывно поступает в водоохлаждаемые изложницы без дна - кристаллизаторы имеющие механизмы качания, из нижней части которых вытягивают затвердевший по периферии слиток с жидкой сердцевиной. Далее слиток, как правило, движется через зону вторичного охлаждения, где затвердевает до твердости позволяющей ему поступить в секции роликовой проводки, после чего его разрезают на мерные куски посредством "летучих ножниц". Эти "куски" поступают на столы холодильника, проходя через которые, требуемое технологическое время, практически полностью остывают.

.1 Требования к системе автоматизации

Система автоматизации процесса может быть выполнена на базе оборудования фирмы SIЕМЕNS. В этом случае она может выполнять управляющие и информационные функции:

Управляющие

управление маслостанцией и гидростанцией управления шиберами;

автоматический запуск ручья;

имитация разливки металла;

автоматическое поддержание уровня в кристаллизаторе (скоростью или шибером);

автоматическое управление зоной вторичного охлаждения;

измерение длины заготовки и автоматическое управление машиной газовой резки;

управление подачей аргона в промковш и рапсового масла в кристаллизатор;

управление тянущими и правильными клетями;

управление системой качения и смазки кристаллизатора;

автоматическое складирование заготовки;

Информационные

измерение, контроль и регистрация необходимых параметров;

архивирование информации и просмотр за указанный промежуток времени;

контроль параметров подачи воды в кристаллизаторы;

6. ЛПЦ 3000

.1 Общие положения о методических печах

Листопрокатный цех 3000 - цех с толстолистовым, двухклетьевым станом «3000», предназначенным для контролируемой прокатки штрипсов для производства труб большого диаметра, структурное подразделение ПАО «ММК им. Ильича ». Имеет в своём составе четыре семизонных методических печи с шагающими балками, черновую и чистовую реверсивные клети кварто, агрегаты для правки, порезки, маркировки и неразрушающего контроля. Стан “3000” предназначен для производства листов толщиной 8-25 мм из конструкционных малоперлитных сталей типа 06-14 Г2САФБ. В качестве исходного материала для прокатки листов используются непрерывно-литые и катаные слябы. Цех имеет автоматические системы с высокой точностью управляющие процессом нагрева заготовки, температуродеформацией и скоростным режимом прокатки.

Нагрев слябов производится в нагревательных семизонных печах с шагающими балками, с двухсторонним нагревом, с торцевым посадом и выдачей.

Печь имеет 7 технологических зон, в том числе первая зона объединяет верхние и нижние горелки у торца загрузки перед дымоходом. Далее по ходу металла расположены 3 зоны сверху (3,5,7) и 3 зоны снизу (2,4,6).

Печь по длине имеет 4 участка. Первый со стороны загрузки - методическая зона имеет одну зону подачи топлива. Далее по ходу металла участок форсированного нагрева слябов имеет две зоны подачи топлива - верхняя (зона 3) и нижняя (зона 2). Третий участок нагрева слябов до конечной температуры поверхности имеет верхнюю (зона 5) и нижнюю (зона 4) - зоны подачи топлива. Последняя, четвертая, ближе к стороне выдачи - томильный участок, имеет верхнюю (зону 7) и нижнюю (зону 6) подачи топлива.

Методическая зона - (первая по ходу металла) характеризуется изменяющейся по длине температурой. В этой зоне металл постепенно подогревается до поступления в зону высоких температур (сварочную) во избежание возникновения чрезмерных термических напряжений. Тут осуществляется медленный нагрев металла в интервале температур от 0 до 500 °C, что особенно важно для высококачественных легированных сталей. Вместе с тем методическая зона представляет собой противоточный теплообменник. Находящиеся в состоянии теплообмена дымовые газы и металл движутся навстречу друг другу. Металл нагревается дымовыми газами, т.е. утилизирует тепло дымовых газов, отходящих из зон высоких температур. Общее падение температуры дымовых газов в методической зоне весьма значительно. Обычно в зоне высоких температур методических печей температура газов держится на уровне 1300-1400 °C, в конце же методической зоны она находится в пределах 850-1100 °C. Методическая зона значительно увеличивает коэффициент использования топлива, который достигает 0-45%.

Следующие по ходу металла - сварочные зоны или зоны высоких температур. В этих зонах осуществляется быстрый нагрев поверхности заготовки до конечной температуры. Для интенсивного нагрева поверхности металла в сварочных зонах необходимо обеспечивать температуру на 150-250 °C выше, чем температура металла на выход из печи.

Томильная зона (зона выдержки) - последняя по ходу металла. Она служит для выравнивания температур по сечению металла. В сварочных зонах до высоких температур нагревается только поверхность металла. В результате создается большой перепад температур по сечению металла, недопустимый по технологическим требованиям. Температуру в томильной зоне поддерживают всего на 30-50 °C выше необходимой температуры нагрева металла. Поэтому температура поверхности металла в томильной зоне не меняется, а происходит только выравнивание температур по толщине заготовки.

Транспортирование слябов в печи осуществляется шагающим подом. Дымоудаление производится через свод между первой и третьей зонами дымососом.

Режим работы - непрерывный. Заготовки к печам подаются загрузочным рольгангом и фиксируются в определенном положении перед печью, а затем сталкивателем сдвигаются на неподвижные балки печи. Нагретые слябы выдаются с помощью машины безударной выдачи с нижним приводом.

Данная печь обеспечивает нагрев металла до температуры 1050-1120°C для сталей типа 06-14 Г2САФБ , 1150-1250°C для конструкционных сталей типа сталь 15-40.

Путем изменения расходов топлива и воздуха на группу горелочных устройств обеспечивается возможность управления мощностью и режимом сжигания топлива в каждой отапливаемой зоне печи. Отопление печей осуществляется природным газом с помощью двухпроводных горелок типа ДВБ с принудительной подачей газа и воздуха.

Давление газа перед печью составляет 10 кПа, перед горелками - 3 кПа. Давление воздуха соответственно 4 и 2 кПа.

Максимальный расход газа на печь - 17000 м3/час. Максимальный расход воздуха для сжигания топлива - 190000 м3/час.Воздух в печь подается при помощи вентиляторов холодного дутья через металлический рекуператор, где он подогревается до 350-400°С.

Продукты сгорания удаляются из рабочего пространства через расположенный над печью котел-утилизатор со встроенным в него рекуператором, и далее через дымососы на дымовую трубу.

Участок печей должен обеспечить нагрев металла (слябов) перед прокаткой от исходного холодного состояния до температур, обусловленных технологическими требованиями процесса прокатки, и поштучную выдачу слябов на стан в моменты времени, определяемые темпом работы прокатного оборудования. В методической печи нагреваются слябы из различных сталей и разных размеров.

Таблица 1 - Температурные режимы нагрева


.2 Описание технологической схемы

Участок нагревательных печей толстолистового стана 3000 завода им. Ильича включает две параллельно функционирующие нагревательные печи (третья печь входит во вторую очередь строительства стана, а четвертая - в план развития цеха), а также оборудование для транспортирования слябов к печам и от печей до первого устройства прокатной линии. Слябы со склада поплавочно-загрузочными тележками подаются к подъемному столу, откуда поштучно сталкиваются на рольганг, поступают на весы и взвешиваются. Предусмотрена доставка слябов со склада из двух пунктов, расположенных на противоположных концах загрузочного рольганга. После взвешивания слябы холодным загрузочным рольгангом подаются к печам и фиксируются в определенном положении перед печью, а затем толкателем сдвигаются на неподвижные балки печи.

Шагающие балки печи перемещают посаженные слябы в печном пространстве в процессе нагрева и синхронизируют работу толкателей и устройств безударной выдачи. Управление шагающими балками предусматривается как с фиксированным, так и с переменным шагом в пределах его дискретности.

Нагретые слябы выдают из печи строго в порядке их загрузки с помощью устройств безударной выдачи, обеспечивающих четкую выдачу слябов и исключающих случаи аварии.

Слябы, выгружаемые из печи, транспортируются по рольгангу за печами в направлении технологического потока. Технологией предусматривается отбраковка слябов по результатам нагрева для повторного нагрева в печах.

Основным технологическим процессом на автоматизируемом участке печей стана является нагрев слябов из низколегированных конструкционных сталей типа (06 ¸ 14) Г2САФБ. На нагрев слябы поступают холодными. Температура нагрева слябов перед выдачей из печи составляет 1050 ¸ 1100 °С.

Перепад температур по сечению нагретого металла ±20 °С.Максимально допустимая температура в процессе нагрева равна 1150 °С.В первой зоне печи реализуется медленный нагрев до температуры поверхности сляба 600°С и перепады температур по его сечению при этом не превышают 300 °С, температура печи 900 °С, а газов 1050 °С.

В последующих зонах температура верхней поверхности сляба доводится до 1150 °С и выдерживается при ней до последней зоны, где перед выдачей снижается до 1070 °С. При этом перепад температур по сечению сляба составляет 20 °С, а температура в печи не превышает 1300 °С.

Расчетно-теоретическое время нагрева равно 227 мин или 7 мин/см (удельное время нагрева) при производительности одной печи 155 т/час.

.3 Технология прокатки на двухклетьевом стане

.3.1 Транспортировка слябов к черновой клети

Нагретые слябы выдаются в прокатку по одному при помощи машины безударной выдачи слябов (БВС). После выдачи слябы передаются по рольгангу к черновой клети. В случае задержки предыдущего раската в черновой клети, слябу сообщают возвратно-поступательное движение во избежание местного охлаждения металла и перегрева роликов рольганга. При транспортировке к черновой клети слябы должны проходить через камеру гидросбива для предварительного удаления окалины <https://ru.wikipedia.org/wiki/%D0%9E%D0%BA%D0%B0%D0%BB%D0%B8%D0%BD%D0%B0>.

.3.2 Прокатка в черновой клети

Прокатка листов производится по схеме, которая выбирается в зависимости от размеров сляба и готового листа:

поперечно-продольная - перед задачей в клеть сляб кантуют на 90°, делают несколько проходов для получения заданной ширины раската, вновь кантуют на 90° и далее прокатывают до получения необходимого размера подката;

продольно-поперечная - сляб задают в клеть без предварительной кантовки, делают несколько подходов до получения заданной ширины, кантуют на 90°, далее прокатывают до получения необходимого размера подката;

поперечная - перед задачей в клеть сляб кантуют на 90° и далее прокатывают до получения необходимого размера подката;

продольная - сляб без кантовки прокатывают до получения необходимого размера подката.

При прокатке получают заданную ширину листа с учётом припуска на величину обрезных кромок. Суммарная величина обжатий при поперечной прокатке зависит от требуемой ширины раската и размеров сляба. При этом длина получаемого при поперечной прокатке раската не должна превышать 2850 мм. Прокатка должна производиться посередине бочки валков, для чего раскат центрируют с помощью линеек манипуляторов. Кантовка на 90° производится при помощи конических роликов, с помощью линеек манипулятора проверяют ширину. При прокатке рядовых и низколегированных марок стали по обычным режимам температура начала черновой прокатки должна быть 1000-1200 °С, а температура конца черновой прокатки 900-1150 °С. В трёх-четырёх начальных проходах (начиная со второго) с поверхности сляба с помощью внутриклетьевого гидросбива (аналог «гидрометлы») удаляют печную окалину во избежание вкатывания её в металл.

После прокатки в черновой клети раскаты при необходимости их подстуживания перед прокаткой в чистовой клети передаются на дисковое охлаждающее устройство (байпас), где они охлаждаются до температур, обеспечивающих требуемые температуры начала прокатки в чистовой клети, постоянно двигаясь по охлаждающим дискам.

.3.3 Прокатка в чистовой клети

Прокатка раскатов в чистовой клети производится посередине бочки валков. Центрирование раската производится манипуляторными линейками. С целью уменьшения неравномерности охлаждения металла паузы между проходами при прокатке должны быть минимально возможными. На концы раската не должна попадать охлаждающая валки вода.

Регулирование температуры конца прокатки достигается:

выдерживанием раската на охлаждающем устройстве (байпасе);

изменением скорости прокатки;

охлаждением подката на рольганге между клетями при непрерывном его возвратно-поступательном движении во избежание местного подстуживания.

Охлаждение раскатов до температуры правки (600-700 °С) производится на воздухе. Возможно охлаждение раскатов с помощью установки ускоренного (ламинарного) охлаждения, расположенной за чистовой клетью перед РПМ-1 (ролико-правильная машина № 1).

.4 Конструктивные характеристики нагревательных печей

Методические печи стана представляют собой печи с шагающими подовыми балками конструкции Стальпроекта, с двухсторонним нагревом, с торцевыми загрузкой и выдачей металла.

Режим работы печей - непрерывный, в три смены. Заготовки к печам подаются загрузочным рольгангом и фиксируются в определенном положении перед печью, а затем сталкивателем сдвигаются на неподвижные балки печи. Нагретые слябы выдаются с помощью машины безударной выдачи с нижним приводом.

В методических печах обычно нагревают перед прокаткой заготовки толщиной 40-350 мм, шириной 40-1850 мм и длиной 1000-12000 мм с массой 50-40 000 кг, а в некоторых случаях слитки толщиной 300- 400 мм.

Обычно в методические печи сажают холодный металл. Горячий посад возможен только для рядовых сталей, для которых не нужна промежуточная зачистка, и в том случае, если заготовки можно направить непосредственно от обжимного или заготовочного стана в методическую печь. При передаче заготовки быстро остывают: через 1,5 ч после конца прокатки температура поверхности заготовок не превышает 350-400°С, а поэтому даже при благоприятных условиях количество заготовок с температурой поверхности 600-800° С обычно не превышает 30-35%.

При выборе температуры нагрева следует учитывать не только марку металла, но и ряд других факторов: технологию прокатки, тип стана, расстояние от печи до стана, сечение прокатываемого профиля, качество металла и т. д. Обычно температура нагрева рядовой стали при прокатке на сортовых станах равна 1200-1220° С, а на тонколистовых, где обжатие больше, 1230-1250°С. Для уменьшения усилия обжатия при прокатке температуру нагрева в ряде случаев принимают равной 1250-1280° С. Для заварки подкорковых пузырей в заготовках из кипящей стали, поступающих с установок непрерывной разливки, необходимы либо повышенная температура нагрева (1280-1300° С), либо увеличенное усилие обжатия.

В методических печах шагающего типа при одностороннем нагреве заготовки лежат на футерованных шагающих балках (печи с шагающим подом), а при двустороннем нагреве - на шагающих балках из водо-охлаждаемых труб (печи с шагающими балками). Используют также сочетание одностороннего и двухстороннего нагрева в так называемых комбинированных печах с шагающим подом и шагающими балками. В печах шагающего типа заготовки с сечением, близким к квадратному, укладывают с зазорами. Обычно отношение ширины зазора к ширине заготовки принимают равным 2-3, учитывая возможную кривизну заготовок. В результате при транспортировании заготовки не соприкасаются друг с другом и не скользят по подине, поэтому их поверхность не повреждается, а первоначально образовавшийся слой окалины не осыпается и защищает металл от дальнейшего окисления и обезуглероживания. Загрузка и выдача заготовок в этих печах независимы, и, следовательно, печи можно легко освобождать от заготовок для ремонта, а также выводить заготовки из зоны высоких температур при нерегламентированных остановках печи или стана. Укладка заготовок с раздвижкой повышает интенсивность и равномерность их нагрева. Печи шагающего типа не имеют ограничений по длине и ширине, т.е. по производительности.

В толкательных печах загрузку заготовок с рольганга загрузки осуществляют толкателем, а выдачу производят или по наклонным направляющим брусьям, так называемым склизам, или специальной машиной безударной выдачи. В толкательных печах при транспортировании заготовок шириной менее 120-150 мм трудно обеспечить строго поштучное сталкивание заготовок на рольганг выдачи, поэтому применяют боковую выдачу заготовок с помощью выталкивателя. Для мелкосортной квадратной заготовки сечением до 100-120 мм и длиной 9-12 м в толкательных печах применяют наклонный под, боковую загрузку и боковую выдачу с помощью выталкивателя или специальной машины выдачи.

В печах шагающего типа торцевую загрузку осуществляют клинкен-шлеппером, сталкивателем, непосредственно шагающими балками или специальной машиной загрузки. Торцевая выдача осуществляется непосредственно шагающими балками или специальной машиной выдачи.

Боковую загрузку и выдачу в печах шагающего типа производят по внутрипечным консольным рольгангам. С рольганга загрузки заготовки снимают непосредственно шагающими балками или сталкивателем, а на рольганг выдачи подают также шагающими балками или специальной машиной выдачи.

.5 Задачи управления методической печью

.5.1 Температура металла

Важнейшим параметром, характеризующим режим нагрева, является температура металла. Существенной является не только температура поверхности заготовки, но и её распределение по толщине. Однако непрерывный замер этого распределения для всех нагреваемых заготовок в процессе нормальной эксплуатации печи невозможен, поэтому в системах и алгоритмах управления, а также системах защиты используют в качестве измеряемого параметра только температуру поверхности. Температуру внутри заготовки определяют путём расчётов в использованием уравнений внутренней теплопередачи; и лишь периодически, для контрольных заготовок, измеряют с помощью специальных термопар.

Наиболее простой задачей является предотвращение оплавления заготовки. В этом случае под температурой металла понимают температуру поверхности заготовки вне зависимости от того, покрыта она окалиной или нет.Здесь достаточно одного датчика, установленного ближе к выходу последней по ходу металла сварочной зоны. Точность датчика не имеет значения. Достаточно один раз определить показания, при которых начинается оплавление поверхности заготовки, и установить системе защиты несколько меньшее задание.

Более сложной задачей является измерение температуры металла в методической зоне с целью использования полученной информации для управления температурным режимом всей печи при изменениях её производительности. В этом случае под температурой металла понимают температуру поверхности заготовки, измеренную в строго определённом месте печи, для которого выдерживается однозначная и линейная зависимость производительности печи от измеренной температуры.

Ещё более сложная задача возникает при переходе от систем регулирования температуры печного пространства к системе регулирования непосредственно температуры металла в процессе его нагрева. Такой переход целесообразен, так как связь между температурой металла и печного пространства не является однозначной, а непрерывно видоизменяется в зависимости от режима работы печи, сортамента и координаты нагреваемой заготовки, что приводит к значительному разбросу температур металла на выдаче из-за несвоевременного или неправильного изменения задания регуляторам температуры в зонах.

6.5.2 Температура рабочего пространства

Основным направленно изменяемым параметром при управлении нагревом металла является температура рабочего пространства. Именно она в первую очередь определяет теплоотдачу металлу, распределение температур в его массе, интенсивность окалинообразования, износ конструкций печи и другие важнейшие параметры, характеризующие процесс тепловой обработки металла и работу агрегата. Измеренная температура является главным источником информации о тепловом состоянии отдельных зон и всей печи в целом. На основе этой информации составляют инструкции по нагреву, выполняют тепловой расчет зон, рассчитывают нагрев металла, задают температурный профиль печи, осуществляют управление тепловым и температурным режимами. Достоверность результатов решения перечисленных задач в первую очередь зависит от того, какая величина принята в качестве температуры рабочего пространства, где и как она измерена.

Задачей локальной системы является обеспечение заданной температуры рабочего пространства в зоне отопления путём соответствующего изменения ее тепловой нагрузки.

Изменение тепловой нагрузки зон, оборудованных инжекционными горелками, осуществляется путём изменения расхода топлива при воздействии на общую поворотную заслонку на зональном газопроводе. Соответствующее изменение расхода воздуха горения достигается автоматически изменением режима работы горелок.

Для зон, оборудованных дутьевыми горелками, изменение тепловой нагрузки может быть осуществлено либо изменением расхода топлива с последующим изменением расхода воздуха, либо изменением расхода воздуха с последующим изменением расхода топлива. Второй способ имеет то преимущество, что при недостатке воздуха горения исключается возможность подачи в зону излишнего количества топлива, полное сгорание которого может произойти в следующей зоне или рекуператоре. Как недостаток этого способа часто указывают на дальнейшее увеличение, в первый момент регулирования, отклонения температуры от заданного значения. Однако значительная инерционность датчиков температуры рабочего пространства не дает проявляться этому недостатку. Гораздо более сильное влияние оказывают люфты в сочленениях исполнительных механизмов с поворотными заслонками на зональных воздухопроводах, приводящие к снижению запаса устойчивости системы регулирования.

Кроме того, при высокой температуре воздуха заслонки часто заклинивает, поэтому наибольшее распространение на методических печах получили системы, реализующие первый способ - в котором ведущим является топливо. Такие системы позволяют обеспечить с приемлемой точностью поддержание заданной температуры рабочего пространства даже при выходе из строя заслонок на воздухопроводах. Возникающие при этом нарушения в работе систем регулирования соотношения топливо - воздух не препятствуют регулированию температуры.

Качество работы системы зависит от того, насколько правильно выбраны точка контроля, способ установки датчика, тип и настройка регулятора, а также регулирующий орган.

Тип регулятора и его настройки выбирают в соответствии с динамическими свойствами зоны, которую с достаточной степенью точности можно рассматривать как последовательное соединение звена чистого запаздывания и статического звена первого порядка.

Требуемый температурный режим в методической печи зависит от скорости продвижения металла. В связи с этим были созданы каскадные системы автоматического управления температурным режимом методических печей. Каждая такая система включает локальные САР температуры в зонах отопления и управляющее устройство, которое определяет скорость продвижения металла и при ее изменении автоматически изменяет задания локальным регуляторам температуры таким образом, чтобы обеспечить требуемый нагрев металла в каждой зоне. Эти системы различаются главным образом тем, какой параметр использован в них в качестве меры скорости продвижения металла или темпа прокатки.

Импульсом является температура поверхности металла, измеряемая радиационным пирометром примерно в середине методической зоны. Между этой температурой и скоростью продвижения металла также существует обратная зависимость, которая более устойчива.

.5.3 Давление в рабочем пространстве печи

Давление в рабочем пространстве методических печей существенно влияет на их тепловую работу. Оно определяет при прочих равных условиях интенсивность нагрева металла, удельный расход топлива, величину угара и окалинообразования, удобство обслуживания и сохранность агрегата.

Излишне высокое давление ведёт к выбиванию из печи продуктов сгорания, что наряду с ростом тепловых потерь вызывает ускоренный износ внешних конструкций, затрудняет визуальный контроль и обслуживание, загрязняет атмосферу цеха.

Слишком низкое давление обусловливает подсос в печь через рабочие окна и различные неплотности в кладке холодного воздуха, что ведёт к ухудшению использования топлива, увеличению угара и окалинообразования и затрудняет управление процессом горения. Особенно опасен подсос воздуха через окно выдачи, вызывающий неравномерное охлаждение ближайшей заготовки и подстуживание подины. При длительной паузе в работе стана эта заготовка уже не может быть направлена в прокатку, а возвращается на склад.

Наиболее благоприятным в смысле обеспечения наилучшей тепловой работы печи и удобства её обслуживания является небольшое положительное давление во всём рабочем пространстве.

В зависимости от принятой схемы изменение тяги реализуют путём воздействия на положение поворотного клапана в дымовом борове, или на производительность дымососа, или на режим работы вытяжной трубы.

.5.4 Управление сжиганием топлива

Задачей этих систем является обеспечение экономичного сжигания топлива, достижение наилучших условий теплообмена факела с металлом и кладкой и поддержание в печи газовой атмосферы определённого состава. Указанные задачи решаются путём направленного изменения соотношения топливо - воздух (Со), автоматическая стабилизация которого позволяет улучшить качество нагрева металла, уменьшить удельный расход топлива, угар и окалинообразование.

В печах с инжекционными горелками происходит саморегулирование Со, требуемое значение которого устанавливают, изменяя при наладке положение воздушных клапанов перед горелками. Если при полностью открытых клапанах воздуха все же недостаточно, то уменьшают размеры газовых сопел или переходят на сжигание газа с пониженной теплотой сгорания.

В печах с дутьевыми горелками регулирование осуществляется путём принудительного изменения расхода или Со (схемы с ведущим топливом). Гораздо реже встречаются системы с ведущим воздухом. Поддержание заданного значения Со обеспечивают локальные системы регулирования, использующие в качестве входной информации непрерывно измеряемые расходы топлива и воздуха. Величину Со устанавливают с помощью выносного задатчика, отградуированного либо непосредственно в единицах Со, либо в единицах коэффициента расхода воздуха, определяемого как отношение измеренного расхода воздуха к теоретическому, необходимому для полного сжигания измеренного расхода топлива.

Динамика объекта регулирования, которым в данном случае является участок трубопровода между диафрагмой и регулирующим органом, аппроксимируемый с достаточной степенью точности звеном чистого запаздывания и апериодическим звеном первого порядка. В таких условиях удовлетворительное качество регулирования достигается при использовании ПИ-регуляторов со сниженным коэффициентом передачи пропорциональной части или при использовании чистых И-регуляторов.

Качественное регулирование заданного значения Со по измеренным расходам даже при достаточно больших тепловых нагрузках ещё не гарантирует экономического сжигания топлива о постоянства состава продуктов сгорания внутри печи.

Достаточно точно о составе атмосферы печи (полноте сжигания топлива) можно судить по результатам анализа продуктов сгорания, отбираемых в конце печи, или для печей большой мощности в конце каждой зоны. По найденному содержанию О2, CO, H2, CH4 и N2 может быть рассчитан действительный коэффициент расхода воздуха. Разность между заданным и рассчитанным значениями будет корректирующим сигналом регулятору Со.

.6 Общая структура автоматизированной системы управления технологическими процессами участка методических печей стана 3000

АСУТП предназначается для управления процессами транспортирования и нагрева металла на участке, имеющем в своем составе склад слябов, район загрузки, четыре семизонные методические печи с шагающими балками и район разгрузки. При управлении должны обеспечиваться необходимые по условиям прокатки значения температуры поверхности металла и перепада температур по сечению заготовки на выходе из печи при согласовании темпа нагрева заготовок с ритмом работы прокатного стана и минимальных затратах на передел.

АСУТП участка печей должна быть измерительным и информационно-управляющим комплексом, состоящим из материальной и структурно-алгоритмической частей, включающим в себя в качестве звена управления человека, который может выполнять различные функции контроля и обслуживания системы и объекта.

АСУТП состоит из двух уровней.

В нижний уровень входят локальные подсистемы, осуществляющие сбор первичной информации, управление технологическим оборудованием, регулирование и дистанционное управление технологическими параметрами процесса нагрева.

В состав АСУТП участка методических печей входят:

локальная подсистема слежения за положением металла на участке печей;

локальная подсистема управления транспортированием заготовок;

локальные подсистемы стабилизации параметров теплового режима каждой печи с локальной подсистемой гарантированного нагрева;

информационная подсистема;

подсистема оптимального управления тепловым режимом; подсистема адаптации;

подсистема оценки качества работы АСУТП и диагностики оборудования;

подсистема связи с ИАСУ цеха.

СПИСОК ИСПОЛЬЗОВАННОЙ ЛИТЕРАТУРЫ

Воскобойников В. Г. Общая металлургия./Воскобойников В. Г., Кудрин В.А.,  Якушев А. М. - М.: Металлургия. - 1985. - 480с.

Шевцов Є. К. Вступ до фаху. Автоматизація технологічних процесів і виробнцтв./Шевцов Є. К., Гулаков С. В., Сімкін О. І. - Маріуполь: Видавництво ПДТУ. - 2004. - 287с.

Строганов А. И. Производство стали и ферросплавов./Строганов А. И., Рысс М. А. - М: Металлургия. - 1979. - 504с.

Бурдаков Д. Д. Металлургия черных металлов./Бурдаков Д. Д., Цукерник З. Г. - Свердловск: Металлургиздат. - 1961. - 438с.

Г.М. Глинков, В.А. Маковский. Проектирование систем контроля и автоматического регулирования металлургических процессов. М; Металлургия, 1986, -352 с