Материал: ShPORY

Внимание! Если размещение файла нарушает Ваши авторские права, то обязательно сообщите нам

1. Автоматизация горочных процессов.

Гороч процесс состоит из массового числа повтор операций поэтому есть возможность автоматизации как отдельных операций, так и всего комплекса.

На горках применяют след ус-ва:

1.ГАЦ-позволяет осущест-ть приготовление маршрутов для каждого спускаемого с горки отцепов в 3-х режимах: 1) ручной каждой стрелки осуществляется оператором индивидуально с помощью стрелок рукояток; 2)полуавтомат-для приготовления маар-та нажатием кнопки пути на кот следует отцеп; 3)автоматич а)когда перевод стрелок осущ-ся автомати-ки без участия операторов для этого либо заблаговременно оператор набирает по сорт листу маршруты; б)данные сорт листка как сост ЭВМ передаются в управл-ий компьютер ГПЗУ –гор . При роспуске операторы только следует за процессом скатывания. В настоящее время ГАЦ освобожден операторов от приготовления мар-ов и позволяет больше внимания уделять процессу упр-ия замедлителями .ГАЦ позволяет осуществлять контроль роспуска сос-в выводится учет накопления в-в . так же считает кол-во в-в в каждом отцепе, кот спускается с горки. Исключает перевод стрелок под длинобазный ваг-ми.

2.Автоматическое задание скорости роспуска АЗСР. Позволяет в зависимости от величины отцепов, от сорт путей указывать машинисту гор лок на гороч светофоре скорость надвига, а так же информировать оператора о переменой скорости надвига

3.Автомат регулирование скорости скатывания отцепов АРС . позволяет в зависимости от веса отцепа, его годовых свойств , назначения заполнения сорт путей , регулировать скорость скатывания отцепа ( управлять ваг замедлителями). Для получения необходимых сведений используются автомат весомер, скоростимер, радиолакационое ус-ва, для определения расстояния до стоящих на сорт путях ваг. Эти данные снимаются в ходе скатываются отцепка, передается в ЭВМ, кот рассчитывает скорость выхода отцепа с каждой тормоз позиции и включает соответв режим торможения. АРС исключает труд башмачников, повышает безоп-ть процесса, значит увелич перераб способность горки, сводит к мин необходимость осаживания. Система АРС включает :- ус-ва управления прицельным торможением (УУПТ) , - ус-во контроля заполнения путей (КЗП)

4.Телеуправление гор лок – позволяет в соответствии с АЗСР и ГАЛС осуществлять автомат смену режима работы гор лок-в (автомашинист), что приводит к оптимизации скорости надвига, экономии расхода топлива и повышению БП

4. Диспетчерское руководство работой станции.

В основу технологии работы сортировочной станции положен метод диспетчерского руководства, обеспечивающий наилучшее использование технических средств и наименьшее время нахождения вагонов на станции или системе. ДСЦ на основании информации о подходе поездов, данных ТГНЛ, фактическом состоянии ПП и СП планирует очередность обработки составов, очередность расформирования, обеспечивает роспуск тех составов в которых есть вагоны завершающие процесс накопления на путях СП. ДСЦ предусматривает уборку местных вагонов к определенному времени, перераспределяет маневровую работу между горкой и вытяжками обеспечивая ускорение накопления, сокращение межоперационных простоев. При сгущенном подходе поездов принимает все меры для предотвращения излишних простоев в ПП и задержек поездов на подходах станции. Меры:

  1. Временное освобождение горки от формирования составов

  2. Замена осаживания на подтягивание

  3. Временная задержка

  4. На 2хсторон станциях прием разборочных поездов с угловых вагонами сразу в родную систему

  5. Перераспределение маневровых локомотивов между горкой и вытяжками формирования

  6. Использование подменного маневрового локомотива при экипировки

К концу смены ДСЦ обязан обеспечить свободность путей для приема разборочных поездов, подготовить составы к роспуску, подготовить сортировочные пути к роспуску, подготовить составы на отправление в начале следующей смены.

Рабочее место ДСЦ оборудуется АРМом, информационным табло, телефонной связью со станционным диспетчером ДСП, дежурным, громкоговорящей оповестительной связью, радиосвязью и др.

5. Качественные показатели эксплуатационной работы железных дорог.

  1. Оборот вага – время от погрузка вагона до следующей погрузки

  2. Степень использования ГП вагона

    1. Статическая нагрузка – отношение общей массы груза в вагонах к общему числу вагонов, т.е. показывает какое количество груза приходится на 1 погруженный вагон на станции погрузки

    2. Динамическая нагрузка – сумма т-км-нетто к сумме ваг-км пробега, т.е. какое количество тонн приходится на 1 вагон в движении.

  1. Скорость движения– уровень технической вооруженности ЖД и качество организации движения.

    1. Ходовая – средняя скорость движения поезда на участке без учета стоянок на промежуточных станциях без учета времени на разног и замедление

    2. Техническая – учитывает затраты времени на разгон и замедление

    3. Участковая –учитывает и стоянки, и разгон и замедление

    4. Маршрутная – средняя скорость движения на направлении с учетом разгона, замедления, стоянок на промежуточных и технических станциях, т.е. расстояние, проходимое за сутки.

    5. Скорость доставки грузов – средняя скорость перемещения грузов от момента приема ЖД до момента выдачи ГП

7. Классификация и сущность различных видов маневров.

Маневрами наз все передв-я ПС, т.е. группы или отдельных в-в, а так же одиночных лок-в по ст путям для выполнения различных видов обработки п-в и в-в, обеспечение лок-в, выгрузки и др операций.

По хар-ку работы:

1.Сортировочные или разъединительные (вагоны по заранее установленным признакам расставляются по разным путям) 2.Группировочные или соединительные (подборка вагонов с разных путей в состав в определённом порядке) 3.Перестановка –перестановка с пути на путь, парка в парк , подача, уборка в-на на гр пункты. 4.Прочие или специальные – осаживание в-в в сорт парке, подтягивание, перемену при взвешивании, промывке, очистке.

По назначению:

1.Расформирование составов поездов, расстановка вагонов по путям СП в соответствии с планом формирования – маневры на горке или вытяжках 2. Формирования – расстановка вагонов в соответствие с требованиями ПТЭ сцепления вагонов, устранение не подход автосцепок

3. Постановка вагонов прикрытия 4. Перестановка сост-в или групп в-в с пути на путь, из парка в парк 5.Подача, уборка в-в на гр пункты 6.Грузовые выполняется на гр пунктах – расстановка, перестановка , сборка 7.Прицепка, отцепка в-в от с-ва 8. Осаживание и подтягивание вагонов

9. Прочие

По способу выпол-ия:

1.Осаживанием

2.Толчками

8. Количественные показатели эксплуатационной работы железных дорог.

Количественные показатели - характеризуют объем работы и рассчитываются для сети жд в целом для дорог и отделений, а так же линейных подразделений.

  1. Объем перевозок грузов, т год. ∑p – обеспечивает увязку панов производства с планом перевозок, единым измерителем – тоннами.

  2. Грузооборот, т-км в год - ∑pI – расстояние перевозок

  3. Количество перевезенных пассажиров за год ∑А

  4. Пассажирооборот, пас-км в год ∑АI

  5. Приведенная продукция транспорта, приведенные т-км за год ∑pI+k∑АI

  6. Погрузка, тон – число погруженных вагонов за сутки, месяц, квартал, год

  7. Выгрузка, ваг

  8. Грузонапряженность – частота перевозок, загруженность линии, т км нетто на 1 км

  9. Пробег вагонов, локомотивов, поездов, км за сутки

10. Назначение и размещение СТЦ на участковых и сортировочных станциях. Система кодирования информации на железнодорожном транспорта (поездов, вагонов, станций, грузов, грузополучателей).

На участковых и сорт ст на ряду с ТО и КО составов должны обрабатываться док-ты транз, разбор и СФ п-в , а так же отдельных в-в. Для этого организуют на участковых станциях – технические конторы; на сортировочных – СТЦ. Для выполнения:

  1. Обработка документов прибывших и отправляемых поездов и вагонов

  2. Ведение непрерывного номерного учета наличия и расположения вагонов на путях станции и погрузочно-выгрузочных пунктах.

  3. Контроль за соблюдением плана формирования поездов, установленных норм массы и длины поездов

  4. Контроль за своевременным отправлением вагонов со станции

  5. Хранение грузовых документов

  6. Формирование и отправление натурного листа

  7. Отправление поездов с грузовыми документами

  8. Подготовка и ввод в ЭВМ необходимой информации о операциях с поездами

  9. Ведение установленных форм учета и отчетности

Составной частью СТЦ является ИЦ, задачи ИЦ:

  1. Получение и обработка информации о подходе поездов, вагонов, грузов

  2. Подготовка и передача в ИВЦ дороги и СТЦ соседних станций исходных данных для планирования работы станции

  3. Передача на другие станции информации об отправлении поезда

  4. Передача ГП информации о прибытии груза и предстоящей подачи вагонов под выгрузку

ИЦ размещается в смежных помещениях СТЦ.

На участковых станциях технические конторы размещаются в пассажирских зданиях рядом с ДСП, штат 3-5 человека в смену.

На сортировочных станциях СТЦ размещается в районе СГ в одном здании с ДСЦ и ДСПГ, штат 20-40 человек в смену.

СТЦ сооружается также на грузовых и пассажирских станциях. На прочих станциях имеются технологические группы, выполняющие те же операции что и на др. станциях

13. Оборудование СТЦ. Устройства механизации и автоматизации по проверке составов и пересылке документов на сортировочных станциях.

Работа СТЦ должна обеспечивать обработку документов с опережением обработки самих поездов и вагонов в парках станции. Этому способствует размещение и оборудование СТЦ. Все работники СТЦ должны иметь: План формирования поездов, Схема сети жд с ЕСР (единая сетевая разметка), Таблицы массы и длины составов на прилегающих к станции участках, Таблицы массы тары и условной длины вагонов, Таблицы сроков доставки грузов и другие материалы

В СТЦ должна быть специальная мебель: Шкафы для хранения документов, Вращающиеся стулья, Лампы дневного света, Изолированы от шума

Для механизации применяют: АРМ операторов СТЦ, Телетайпы для приема передачи информации, Для пересылки документов СТЦ связана с ПП и ПО, с товарной контрой пневмопочтой большого диаметра, Подъемники и конвейеры для документов, Электромагнитные штемпели, Устройства для упаковки и пломбирования пакетов с документами

Остается большой объем ручного труда и из-за этого большой штат СТЦ.

Недостатки:

  1. Потери документов

  2. Разъединение документов и вагонов

  3. Ненадежный контроль за своевременным отправлением вагонов со станции

14. Оперативное планирование работы станции: виды планов, их содержание, автоматизация текущего планирования.

Цель – обеспечить в конкретных условиях планируемого периода безусловное и качественное планирование принятых ЖД заявок на перевозку грузов с минимальными эксплуатационными расходами.

  1. Сменно-суточное планирование устанавливает задание на предстоящие отчетные сутки и на 12 часовые периоды работы станционных смен

  2. Текущее планирование поездной и маневровой работы на 4-6 часов в зависимости от изменения в оперативной обстановку, уточнение пониточного плана отправления грузовых поездов с пономерным прикреплением поездных локомотивов и назначением ЛБ.

  3. Диспетчерское регулирование станционной работы обеспечивает компенсацию отклонений, возникших в ходе реализации текущих планов.

Задачи оперативного планирования, определение:

  1. Количества и времени отправления поездов со станции

  2. Порядка обеспечения отправляемых поездов локомотивами и ЛБ

  3. Объемов погрузки в целом, по роду груза, типам ПС и выгрузки…

  4. Показатели использования ПС

16. Операции, выполняемые с местными вагонами на участковых и сортировочных станциях.

Местными называются вагоны с которыми на станции выполняю грузовые операции. По характеру этих операций различают 4 вида местных вагонов:

1.Прибывшие в груженом состоянии под выгрузку

2.Прибывшие в порожнем состоянии под погрузку

3.Прибывшие гружеными, выгружены и опять загружены (сдвоенные операции)

4.Сборные вагоны и вагоны с контейнерами проходящие грузосортировку.

Местные вагоны могут прибыв на станцию группами или по одному в разборочных поездах вместе с транзитными. Отправляться со станции могут в поездах своего формирования или отдельными маршрутами. Документы на местные вагоны из СТЦ перед. в товарную кантору. С местными вагонами выполняются те же операции что и с транзитными вагонами с переработкой, но кроме того:

  1. Накопление под подачу

  2. Подача к грузовому пункту

  3. Расстановка по грузовым фронтам

  4. Выгрузка, погрузка

  5. Перестановка с фронта на фронт при сдвоенных операциях

  6. Сборка вагонов с грузовых фронтов

  7. Уборка вагонов на станционные пути

  8. Сортировка в зависимости от их назначения

Так же возможны операции:

  1. Очистка

  2. Промывка

  3. ТО и КО перед подачей

  4. Перегрузка груза из одного вагона в другой

  5. Передача вагона на жд путь НОП и приемка с них

9. Назначение и классификация грузовых станций.

Грузовая станция – крупная ЖД станция, предназначенная для выполнения больших объемов ПРР. Располагаются в промышленных и административных центрах, больших населенных пунктах, в районах массового зарождения или погашения грузопотоков, в морских и речных портах. Служат связью межу перевозчиком и грузовладельцем

Классификация

  1. По назначению

    1. Общего пользования – обслуживание любых клиентов

    2. Необщего пользования – обслуживание привыкающие жд ПНОП

  2. По структуре грузопотоков

    1. Неспециализированные – для переработке любы грузов

    2. Специализированные – для переработки однородных грузов

  3. По соотношению и характеру грузовых операций

    1. Погрузочные - добывающая промышленность

    2. Выгрузочные – в крупных промышленных и административных центрах с обрабатывающей промышленностью

    3. Погрузочно-выгрузочные – одновременно крупные промышл. центры и районы с добывающей промышленностью

    4. Перегрузочные – перевалка грузов

  4. По объему работы

    1. С большим (более 400 ваг/сут)

    2. Со средним (400…200 ваг/сут)

    3. С малым (менее 200 ваг/сут)

Опорные грузовые станции – в районах концентрации грузовой работы:

  • По объему работы

  • Роду груза

  • По взаимосвязи с автодорогами

  • По размеру пунктов обслуживания станции

6. Классификация и нумерация грузовых поездов.

Поездом - это сформированный в соответствии с ПТЭ и планом формирования сцепленный состав вагонов с 1-им или несколькими действующими локомотивами и имеющие установленные сигналы.

Классификация грузовых поездов:

  1. По скорости движения: ускоренные (↓ массой, ↑ скоростью), обычные.

  2. По числу групп вагонов в составе:

    1. одногрупные – на одну станцию расформирования/выгрузки

    2. групповые (из двух и более подобранных групп на разные ст. назначения).

  3. По состоянию: груженные; порожние; комбинированные.

  4. По условиям формирования

    1. Отправительские – организованные с мест погрузки с обязательным проследованием до станции назначения без переработки

      1. Прямые

      2. В распыление

    2. Технические - формируются на технических и грузовых станциях без участия ГО.

  5. По условиям обращения

    1. Маршруты – прямой, кольцевой, распыление

    2. сквозные проходящие без переработки не менее чем через одну тех ст. формируются на сортировочной ст.

    3. участковые – без изменения состава в пределах одного участка.

    4. участково-групповой – вагоны подобраны по группам, по участкам.

    5. сборные для развоза и сбора вагона по станциям участка;

    6. сбороно-участковые – часть участка следуют без переработки

    7. вывозные – с технич. ст. на грузовые и промежуточные ст. с большим объемом работы

    8. передаточные поезда – между станциями одного участка

Каждому поезду присваивается номер:

  1. Сквозные – 2001-2998

  2. Участковые – 3001-3398

  3. Сборные – 3401-3448

  4. Сбороно-участковые – 3451-3488

  5. Сборные со сборно-раздаточными вагонами – 3491-3498

  6. Вывозные – 3501-3598

  7. С порожними вагонами – 1131-1198

  8. Тяжеловесные – 1901-1998

  9. Диспетчерский локомотив – 3801-3898

  10. Хозяйственные поезда – 5001-5398

2. Административное и оперативное управление работой сортировочной станции.

ДС – начальник станции лично или через свих заместителей (ДСЗ) и руководителей смен (ДСЦ, ДСЦС, ДСП).

ДС должен решать обширный комплекс административно-хозяйственных, финансово-экономических, правовых, технических и других вопросов, связанных с функционированием станции

Штат административно- управленческого персонала и состав дежурных смен зависит от объема выполняемой работы (класса ст.) и устанавливается приказами вышестоящей администрации.

Всей оперативной работой руководит маневровый диспетчер ДСЦ или станционный ДСЦС в районе горки.

Работой ПП (прием п-в, уборка поездных лок-в, обработка сос-ва, маршруты заезда гор лок-в) управляет ДСП. Работой горки ( надвиг, роспуск, осаживание ) управляет ДСПГ и операторы горки с помощью системы ГАЦ.

Процессами окончания форм-ия сос-в на вытяжку,подтягиванием и осаживанием в-в в выходной горловине сорт парка, работой манн лок-в и вытяжек – ДСПФ ( дежурный по парку формир)

Управления стрелок в этом районе передается на посты местного упраления, где работают операторы.

Работа по форм-ию и расф с-в по указанию ДСЦ распр между горкой и вытяжкой.

Работой ПО и ТР парков управляет ДСП с помощью дежурных по паркам.

Маршруты перестановки из СП в ПО готовит ДСП предварительно согласовав с ДСЦ и с ДСПФ.

Работа ДСЦС, ДСЦ, ДСП, ДСПГ, ДСПФ характеризует высокой информационной загруженностью, поэтому широко внедряются ср-ва мех-ии и автом-ии ст процессов. Используются современные средства сбора ин-ии, различные АРМ и АСУ.\

3. Виды и содержание информации о подходе поездов и назначении вагонов (расшифровка ТГНЛ).

Основой для оперативного планирвоания является информация о подходе поездов

  • Предварительная

  • Точная

Предварительная содержит данные:

  1. Об ожидаемом числе поездов с разбивкой по категориям

  2. О числе вагонов под выгрузку

Периодически через каждые 6 часов уточняется: № поездов, предположительное время прибытия, общее число вагонов в составе и их масса, число вагонов по назначениям плана формирования

Точная – поступ. непрерывно в виде ТГНЛ. ТГНЛ передается не позднее чем через 10 мин после отправления поезда и содержит служ. и информ. фразы. Телеграммы передаются на поезда время хода которых от станции формирования, до станции расформирования мало. Они содержат № и индекс поезда, намечаемое время отправления, условную длину и количество вагонов по накладной ст-ии расформирования.

17. Опорные промежуточные станции и их эффективность.

В связи с удлинением участков обращения сборных п-ов, на них стали выделяться опорные промежуточные станции на которых сосредоточена маневровая работа. В среднем на участке от 1-3 опорные станции.

Сборные поезд движется с технической станции только на опорну станцию. На них выделяют ман. Лок., стараются сконцентрировать погрузку, выгрузку грузов.

Плюсы:

+ уменьшение времени работы сборочного поезда на участке

+ улучшение условий работы локомотивной и составительской бригады

+повышение участковой скорости

Опорные ст бываю 2-х видов:

1.При закрытии неопорных ст для грузовых операций и превращения их в разъезды и обгонные пункты. Клиентуре этих ст предлагают вести груз автотранспортом на опорные ст. Для жд закрытие ст-это+, для клиентуры это огромный -, поэтому чтобы привлечь клиента производится ремонт авто дорог за счет средст жд тр-та, вводят понижающие тарифы и тд.

2.При сохранении грузовой работы на неопорной ст. На опорной ст отцепляют в-ны назначением на соседние неопорные ст. Затем эти вагоны маневр лок везут на неопорн ст.

-при этом возникают простой в-ов в ожидании вызова

-занимается пропускная способность линии

-возникают дополнительные пробеги ваг-ов (обратные)

Поэтому стараются концентрировать грузовую работу на меньш числе ст расширяют на опорных ст складские помещения, внедряют механизацию и тд.

Оперативное планирование работы станции в современных условиях информатизации отрасли базируется на данных следующих комплексов:

  1. Автоматизированная система управления перевозками грузов включая динамическую модель перевозочного процесса фиксирующую дислокацию и состояния поездов, локомотивов, бригад, вагонов, грузовых отправок

  2. Автоматическая комплексная система фирменного транспортного обслуживания включает базы данных на заявку перевозки грузов в том числе в контейнерах, маршрутами, а также средства контроля выполнения заявок

15. Операции, выполняемые на промежуточных станциях и их техническое оснащение (на примере станции поперечного типа).

Промеж ст выполняют:

1.технические операции- прием, отправление , пропуск, скрещение и обгон поездов, маневры со сборными поездами и по обслуживанию грузовых пунктов, контрольно-технический осмотр вагонов при срабатывании автоматических устройств диагностики.

2.грузовые опер- погрузка, выгрузка груза в небольшом объеме.

3.комерчиские –прием, выдача груза, оформление грузовых документов, прием платы за перевозку.

4.пассажир опре-ии – посадка, высадка, продажа билетов, прием (хранение), выдача багажа, прием оплаты за багаж.

На некоторых промеж ст обслуживаются подъездные пути, грузятся отправительские маршруты, начинается или заканчивается подталкивание.

Некоторые из пром ст яв-ся пунктами оборота пригородных поездов.

На промеж ст имеются:

  1. путевое развитие – 3-5 ПОП на ст однопутных линий, 1-2 погрузочно выгрузочные пути, Вытяжной путь для маневровой работы, пассаж здания с пассажирскими платформами и др устр-ми для обслуживания пассаж, 1 – выставочный.

  2. Пассажирские устройства – платформы, ПЗ

  3. Устройства водоснабжения, освещени, электроснабжения

  4. СЦБ и связи

  5. Складские помещения площадки, погрузочно разгрузочное машина

  6. 1 маневровый лкоомотив и т.д.

В пассажирском здании обычно размещаются контора ст, где обычно нах-ся ДС, инженер, товарный кассир, информационное бюро, приемосдатчик.

Для ДСП обычно сооружен пост ЭЦ.

Схемы ст должны обеспечивать своевременный пропуск поездов и мин затраты времени на работу со сборными поездами.

По взаимному расположению путей различают ст с поперечным, продольным и полупродольному расположению.

11. Назначение станций и их классификация. Классность станций.

Станции - раздельный пункт имеющий путевое развитие и устройства, позволяющие выполнять тех, комерч, грузовые и пассажир операции.

В зависимости от основного назначения и хар-ки работы ст делятся на :

-промежуточные (основ технические операции)

-участковые (смена лок бриг, обработка транзит поездов,,для расформир формир составов грузов и пассаж составав)

-сортировочные (для массовой переработки вагонов, для обработки тр поездов, смены лок бригад, для груз и пассаж операций (немного)

-грузовые для погрузки выгрузки грузов,обслуж тр п-ов , смены лок бригад и лок, могут формир отправительские маршруты.

-пассажирские

- предпортовые

По схемам бывают: -сквозные –тупиковые -комбинировоные

В зависимости от объема и сложности работы ст делется на:

-внекласные свыше 100 б (170) -1кл 40-100б -2кл 18-40 -3кл 8-18 -4кл 1,5-8 -5кл 1,5

Каждый вид операций выполняемых на станции отцениваеться в балах.

Пасс станции бывают внеклассные и 1 кл.

Сортировоч от внеклас до 2кл.

Участковые от 1-3 кл.

Грузовые от внеклассных до 4 кл.

Промежкточные от3 до 5кл.

12. Назначение, размещение и техническое оснащение сортировочных станций.

Сорт ст предназначены для массового расформирования, формирования поездов, переработки транзитных, местных вагонопотоков и формирования поездов следующих на большие расстояния без переработки, кроме того формирование сборных, передаточных поездов.

Сортировочные станции устраивают в районе массовой погрузки или выгрузки грузов, на выходах из добывающих районах, на подходах к крупным промышленным и административным центрам.

Для выполнения сортировочной работы сооружают:

  1. СП

  2. Сортировочную горку

  3. Вытяжные пути

Для операций с поездами предусмотрены парки приема, парк отправления сформированных поездов, отдельные парки или пути для транзитных поездов.

ПП, ПС, ПО – вместе с горкой образовывают сортировочную систему. Кроме того имеются устройства локомотивного и вагонного хозяйств, водоснабжения, электроснабжения, связи и СЦБ.

18. Организация и механизация снегоборьбы на станциях.

Снежные заносы могут приводить к замедлению или полной остановки работы.

В июле разрабатывается план уборки и вывоза снега со станции начальником дистанции пути совместно с ДС. План включает:

  1. Порядок использования снегоуборочной техники

  2. Порядок формирования

  3. Разработку графиков курирования

  4. Очередность очистки путей и стрелок

  5. Порядок привлечения рабочей силы (сбор людей, места обогрева, питания, организация их работы)

  6. Потребность в ПС для вывоза снега.

Очередность очистки путей и стрелок:

  1. Очистка стрелок и горловины парков прибытия, формирования, отправки поездов, горочные тормозные позиции, пути стоянки пожарного и восстановительного поездов.

На каждом стрелочном посту должен быть набор инвентаря для очистки стрелок вручную. Для очистки централизованные стрелок применяют пневматическую обдувку стрелок, а также и ручную обдувку сжатым воздухом. Для защиты стрелок от льда используют электрические и газовые нагреватели.

  1. Очистка сортировочных путей, путей надвига, вытяжных, путей парков приема и отправления.

На время уборки снега пути освобождают. В ПП и ПО очищать путь снегоуборочной машиной целесообразно в след за надвигом или отправлением поезда

  1. Очистка путей ТО и экипировки поездных локомотивов

  2. Очистка путей вагонного и прочих локомотивного хозяйства

  3. Очистка ходовых и погрузочно-выгрузочных путей

На крупных сортировочных станциях обычно вводят в работу несколько снегоуборочных машин, не менее 1 машины в СП и 1 машины в ПО и ПП. Места для выгрузки определяются для каждой системы отдельно.

Руководящие документы – график курсирования снегоуборочной машины (10-15 рейсов в смену). После любой метели станционные пути должны очищены от снега не более чем в 3 суточный срок.

Для очистки снега применяют СМ

Очистка в парках:

  1. СП – СМ соединяется на пути с вагонами и выталкивает их за пределы путы до полного освобождения. Рабочий полурейс – очищение пути и за ней втягивает вагоны

  2. ПП – СМ загоняется на путь с которого будет осуществляться надвиг состава и движется следом за надвигающемся составом

ПО – так же, как и в ПП, только за отправляющимся поездом

20. Организация маневровой работы с местными вагонами: планирование и организация подачи и уборки вагонов на грузовые пункты.

Грузовые фронты специализируются по роду груза, поэтому с местными вагонами выполняется большой объем маневровой работы:

  1. Подборка вагонов по грузовым фронтам перед подачей

  2. Подача к грузовым фронтам

  3. Перестановка на ГФ

  4. Перестановка с ГФ на ГФ

  5. Сборка с фронтов

  6. Уборка на пути станции

Основой рационального управления является диспетчерское руководство местной работой. Это руководство основано на комплексной информации о предстоящем прибытии вагонов на станцию и о предстоящем окончании грузовых операций на ГФ.

На постоянном номерном учете наличия и расположения вагонов на станции и ГФ.

На внутри станционном графике обслуживания грузовых пунктах

Планирование и организация подачи и уборки вагонов на грузовые пункты осуществляется:

  1. Для каждого ГП расчёт нормы времени на все элементы простоя местных вагонов

  2. Для каждого ГП определить оптимальное число подач и уборок местных вагонов

  3. С учетом условий работы станции и ГП разработать график подач и уборок

  4. Установить дополнительное число подач и уборок порожних вагонов

Оптимальное число подач и уборок местных вагонов устанавливается по минимальным эксплуатационным расходам связанным:

  1. С простоями вагонов в ожидании подачи, уборки

  2. Затрат маневровых средств

Рациональная очередность устанавливается ДСП с учетом минимизации общего простоя местных вагонов и затрат маневровых средств

22. Основные операции и устройства на грузовых станциях (на примере станции сквозного типа).

Грузовые станции общего пользования располагаются в ЖД узлах для переработки местных вагонов потоков и на линиях для переработки местных и транзитных, выполняют:

  1. Технические операции - Прием поездов, Расформирование с сортировкой вагонов, Подача вагонов в грузовой район, Расстановка по ГФ, Уборка вагонов с мест погрузки выгрузки, Формирование поездов, Отправление их на сортировочную станций или на жд линию

  2. Коммерческие и грузовые операции, связанные с приемом, погрузкой, выгрузкой и отправлением грузов - Прием груза от ГО, Хранение груза, Погрузка, Выдача ГП, Оформление документов на грузовую перевозку, Сортировка, Взвешивание и перегрузка, Выгрузка, Проверка погрузки и крепление грузов на ОПС. Сдача вагонов под охрану

Устройства на грузовых станциях, общего пользования

  1. Пути – приемоотправочные, сортировочные, погрузочно-выгрузочные, выставочные, весовые, соединительные, ходовые

  2. Сортировочные устройства – вытяжной путь со стрелочный улицей на уклоне (до 100 ваг/сут) , профилированная вытяжка (100…250 ваг/сут), горка малой мощность (от 250 ваг/сут)

  3. Грузовые районы – погрузочно-выгрузочные, выставочные, соединительные пути, складские и служебно-технические здания, ПРМ

  4. Служебное технические здания и сооружения

  5. Устройства для экипировки локомотивов и ремонта вагонов (необязательно)

Устройства водоснабжения, водоотведения, теплоснабжения, освещения, энергоснабжения, связи и телевидения и механизированная почта для пересылки документов.

Станция сквозного типа применяется на магистральных линиях и крупных жд узлах, на них производится пропуск транзитных поездов, а также формирование и расформирование сборных поездов и маршрутов.

На крупных ЖД узлах и городах принято предусматривать сквозными с последовательным расположением парков и последовательным или параллельным расположением грузовых районов.

24. Основные операции, выполняемые на сортировочных станциях. Классификация сортировочных станций.

на сорт выполн-ся следующие операции:

1.Подготовка составов к расформир-ю

2.Расформир составов

3.Накопление вагонов на новые составы

4.Формир-ие составов

5.Подготовка к отправление

Кроме того на сорт ст выполняют все операции с транзит п-ми:

1.Смена лок илок бриг

2.ТО и КО

3.Изменеия массы и длинны

На сорт ст так же производится пропуск пасс и пригрод п-в, ремонт и экипировка лок и вагонов , снабжение водой в-в с живностью , экипировка рефрижераторных секций,подготов в-в под погрузку их очистка и промывка, грузовые операции, обслуживание подъездных путей размещают в районах массового сгущения вагонопотоков (в крутых узлах).

Классфикация:

  1. По назначению

    1. Сетевые – располагаются в жд узлах, где пересекаются важные магистральные линии с мощными вагонопотокама, а также в районах массовой погрузки выгрузки. Задача – формирование сквозных поездов

    2. Межгосударственные – вблизи границ РФ для формирования поездов в страны СНГ и Балтии

    3. Региональные – переработка вагонов зарождения и погашения в узлах и на участках между соседними сортировочными с станциями формирования поезда ближних назначений. (участковые, сборные, передаточные, вывозные)

  2. По числу сорт комплектов:

    1. одностороние – весь поступающий в переработку вагонопоток со всех примыкающих участков расформировывается на одной СГ.

    2. двухстороние (имеются 2 системы сорт ус-в, каждая из кот специализируются по переработке вагонопотоков опред направления (чет или нечет)).

  3. по взаимному расположению парков: последовательным, параллельным, комбинированным расположением парков

  4. по расположению главных путей: с объемлющем расположением, с одной стороны станции, между сортировочными комплектами односторонней станции

26. Основные принципы нормирования маневровой работы.

Нормирование маневр работы – расчет продолжительности ее элементов.

Необходимо для правильной организации маневровой работы, планирования, стимулирования, оценки и оплаты труда маневровых бригад.

В основу нормирования положена расчленение маневров на простейшие элементы: полурейсы и операции.

Задача сводится к определению этих элементов.

Для определения продолжительности маневровых передвижений используются 2-мя способами:

1.Хронометрические наблюдения – это когда по каждому виду полурейся проводят серию наблюдений. Объект наблюдения – маневровый состав в котором меняется число вагонов.

Следовательно время начала и конца каждого полурейса, число вагонов в составе фиксируется в специальной карточке или журнале наблюдений. По каждому наблюдению определяется продолжительность полурейсов. Затем эти данные наносятся на график. Линия соединяющая наибольшие скопления этих точек представлют собой прямую с параметрами А и В (А – маневровые параметр на передвижение локомотива, В – на передвижение 1 вагона).

Данный вид является трудоемким, связан с большими затратами средств и времени и его применяют в тех случаях когда продолжительность полурейса прямым расчетным, путем моделирования определить нельзя.

2. Тяговые расчеты – продолжительность полурейсов может определяться аналитически по формулам или графически, путем построения кривых скорости в зависимости от времени. На практике для определения времени используют обобщенные нормативы, рассчитанные по среднестатистическим параметрам , где – коэффициент учитывающий время необходимое для изменения скорости движения локомотива на 1км/ч при разгоне и тоже самое при торможении. – коэффициент учитывающий дополняющий время на изменение скорости движения каждого вагона в маневровом составе на 1км/ч при разгоне и торможении m – число вагонов в составе, – допустимая скорость движения при маневрах км/ч, – длина полурейса, м, 3,6 – переводной коэффициент учитывающий переход из сек в мин

Время на выполнение маневровой работы в общем виде:

– продолжительность полурейса i-го вида

– число полурейсов i-го вида

К – число видов полурейсов

Для выполнения нормирования времени на выполнение сложных манеров необходимо посчитать сколько потребуется заездов локомотива, вытягиваний на вытяжку, толчков, оттягиваний, определить продолжительность каждого из этих видов полурейсов, определить продолжительность каждого полурейса и суммировать.

28. Основные принципы организации движения поездов.

  1. Полное обеспечение потребностей населения в транспортном обслуживании при безусловном выполнении безопасности, безопасности пассажиров, сохранности перевозимых грузов, багажа и грузобагажа.

  2. Выполнение заявок грузоотправителей

  3. Тесное взаимодействие всех подразделений обеспечивающих перевозочный процесс, которые строят свою работу на основе разработанных технологических процессов при строгом соблюдении БД, принципов параллельности операций, ритмичности

  4. Организация вагонопотоков в поездах с планом формирования, с повышенной транзитностью и скоростью передвижения по направлениям

  5. Продвижение поездов по участкам строго по графику, выполнение которого обязательно для всех служб и подразделений ЖДТ.

  6. Установление технических норм для станций и отделений ЖДТ

  7. Организация оперативного планирования и диспетчерского руководства на сети ЖД.

29. Особенности работы сортировочной станции с угловыми вагонопотоками.

Угловыми называются вагоновотоки, которые на двух. стор-ей станции меняют направление движения. Эти вагонопотоки как правило транзитные с перераб., прибыв. в обычных разборочных поездах и при роспуске с горки. направ. на спец. выдел-й путь сортировочного парка, который должен иметь выход в парк приема противоположной системы. После накопления происходит перестановка в парк приема своей системы спец. маневровым локомотивом или свободным локомотивом.

В ПП совей системы могут обрабатываться вагонниками, могут не обрабатываться, далее роспуск с горки.

Документы на угловые вагоны передаются в СТЦ не родной системы в СТЦ родной, на их основании составляется СЛ и угловая передача сортируется как обычная разборка.

Дважды роспуск и накопление.

Передача угловых вагонов из одной системы в другую отвлекает маневровые средства, увеличивает число передвижений, враждебные маршруты.

Каждый вагон углового потока находится на станции 1,5-2 раза больше чем обычный транзитный вагон следующий в прямом назначении.

23. Основные операции и устройства на грузовых станциях (на примере станции тупикового типа).

Грузовые станции общего пользования располагаются в ЖД узлах для переработки местных вагонов потоков и на линиях для переработки местных и транзитных, выполняют:

        1. Технические операции - Прием поездов, Расформирование с сортировкой вагонов, Подача вагонов в грузовой район, Расстановка по ГФ, Уборка вагонов с мест погрузки выгрузки, Формирование поездов, Отправление их на сортировочную станций или на жд линию

        2. Коммерческие и грузовые операции, связанные с приемом, погрузкой, выгрузкой и отправлением грузов - Прием груза от ГО, Хранение груза, Погрузка, Выдача ГП, Оформление документов на грузовую перевозку, Сортировка, Взвешивание и перегрузка, Выгрузка, Проверка погрузки и крепление грузов на ОПС. Сдача вагонов под охрану

Устройства на грузовых станциях, общего пользования

  1. Пути – приемоотправочные, сортировочные, погрузочно-выгрузочные, выставочные, весовые, соединительные, ходовые

  2. Сортировочные устройства – вытяжной путь со стрелочный улицей на уклоне (до 100 ваг/сут) , профилированная вытяжка (100…250 ваг/сут), горка малой мощность (от 250 ваг/сут)

  3. Грузовые районы – погрузочно-выгрузочные, выставочные, соединительные пути, складские и служебно-технические здания, ПРМ

  4. Служебное технические здания и сооружения

  5. Устройства для экипировки локомотивов и ремонта вагонов (необязательно)

Устройства водоснабжения, водоотведения, теплоснабжения, освещения, энергоснабжения, связи и телевидения и механизированная почта для пересылки документов.

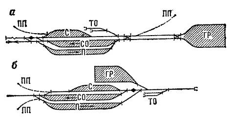
Тупикового типа – в крупных узлах для размещения ЖД устройств ближе к промышленным районам или как конечные пункты ЖД линии. Тупиковые с параллельным расположением могут быть с грузовым районом с размещением последовательно (а) или параллельно ей (б). Обеспечивает поточность движения, однако: Невозможность одновременной сортировки и подачи вагонов, Увеличение пробега локомотивов из ГР в СП

Большая загрузка входной горловине станции из-за концентрации в ней операций по приему, отправлению, формированию и расформированию составов.

21. Основные документы, регламентирующие работу станций. ТРА - содержание, приложения, порядок разработки.

Показатель качества работы ст – БДП

Выжные документы – ПТЭ, ИСИ, ИДП.

Работу станции регламентируют положения о жд ст.:

  1. ТРА

  2. Технический процесс работы станции

Положение о жд станции утверждено 29.12.06 первым вице президентов ОАО «РЖД» - определяется задачи и порядок производственно-хозяйственной деятельности станции, Порядок содержания станции, обустройство материально-технического обеспечения и финансовой деятельности станции, права, обязанности и ответственности ДС.

Содержит 10 разделов

  1. общие положения

  2. основные цели, задачи и требования к работе станции

  3. функции станции

  4. специализация и классификация работа станции

  5. производственная деятельность станции

  6. информационное оснащение станции

  7. содержание и ремонт технических сооружение и устройств

  8. материально-техническое обеспечение станции

  9. порядок финансирования и проведения ревизий станции

  10. права и обязанности, ответственности ДС

4 приложения

ТРА устанавливает порядок использования тех средств для обеспечения безопасности движения поездов и маневровой работы.

ТРА (ДУ-41) состоит из 4 разделов

1.общие сведенья – классность, вид, характеристика перегонов и др.

2.прием и отправление – порядок действий ДСП

3.маневровая работа – порядок работы ДСЦ, специализация маневровых районов, использование различных видов связи

4.БД – негабаритные места, места безопасного прохода

К ТРА прилагаются:

-Масштабная схема ст в осях путей со всеми станционными устройствами

-инструкция о пользовании ус-ми СЦБ

-ведомость подъездных путей

-различные местные инструкции.

Составляет ТРА - начальник станции, проверяет ревизор движения.

19. Организация и руководство маневровой работой. Безопасность при маневрах.

Вся маневр работа организ-ся по плану и тех процессу, кот должны обеспечивать своевр-ое расф и форм сост-в, прицепку, отцепку, подачу уборку в-в, отпр-е и прием п-в.

Маневры должны производиться по указанию только одного работника руководителя маневров , кот может быть ДСЦ, ДСПГ, ДСПФ, ДСПП, ДСП, ДСПО.

Распределение обязанностей между ними устанавливается ТРА движением лок-ва , должен руководить 1 раб-к (обычно составитель).

Во время манн-в сос-ль должен нах-ся в таком месте откуда он одновреммено видит соего помошника, лок-в и хвост маневрирующ с-ва.

Основное ср-во передачи указ-ой при маневрах радиосвязь (парковая 2-х сторон связь).

Для лучшей орг-ии работы на ст создаются комплексные бригады в сос-ве: раб ст, лок бриг, раб ПТОВ. Руководители яв-ся ДСЦ или ДСП . создаются они в каждой смене, на 2-х стор в каждой системе.

Крупные ст делятся согласно ТРА на маневровые районы, в каждом районе может создаваться ман бригада, не вход в состав комплексных.

В маневр бригаду входят составитель и его помощник (или без него), машинист манн лок и помощник (или без его), регулировщики скорости движения , сигналисты, деж стрел постов . Руководителем яв-ся составитель.

Основные треб-ия к манн работе – быстрота и предельные скорости:

1.60 км/ч при движ по свободным путям одиноч лок-в или лок-в с ваг-ми прицеплен сзади с включенными автотормозами

2.40 км/ч то же, но без вклю автотормозов.

3.25 км/ч при движ-и по свобод путям в-ми прицеплен спереди

4.15 км/ч при движ с в-ми с людьми и негабар грузом

5.5 км/ч приподходе в-в к ваг

6.3 км/ч при подходе лок к ваг

Запрещено согласно ПТЭ выполнять маневры толчками:

1.С ваг занятыми людьми, кроме ваг с проводниками

2.С ваг с грузами отдельных категорий, требующих особой осторожности

3.С платформами и ПВ с негабарит гр

4.С гружеными транспартерами

5.С холодными лок-ми, пасс ваг-ми, рефрежир поездами ( сециями), кранами на жд ходу

6.С ваг и ющ трафарет ( не толкать, с горки не спускать)

30. Основы теории маневров: понятие о маневровых рейсах и полурейсах, виды и типы полу рейсов.

Процесс маневровой работы складывает из многократно-повторяющихся элементарных передвижений локомотива одного или с вагонами. Перемещение по станционным путям локомотива с вагонами или без них, без перемены направления движения – маневровый полурейс. При перемещении вагонов или одиночных локомотивов с пути на путь с переменой направления движения – маневровый рейс (два полурейса). С ваг – раб полурейс или рейс. Без ваг –холостой. Ваг с кот совершаются полурейс или рейс наз маневр составом.

Различают 5 видов полурейсов по назнаечнию

1.Заезд – одним локомотивом на путь стонки вагонов подлежащих сортировке.

2.Вытягивание – ваг вытяг на вытяж или др путь за разделит стрелку

3.Сортировка – напр-ие отцепов на пути наз-я толчками или осаживанием

4.Оттягивание – произв-ся перед очередным полурейсом сортировки

5.Перестановка – с пути на путь, с парка на парк.

Длина и продолжительность полурейса зависит от длины маневровых путей, величины маневрового состава и способа выполнения маневров.

Маневры произв-ся с перемен скоростью. Типы полурейсов обычно представл в виде графиков изменения скорости маневров.

1.Разгон-Торможение (РТ) – короткий п/р выполняемый на небольшие раст, как правило с невысок скорост, самый эффективный по времени, т.к. сразу после достижения установл скорост (кот как правило ниже макс разрешен по ПТЭ), но самый неэффектив по расходу топлива или эллектроэнерг.

2.Разгон-движение по Инерции (РИ) - короткий полурейс, применяют при наличии резервов времени и в случае когда не требуется точности остановки.

3.РИТ-наиболее универсальный тип короткого п/р кот рекомендуют для основной р-ты.

4.РУТ (установл скорость)- длинный п/р наиб эффект по времени, но треб больших затрат ресурсов ( быстрота и точность торможения)

5.РУИТ (самый уневерс для длин п/р) 6.РУИ – длинный полурейс самый экономичный, но самый долгий.

27. Основные принципы специализации путей сортировочного парка.

Основным критерием выбора спец-ии сорт путей яв-ся повышение темпа роспуска сос-в.

Спец-ия должна предусматривать разделение отцепов наиболее часто встречающихся сочетаний на стрелках располагаемых ближе к вершине горки.

  1. Наиболее длинные пути выделяются для наиболее мощных назначений при этом желательно выделять их в разных пучках СП, что бы отцепы расходились на первых стрелках на разные пучки. Следовательно, одновременное формирование на разных вытяжках, это приводит к равномерной загрузке вытяжек.

  2. Для назначения, в которых преобладают легковесные и порожние вагоны выделять пути с наименьшим числом стрелок и кривых со стороны горки (в центре СП).

  3. Для поездных групп, групповых назначений (при выделении каждой группе пути), местных вагонов выделяются более короткие пути

  4. Для сборных поездов выделять пути в разных пучках СП. Следовательно, одновременное формирование на разных вытяжках и одновременную загрузку вытяжек.

  5. Для больных – крайние пути СП, что облегчает их оборудование различными устройствами для их ремонта

  6. Для местных вагонов выделять пути с которых подача вагонов к грузовым пунктам будет более удобной

  7. Для угловых – пути с внутренней стороны СП.

Вытяжные пути – загрузка одновременно должна обеспечивать параллельные перестановки состава из СП в ПОП.

В СП для снижения повторной сортировки имеются диспетчерские пути, назначение которых происходи после специализации путей, используют по усмотрению ДСЦ, не имеют специализации.

Рекомендуется выделять по 1 сортировочному пути для каждого одногруппного назначения мощностью до 200 ваг в сутки и если более, то 2 пути.

Остальные пути в СП закрепляют за групповыми назначениями, при этом для каждой группы отдельный пункт.

При недостатки сортировочных путей допускается накопление на одном пути двух маломощных одногруппных назначений (до 50 ваг в сутки)

25. Основные операции, выполняемые работниками СТЦ.

1.Оператор поста списывания во входной горловине ПП – проверяет № вагонов и порядок их расположения в прибиваемых на станцию разборочных и транзитных поездов

2. Оператор по прибытию – заблаговременно производит разметку ТГНЛ, составляет и корректирует СЛ, проверяет прибывшие грузовые документы, проверяет не ли вагонов без грузовых документов или наоборот, в этих случаях организует розыск документов или вагонов с помощью работников актовой-розыскной группы на станциях или дорогах.

3. Оператор накопитель – одновременно с роспуском составов ведет учет расположения вагонов на путях СП, на основе этого учета и выверенной ТГНЛ совместно с ДСЦ планирует очередность роспуска прибывших составов с целью максимального совмещения расформирования с завершением накопления и формированием на вытяжках. Дает указание составительской бригаде о формировании многогруппного состава, указывая какие вагонов и в каком порядке должны включены быть в состав, кроме того следит за соблюдением плана формирования и норм веса и длины поезда, учитывает накоплением местных вагонов на подаче и угловых вагонов в соседние системы.

4. Оператор по отправлению – параллельно с роспуском составов раскладывает документы расформировываемых составов по ячейкам специального шкафа. Документы должны складываться в ячейки в том же порядке, в каком вагоны поступают на сортировочные пути. После завершения накопления оператор подбирает документы на накопившийся состав и завершает накопление ТГНЛ. После получения сведений с поста проверки в районе вытяжек и уточнения ТГНЛ конвертирует грузовые документы и пересылает ДСПП.

5. Оператор поста проверки в районе вытяжек – проверяет номера вагонов и места их расположения в составе и передает оператору по отправлению.

6. Специальные работники СТЦ ведут установленные формы учета и отчетности о вагонопотоках, времени нахождения вагонов на станции и объемах погрузки и выгрузки, и т.д. На станциях перехода с дороги на дорогу работники СТЦ вскрывают пакеты, проверяют их и ставят штемпели о переходе с дороги на дорогу с указанием названия станция, даты и времени перехода.

31. Особенности технологии работы станции в зимний период.

Во избежание последствий отработана зимняя технология, которая с учетом местных условий станции может предусматривать:

  1. Для ПП и сортировочной горки

    1. Чередование путей для приема поездов во время сильных снегопадов и метелей

    2. Применение графитовой смазки для жесткого торможения вагонными башмаками

  2. Для СП и ПОП

    1. Уменьшение числа вагонов в маневровом составе и повышение скорости толчков

    2. При расформировании с вытяжек или горок малой мощности делить состав на больше число частей

    3. Ввод дополнительных маневровых локомотивов или использование мощных маневровых локомотивов

    4. При плохой видимости привлекать дополнительных работников для передачи сигналов во время маневров

    5. Передача сигналов по громкоговорящей и радио связи

    6. Для облегчения трогания с места составы поездов целесообразно сжать до отцепки локомотива

На станциях с неблагоприятным профилем целесообразно применять подталкивание поездов.

Переставлять тяжелые составы из парка в парк и из жд ПНОП на станцию и наоборот двумя локомотивами

Сокращение вагонов при подаче, уборке, приценке, формировании групп – увеличение числа полурейсов, но увеличение скорости маневровой работы

Перед вступлением на дежурство руководитель смены должен ознакомиться с прогнозом погоды, сообщить о нем работникам смены и напомнить им о связанных с погодой особенностях работы.

На всех участках станции следует своевременно очищать от снега и льда стрелки, замедлители, междупутья, места постоянных проходов.

При понижении температуры необходимо смазывать тормозные подушки графитовой смазки. Централизованные стрелки и замедлители рекомендуется периодически переводить из одного положения в другое

33. Подготовка хозяйства и кадров станции к работе в зимних условиях.

Для преодоления всех трудностей к работе в зимних условиях готовят их по плану разработанного ДС с участием руководителей смежных служб (пути, вагонной, локомотивной, снабжения и др)

Решают задачи:

  1. Укомплектование штата и подготовка работников станции к работе зимой

  2. Подготовка хозяйства станции к зиме

  3. Корректирование технологии работы в зимних условиях

  4. Организация уборки и вывоза снега

Учитывают опыт работы в минувшие зимы, состояние станционного хозяйства, прогнозируемые на зиму объемы работы станции

Когда не удается преодолеть возникших трудностей часть работы передается на другие станции.

Решающее значение в работе станции в зимнее время придается умелым действиям каждого работника. К наступлению зимы штат работников станции должен быть укомплектован хорошо обученными работниками (составители, сигналисты, регулировщики скоростей движения и др)

Работников не имеющие опыта работы зимой обучают зимним передовым методам работы труда.

Работа станции обеспечивают зимней специальной одеждой согласно установленным нормам.

До наступления зимы на станции заблаговременно проводят проверку состояния производственно-технических помещений рабочих мест, технических средств, с целью определения их готовности к работе в зимнее время. По данным такой проверки в план подготовки включают соответствующие работы:

  1. Ремонт технических средств и помещений

    1. Ремонт вагонных замедлителей

    2. Устройств для механизированной централизации стрелок

    3. Устройств сигналов и связи

    4. Окончание ремонтных путевых работ

    5. Подъем горба горки

    6. Приведение в исправное состояние всех средств и технических зданий

    7. Осмотр и ремонт отопительной системы

    8. Приведение в полную готовность снегоуборочной техники

  2. Обеспечение рабочих мест

    1. Инвентарём для очистки стрелок

    2. Топливом для обогрева помещений

    3. Песком или шлаком для просыпки мест при гололеде

    4. Графитной смазкой или битумом при сильном морозе

  3. Очистка путей и междупутий от посторонних предметов для обеспечения беспрепятственного пропуска снегоуборочной техники

Запасы песка или шлака создают в закрытых ящиках, расположенных у стрелочных постов, тормозных позиций ручного торможения, у мест расцепки вагонов на горбе горки и на вытяжных путях.

35. Порядок действий ДСП при приеме, отправлении и безостановочном пропуске поездов на линиях, оборудованных полуавтоблокировкой.

Последовательность действий ДСП при приеме поезда:

1проверитть свободность путей, запланировать путь, на который будет принимать поезд;

2 проверить свободность стрелочных участков, которые будут входить в маршрут приема;

3 подготовить маршрут приема: поставить стрелки в нужное положение;

4убедиться в правильности приготовленного маршрута;

5 запереть стрелки, входящие в маршрут рукояткой входного сигнала;

6 открыть входной сигнал;

7 нажать кнопку о даче прибытия.

После прибытия поезда записать в журнал движения поездов, сообщить ДСП соседней станции от которой прибыл поезд по форме 4 и при необходимости поставить сигнальную рукоятку в исходное положение.

Дей-я при отправлении поезда:

1 однопутный участок: проверить свободность перегона по контрольным лампочкам и журналу; получить согласие ДСП соседней станции на отправление поезда по телефону по формам №1,2.

двухпутный участок: проверить свободность по контрольным лампам и записям в журнале;

2 приготовить маршрут отправления: проверить стрелочные участки, входящие в маршрут отправления по контрольным лампочкам, перевести стрелки в нужное положение, убедиться в правильности приготовления маршрута, запереть стрелки входящие в маршрут рукоятками выходных сигналов;

3открыть выходной сигнал.

После отправления поезда ДСП обязан записать в журнал время отправления, сообщить на станцию, на которую отправлен поезд. Если необходимо-сигнальные рукоятки в нейтральное положение.

Сквозной пропуск: пропуск равен сумме операций на прием и отправление. После проследования поезда сделать запись в настольном журнале о прибытии и отправлении поезда(время одно).сообщить ДСП которому отправили поезд по форме 3, а затем ДСП от которого принимали по форме 4.рукоятки поставить в нейтральное положение.

37. Порядок обеспечения готовых составов поездными локомотивами и локомотивными бригадами.

Манн диспетчер заблаговременно заказывает поезд лок у дежур по депо с указанием предполагаемого времени отправления, направлении и веса поезда. Л-в должен быть прицеплен не позднее чем за 15 мин до отправления , а при отсутствии на ст воздухопроводной сети мин за 30 до отправления.

В зависимости от схемы обслуживания лок и ЛБ на сортировочной станции с Лок могут выполняться: 1.Отцепка лок-в от прибыв п-в и пропуск их на ПТОЛ 2.ТО, ремонт и экипировка на ПТОЛ, которые имеют для этого несколько смотровых канав вместимостью 1-2 локомотива и несколько бригад слесарей 3.По окончанию обслуживания или в процессе его, локомотив принимает ЛБ и выдается под готовый состав. Время нахождения на ПТОЛ фиксируется контролем прохождения контрольного поста, где в маршруте ТЧМ ставится отметка о заезде в депо и выходе из него.

Лок бриг работают по 3 системам:

-вызывной (посыльный телефон) 10-15%

-без вызывная (получение время явки при сдаче лок)

-по именным расписаниям (пасс поезда) – по ниткам

Прибытие поездных локомотивов на станцию и выход локомотива из депо, готовность состава к отправлению происходит случайным образом, в связи с этим возникают ситуации:

  1. Момент готовности состава к отправлению не совпадает с моментом выхода локомотива с ЛБ из депо

  2. Момента явки ЛБ не совпадает с моментами окончания ТО2

В результате чего возникают простои готовых, обработанных составов в ПОП, подготовленных локомотивов в ожидании ЛБ, в также простои лок и ЛБ в ожидании готовности составов.

Для того чтобы уменьшить простои составов в ожидании локомотивов были приняты меры:

  1. Удлинения участка обращения локомотивов

  2. Стремиться чтобы любой локомотив и ЛБ могла обслуживать любой направление

  3. На станции смены лок и ЛБ создание технологически резервов лок и ЛБ

Основной показатель системы обеспечения составов локомотивами и ЛБ является надежностью обеспечения готовых локомотивов и ЛБ, т.е. доля времени в течение которого не ожидают локомотивов и бригад. Надежность зависит от числа выдач поездных локомотивов, от числа явок ЛБ и максимального уровня локомотивов и бригад в технологическом резерве станции.

38. Порядок приема и отправления поездов при телефонном способе связи.

Порядок действий ДСП следующий.

1) По получении приказа ДНЦ – правильно выбрать Журнал поездных телефонограмм и страницу, на которой производить записи.

2) Сделать запись о приеме дежурства по ТСС со своей подписью.

«23 октября 11 ч 15 мин Диспетчерским приказом № 26 на перегоне Авангард-Пионер установлено движение поездов по телефонной связи. Дежурство по телефонной связи принял: ДСП Петров (подпись). На станции Пионер ДСП Иванов, оператор Сидоров (фамилии)»

39. Порядок приема и сдачи дежурства ДСП. Основная документация на рабочем месте ДСП.

Перед вступлением на дежурство дежурный по станции обязан:

а) ознакомиться с планом предстоящей работы, имеющимися указаниями и распоряжениями по приему, отправлению поездов и производству маневров; наличием, состоянием и расположением подвижного состава на приемоотправочных путях и его закреплением в соответствии с техническо-распорядительным актом (ТРА) станции; положением (свободностью или занятостью) прилегающих к станции перегонов;

б) убедиться в исправности приборов управления устройствами СЦБ и связи, наличии на них пломб, а также в исправности стрелочных переводов;

в) проверить наличие на рабочем месте и исправность инструмента, сигнальных принадлежностей и инвентаря;

г) ознакомиться с записями в Журнале диспетчерских распоряжений, Журнале движения поездов, Книге предупреждений, Журнале поездных телефонограмм, Журнале осмотра и других книгах, и журналах по вопросам движения поездов, которые ведутся дежурным по станции. Оформить вступление на дежурство записью в Журнале движения поездов: «Число, месяц, год;...ч...мин. Дежурство принял ДСП … (подпись)».

При сдаче дежурства ДСП должен всесторонне ознакомить вступающего на работу дежурного с обстановкой на станции, прилегающих перегонах и с первоочередными заданиями.

Перед сдачей дежурства ДСП должен:

– обеспечить расстановку подвижного состава на путях в соответствии с их специализацией;

– освободить (если это возможно) приемоотправочные пути, временно занятые подвижным составом;

– обеспечить выполнение заданий начальника станции, поездного диспетчера и др. руководителей по формированию поездов для своевременного их отправления вступающей сменой, по подаче вагонов под погрузку и выгрузку и др.

Запрещено сдавать дежурство, пока поезд, для которого приготовлен маршрут, не прибудет или не отправится со станции. Расписываться в Журнале движения о сдаче дежурства ДСП должен лишь после того, как вступающий на работу ДСП распишется в приеме дежурства: «Число, месяц, год;... ч... мин. Дежурство сдал ДСП … (подпись)».Документация:

  1. Журнал движения поездов (формы ДУ-2) – основной документ для регистрации прибытия, отправления и проследования поездов.

  2. Журнал диспетчерских распоряжений (форма ДУ-58) ведут поездной диспетчер и по той же форме лично дежурный по станции или оператор.

  3. Журнал поездных телефонограмм (форма ДУ-47) дежурный по станции ведет в тех случаях, когда движение поездов происходит по телефонным средствам связи.

  4. Книга для записи предупреждений на поезда (форма ДУ-60) предназначена для регистрации всех заявок на выдачу предупреждений (телеграмм, телефонограмм, письменных и др.), а также извещений об отмене предупреждений.

  5. Журнал осмотра путей, стрелочных переводов, устройств СЦБ, связи и контактной сети (форма ДУ-46) служит для регистрации установленным порядком результатов периодических осмотров, проверок устройств СЦБ, записи обнаруженных неисправностей, а также удостоверения нормальной работы устройств после устранения повреждений.

ДСП обязан также твердо знать порядок заполнения установленных письменных документов, вручаемых в некоторых случаях машинистам ведущих локомотивов отправляющихся со станции поездов.

41. Раздельные пункты. Операции, выполняемые на раздельных пунктах с путевым развитием.

Раздельные пункты – пункты разделяющие ЖД линии на перегоны и блок участки.

Назначение – увеличение пропускной способности; обеспечение БДП

Раздельные пункты:

  1. Без путевого развития

    1. путевые посты – раздельный пункт не имеющий путевого развития для регулирования движения поездов

    2. проходные светофоры

    3. границы БУ.

  2. С путевым развитием

    1. Разъезды (на однопутных) - служат для скрещения и обгона поездов на однопутных линиях.

    2. обгонные пункты (на двухпутных) – служат для обгона и перевода поездов с пути на путь (при ремонтах) на 2-х линиях.

    3. Станции - раздельный пункт имеющий путевое развитие и устройства, позволяющие выполнять тех, комерч, грузовые и пассажир операции.

1.Технические операции – прием, отпра-е, пропуск, скрещение, обгон, расфо-ие, формиро-ие составов, прицепка, отцепка в-в, тех. осмотр вагонов.

2.Комерческий осмотр – прием, взвешивание, хранение и выдача грузов, оформление перевозочных документов, взымание провозных платежей, навешивание пломб, обеспечение сохранности грузов наход на ст., осмотр при-х и отпра-х поездов в комер-ом отношении.

3.Грузовые операции – погрузка, выгрузка, перегрузка грузов, сортировка мелких отправок и контейнеров.

4.Пассажирские операции – посадка, высадка пассажиров, продажа билетов, прием, хранение, погрузка, выгрузка, выдача багажа, почты.

Станции по характеры выполняемых работ:

  1. Промежуточные

  2. Грузовые

  3. Технические

  4. Пассажирские

  5. пред портовые

36. Порядок закрепления подвижного состава на станционных путях.

Стоящие на станц-х путях без локомотива составы поездов, вагоны и отд. ПС должны быть надежно закреплены от ухода тормозными башмаками, ручными тормаз-ми, УТС и др. уст-ми средствами закрепления.

Порядок закрепления вагонов и составов указывается в ТРА ст-и, а именно как должны закрепляется вагоны на каждом пути, кто выполняет операции по закреплению, кто выполняет операции по закреплению и кому докладывать о закреплении или уборке башмаков.

Составы поездов, группы или отдельные вагоны во всех случаях должны закрепляться до отцепки локомотива по нормам предусмотренным ТРА.

Перед отцепкой ТЧМ обязан затормозить состав автотормозами (транзитный). Вагоны, прибывшие на станцию для длительной стоянки должны быть поставлены на пути с накатом на тормозной башмак. Проверить обязан ДС, зам.ДС, ДСП.

Маневры на путях, расположенных на уклонах где есть опасность ухода вагонов на перегон должны выполнятся с постановкой локомотива со стороны спуска с включенными автотормозами. Если нет возможности так поставить локомотив, то маневры выполняются только осаживанием с включенными автотормозами. При этом должны соблюдаться меры предосторожности (стрелки в охранное положение, уложены башмаки в отдельные отцепы)

При закреплении составов:

1На гл-х и ПОП путях руководство и контроль за осуществлением осущ-т ДСП, в отдельных маневровых рай-х- ДСЦ;

2 ДСП может разрешить отцепку лок-ва от состава только после убеждения в правильном закреплении;

3 изъятие башмаков разрешается только по указанию ДСП;

4 ТЧМ не имеет права отцеплять лок-в без разрешения ДСП;

5 ДСП дает указание об изъятии башмаков только после убеждения в фактич. прицепки лок-ва.

Нормы и осн. правила изложены в ИДП.

Тормозные башмаки должны быть исправны и укладываться под разные оси состава.

В местах их постоянной укладки должны стоять ящики с песком

При закреплении поданной под выгрузку группы вагонов башмаки должны укладываться под вагоны, которые подлежат выгрузке в последнюю очередь.

Запрещается использовать башмаки неисправные, с замасленным полозом, с обледенелым. Если уклон более 2,5 промилей головка рельса помечается красной краской.

34. Порядок действий ДСП при приеме, отправлении и безостановочном пропуске поездов на линиях, оборудованных автоблокировкой.

Последовательность действий ДСП при приеме поезда:

1 проверить свободность путей, запланировать путь, на который будет принимать поезд.

2 проверить свободность стрелочных участков которые будут входить в маршрут приема.

3подготовить маршрут приема, поставить стрелки в нужное положение.

4 убедиться в правильности приготовления маршрута.

5 запереть стрелки, входящие в маршрут рукояткой входного сигнала.

6 открыть входной сигнал.

После прибытия поезда записать в журнал движения поездов, сообщить ДСП соседней станции от которой прибыл поезд по форме 4 и при необходимости поставить сигнальную рукоятку в исходное положение.

Последовательность ДСП при отправлении поезда.

1 однопутный участок – проверить свободность перегона по контрольным лампочкам и журналу, получить согласие ДСП соседней станции на отправление поезда по телефону по формам 1 и 2

двухпутный участок – проверить свободность первого блок участка по контрольным лампам.

2 приготовить маршрут отправления: проверить стрелочные участки, входящие в маршрут отправления по контрольным лампочкам, перевести стрелки в нужное положение, убедиться в правильности приготовления маршрута, запереть стрелки, входящие в маршрут рукоятками выходных сигналов

3 открыть выходной сигнал.

После отправления поезда ДСП обязан записать в журнал время отправления, сообщить на станцию, на которую отправлен поезд. Если необходимо – сигнальные рукоятки в нейтральное положение.

Сквозной пропуск: пропуск равен сумме сумм операций на прием и на отправление. После проследования поезда сделать сделать запись в настольном журнале о прибытии и отправлении поезда (время одинаковое). Сообщить ДСП, которому отправили поезд по форме 3, а затем ДСП от которого принимали по форме 4. Рукоятки поставить в нейтральное положение.

32. Перерабатывающая способность горки и пути её повышения.

Максимальное число вагонов или составов, которое горка может переработать за сутки при ее техническом оснащении: 1440 – минут в стуках – сумма перерывов в работе горки мин/сут (смена ЛБ, ремонт и профилактика горочных механизмов, роспуск местных передач, повторная сортировка вагонов) – время занятия горки формирования составов

Упрощенная формула

Пути повышения перерабатывающей способности:

  1. Сооружение на однопутных горках объездного пути (параллельность операций), работа ГЛ по кольцевому способу

  2. Сооружение второго пути надвига - // операций → сокращение

  3. Ввод дополнительного ГЛ

  4. Укрупнение отцепов на станции формирования разборочных поездов → ↑скорости роспуска

  5. Применение переменной скорости надвига составов на горку при длинных отцепах скорость растёт, при коротких уменьшается

  6. Замена осаживания на подтягивания со стороны вытяжек

  7. Секционирование путей надвига, т.е. установка дополнительного светофора, что позволит осуществлять попутный надвиг

  8. На двухпутных горках параллельный роспуск может увеличить пропускную способность

  9. Применение различных устройств для автоматизации горочных операций

42. Соблюдение безопасности движения: мероприятия по обеспечению безопасности движения и контроль за выполнением требований безопасности.

Крушение, аварии, иные происшествия угрожающие БДП и проведению ман-в приводят к потерям перевозимых грузов, к повреждениям пути, локомотивов, вагонов, гибели людей.

Транспортные происшествия происходят из-за неисправности пути, ПС, устройств СЦБ и связи и др. техн-их средств, а также из-за невыполнения работниками установленных правил и порядка действий при приеме, отправлении поездов, маневровой работе.

Наиболее частными видами брака по вине работников станции: прием и отправление поездов по неготовому маршруту, самопроизвольный уход с пути не закрепленных вагонов, перевод централ-ой стрелки под движущемся ПС, столкновение вагонов с повышенной скоростью и т.д.

Анализ причин этих браков показывает, что примерно в 30% случаях неправильные действия работников обусловлены недостатком их знаний и опыта остальные 70% как правило связанны с плохой дисциплиной и халатностью работников.

С учетом этого на станции целесообразно проводить работу по обучению работников; контролю за состоянием техн-их средств, правил их исполнения и выполнению требований БД.

Ежегодно на станции разрабатывается план работы по обеспечению безопасности, в которой устанавливается сроки выполн-я и ответственные лица по каждому из намеченных для реализации мероприятий.

В соответствии с этим планом на станции проводят:

1Технические занятия с раб-ми, связан-ми с движением поездов в целях повышения их знаний умений, навыков и воспитанияю. Для этого на станции соз-ся учебные классы, кабинеты, которые оснащаются наглядными пособиями.

2Комисионые осмотры станционного хозяйства под руководством ДС с участием работников дистанции пути сигнал и связи, энергоснабжения с целью выявления неисправностей. За своевременным устранением недостатков и неисправностей ведется постоянный контроль при приеме и сдаче дежурства.

3Компл. проверка ДС его зам. помош-ми, соблюдение работ-ми станций требований безопасности движения.

Проверку осуществляют путем посещения рабочих мест ,наблюдение за работой и проведение собеседования с работниками в целях выявления нарушения или правил приема отправления поездов, произ-во маневров, закрепление вагонов то ухода, соблюдение регламента переговоров, ведение поездной докум-ии. Анализ станции безопасности движения и дисциплины на станции осущ-ет ДС по материалам расследования допущенного брака по результатам компл-х проверок и осмотров хозяйств станцииа также по данным учета и учета техн-их средств. На основании этого разрабатываются мероприятия по устранению недостатков и предупреждения их возникновения в дальнейшем.

Кроме того, на станции проводятся и другие социально-психологические технич-е мероприятия. К ним относятся: внедрение новых более современных техн-их средств, повышение надежности сущест-их устройств, внедрение более эфектив-ых средств обучения. Важнейшими принципами в системе профилактики брака являются:1Обязательное детальное расследование каждого обнаруженного нарушения, правил БД. 2Обязательное выявление причин допущенных нарушений, путем социально-псих. анализа.

40. Процесс накопления вагонов и его показатели.

При расформировании состава с горки вагоны каждого отдельного назначения направляются на соответствующие пути СП, где из них накапливаются новые составы.

Процесс накопления вагонов на состав начинается с момента поступления первой группы вагонов и заканчивается в момент поступления последней группы, после чего процесс накопления вагонов на состав заканчивается.

Последующие группы вагонов после поступления которой общее число их на пути становится равной составу или больше него называется замыкающей группой. Ее простой под накоплением равен 0. Поэтому чем больше замыкающая группа, тем простой вагонов под накопление меньше.

Среднее время простоя под накоплением зависит от интервала между поступлением первой и замыкающей группы. Если на СП от замыкающей группы остались вагоны (МЗО), то процесс накопления протекает непрерывно. А если вагоны не остаются, то процесс протекает прерывно. В общем случае – частично прерывный.

Время от моменты поступления на СП первой группы вагонов до момента поступления замыкающей группы – период накопления ТН.

Показатели процесса накопления:

1.Накопление вагон-часы=1/2*период накопления *составность поезда

Накопление вагон-часы за сутки(В) = сумма от 1 до итого накопившегося составов 1/2* период накопления(Тни) *норму(мф)

2. Параметр накопления С. =1/2 ТН

Параметр (С) показывает время на накопление 1 ваг. При непрерывном процессе накопления С=12ч. При прерывно частичном С меньше 12ч.

Для уч 8-10 часов, для сорт ст 10-11ч.

Зависит от: подвода вагонов к станции; организации ее работы; принимается постоянной для каждой станции и более точно определяется путем построения суточного плана графика работы станции.

3.Ср простой под накоплением Тн= Накопление вагон-часы (В)/суточная мощность вагонапотока (Ни) или Тн= Накопление вагон-часы (С*Мф)/суточная мощность вагонапотока (Ни).

Простой одного ва Тн =к*С*Мф/Н(с/п)-среднесуточное число ваг с переработкой.

Если часть вагонов не вмещается на сортировочный путь, то она направляется:

  1. На диспетчерский путь на котором начинается процесс накопления до целого состава – Целенаправленный роспуск

  2. На свободные концы путей других назначений с последующим повторной сортировкой – это нецеленаправленный роспуск.

Простой вагонов под накоплением является самым длительным элементом простоя – около 50% от общего простоя на станции.

Сокращение этого элемента является важнейшим резервом в работе ст.

3) Записать поездную телефонограмму – запрос на отправление поезда № 2004 в следующем порядке: исх. № 1; содержание и личная подпись ДСП. Время не проставляется (графы «ч», «мин» пропускаются).

4) По телефону поездной диспетчерской связи через ДНЦ вызвать ДСП ст. Пионер, убедиться, что у телефона ДСП Иванов или оператор Сидоров.

5) В медленном темпе (с учетом записи телефонограммы на ст. Пионер непосредственно в Журнал, а не на отдельном листке с последующим переписыванием) передать следующий текст: «Номер 1, Пионер из Авангарда. Могу ли отправить поезд № 2001. ДСП Петров».

6) Выслушать дословное повторение текста ДСП (оператором) ст. Пионер, убедившись в правильности, подтвердить словами: «Верно, 11 ч 25 мин». Это время проставляется в соответствующие графы Журнала на обеих станциях.

7) Расписаться в последней графе Журнала в передаче телефонограммы. Если бы телефонограмму передавал оператор, то он и должен был бы расписаться в ее передаче.

8) Принять и записать телефонограмму ДСП ст. Пионер описанным выше порядком. Входящий номер телефонограммы записывается исходящим номером станции Пионер, переданным с этой станции.

9) Приготовить маршрут отправления (рукоятки стрелок при маршрутном наборе установить в положение, соответствующее положению стрелок в маршруте), на все кнопки (рукоятки) стрелок, входящих в маршрут, и охранные надеть красные колпачки.

Для замыкания стрелок в маршруте нажать кнопку «Замыкание стрелок», предварительно сделав запись в Журнале осмотра (ДУ-46) о срыве пломб с кнопок «Замыкание стрелок» и «Размыкание стрелок». Например: «Для отправления поезда № 2001 сорваны пломбы с кнопок «Замыкание, размыкание стрелок». ДСП Петров».

10) Доложить поездному диспетчеру о готовности маршрута: «Дайте разрешение на отправление поезда № 2001 с 3-го пути. Маршрут отправления готов, замкнут кнопкой «Замыкание стрелок». На рукоятки стрелочных переводов надеты красные колпачки. Положение остряков стрелок следующее: остряки стрелки 4 – в направлении 3-го пути, остряки стрелки 2 – в направлении 4-й стрелки. Маршрут проверен ДС Титовым. ДСП Петров».

Получить от ДНЦ конкретное разрешение на отправление поезда. Например: «Авангард, отправляйте поезд № 2001».

11) Заполнить бланк путевой записки ф. ДУ-50 и корешок

12) Порядком, установленным ТРА, доставить и вручить путевую записку машинисту поезда.

13) Убедиться в наличии путевой записки у машиниста поезда (по радиосвязи или другим способом).

14) Передать машинисту по радиосвязи указание об отправлении или подать сигнал отправления лично или поручить это работнику, вручающему путевую записку машинисту

15) Зафиксировав время отправления поезда, отметить его в Журнале движения поездов (в гр. «Примечания» сделать отметку «ПР»).

16) Записать в Журнале поездных телефонограмм исходящую телефонограмму об отправлении поезда.

17) Через ДНЦ вызвать ДСП ст. Пионер, передать ему телефонограмму вышеописанным порядком, поставить время передачи телефонограммы в журнал.

43. Структура управления движением.

ЖД РФ является производственно-хозяйственной отраслью, включающей в свой состав различные виды деятельности.

Аппарат управления → Железные дороги → Дирекции

В Настаящее время 3 уровня управления:

Холдинг ОАО «РЖД»

1

Дирекция управления движения

Грузовая дирекция

Дирекция услугами локомотивной тяги

Дирекция по инфраструктуре

ЦД, ЦУП

ЦФТО, ЦМ

ТЧ

ЦП, ЦЭ, ЦШ

2

Региональная дирекция управления движением

Региональное представительство грузовой дирекции

Территориальные представительства

3

ДС

Агентства

ТЧЭ

Подразделения ПЧ, ШЧ, ЭЧ, ПТО

44. Технические средства и способы выполнения маневров.

Маневры выполняются с помощью маневровых средств, кот делятся на маневровые ус-ва и маневрон двигатели.

К маневр ус-ам относятся:

1.Вытяжные пути

2.Полугорки

3.Горки (малой, ср, большой и повышенной мощности)

На вытяжках маневры выполняются с использованием силы толчка лок-ва. На горках с использованием силы тяжести ваг-в . На полугорках имеет место и толчок и сила тяжести в-в.

Вытяжные пути оборудуютя станционными колонами радиосвязи с ТЧМ, переговорными колонками с ДСПГ, ДСПФ, ДСЦ . Составители имеют переносную радиосвязь.

К маневровым двигателям относятся:

1.Маневр и поездные лок-вы

2.Тягочи и толчками

3.Электролебедки

Около 90 % маневровые тепловозы ЧМЭ,ТГМ. ТЭМ.

К манн лок-м предъявляют особые требования:

1. повышенную силу тяги при трогании с места

2. усиленные тормозн хар-ки.

45. Техническое оснащение и технология работы двусторонних сортировочных станций.

Для выполнения сортировочной работы сооружают:

  1. СП

  2. Сортировочную горку

  3. Вытяжные пути

Для операций с поездами предусмотрены парки приема, парк отправления сформированных поездов, отдельные парки или пути для транзитных поездов.

ПП, ПС, ПО – вместе с горкой образовывают сортировочную систему. Кроме того имеются устройства локомотивного и вагонного хозяйств, водоснабжения, электроснабжения, связи и СЦБ.

Достоинства

-высокая пропускная и перерабатывающая способность

-поточность выполнения операций

Недостатки

-большая площадь

-большой штат работников

-большие эксплуатационные и строит. расходы

-наличие угловых вагонопотоков – двойная переработка

Станция разделена на две система относительно направления движения – четная, нечетная. Каждая система принимает, обрабатывает и отправляет только поезда своего направления.

ПП принимает поезда определенного направления. После подготовки в техн. и коммер. отношении они расформ. на пути сортировочного парка, пути которого специи-я с учетом направления движения. После завершения накопления на состав на вытяжках производ. окон-ое формирование и перестановка в ПО, пути которого также специализированы. Для транзитных поездов могут сооружатся спец. парки, либо транзитные поезда могут прини-ся в объед. ПОП вместе с поездами своего формирования. Расположение транзитных паркрв может быть различным, в близи ПО или в близи ПП. Желательно чтобы транзитные парки распол. с ПО, тк технология обработки транзитных и своего формирования пое-ов одинакова, их можно обрабатывать одними бригадами ПТОВ.

47. Техническое оснащение и технология работы участковых станций поперечного типа.

Основные назначения участ ст заключается в обсуживание сквозных транзит поездов, расформирование и формирование участковых и сборочных поездов, смена л и лб, ТО ПС, пассажирские и грузовые операции.

В связи со значит объемам работы участк. ст. имеют:

  1. Для пассажирского движения – вокзалы, кассы, пассажирские платформы, помещения для приема, хранения, выдачи багажа, переходные мосты и тоннели, перронные пути, пути стоянки состава местных пассажирских перевозок имеющих оборот на данной станции.

  2. Для грузового движения

    1. Приемоотправочные, сортировочные, вытяжные пути

    2. ПОП объединены в парки, служат для стоянки поездов во время ТО и КО

    3. Сортировочные пути предназначены для накопления вагонов н разные назначения

    4. 1 путь для местных вагонов, порожних, неисправных, вагонов с разрядными грузами.

    5. Для маневровой работы – вытяжные пути, которые строятся с двух сторон СП.

  3. Для маневровой работы - 2-3 локомотива

Может распологаться основное локомотивное депо в состав которого входят – лкоомотивное здание, мастерские, экипировочные устройства, ТР1,2,3 ТО3 Может размещаться вагонное хозяйство – вагоноремонтное депо, пункты текущего ремонта, ПТОВ и контроля автотормозов. В зависимости от взаимного расположения ПОП различают схемы ст: поперечного, продольного и полупродольного типа.

Поперечный тип

Достоинства: 1.Приемоотправочные парки для чет и нечет п-в размещены параллельно друг другу , по этому ст яв-ся комплексной имеет небольшую площадку. 2.Требует меньшего штата работников , а след-но меньше страительных и эксплуат затрат.

Недостатки: 1.Ст обеспечивает относит-но небольшую пропускную способность т.к. маршруты приема и отправления п-в пересекаются. 2. Пробеги поездных локомотивов при их смене

Замечания: 1. Проектируются две вытяжки вместимостью не менее половины длины состава 2 .Грузовые устройства около СП 3 .Локомотивное и вагонное хозяйства на одной площадке со стороны противоположной ПЗ 4 . Экипировочные устройства для локомотивов на одной территории с ремонтными

Разборочные и поезда своего формирования обрабатываются га специально выделенных для них группы путей.

49. Техническое оснащение станций (путевое развитие, сортировочные и грузовые устройства и пр.).

Для организации работы на ст имеются:

-Путевое развитие для приема, обработки, отправления поездов, обслуживания и рамонта вагонов и локомотивов, осуществления других ком. и технических операций

-ус-во для расформ и формир сост

- маневр средства (горки, вытяжки).

-служеб здания и сооруж.

-здания и сооружения для обслуживания пассаж.

-грузов устройства и механизмы (складсие помещения , краны)

-устр для осмотра вагонов в комерчиском отношении (гоборитные ворота, смотровые вышки)

-устр водоснабжения и освещения

-ваг и лок депо

-птов

-птол

-пко(пункты комерч обслуж ваг)

-устр СЦБ и связи

Пути на ст делятся на станционные и специального назначения.

К станционным относятся: главные, кот служат продолжением перегона; вытяжные, погрузочно выгрозочные, выстовачные, пути лок и ваг хоз-ва, соеденительные пути, тупики для горочных и маневр локомотивов, вытяжные пути.

К путям специального назначения относятся:

-предохранительные тупики, улавливающие тупики, подъездные пути.

Предохранительные тупики сооружаются для исключения выхода пс при маневрах на маршруты следования поездов.

Улавливающие тупики устраивают если к ст примыкает перегон с затяжным подъемом(спуском).

Для управления технолог процессом на ст широко используется телефонная связь, радиосвязь: маневровая и поездная; парковая громкоговорящая связь, видионаблюдение и пневмопочта.

Для управления стрелками и сигналами: используются ЭЦ, МРЦ и микропроцессорная Ц.

Помещения ДСП, ДСЦ оборудованы табло.

51. Технологический процесс работы станции - принципы построения, содержание и порядок разработки. Понятие о Типовом технологическом процессе работы сортировочной станции.

Тех процесс – система организации работы станции, основанная на применении прогрессивных ресурсосберегающих методах труда и предусматривает наиболее рациональное использование технических комплектов ЖДТ, это целесообразный порядок и последовательность обработки поездов, вагонов, различных категорий при соблюдении норм времени на выполнение операций.

Технологий кий процесс содержит:

1.технико-эксплуат хар-ка ст.

2.структура управления эксплуатационной работой станции, и система организации труда.

3.Порядок планирования поездной и манёвровой работы

4. организация обработки поездной информации и грузовых документов

5. технология обработки транзитных вагонопотоков

6. диспетчерское руководство формирования, расформирования поездов

7. организация контроля выполнения технологического процесса и анализа работы станции

8. организация работы станции в зимний период

Приложения:

  1. расчет продолжительности формирования, расформирования составов

  2. расчет маневровых локомотивов

  3. определение времени нахождения вагонов на станции

Разрабатывается на основе типовых технологических процессов работы станции. Разработку ТП осуществляет инженер станции с учетом ее особенностей. Начинает с детального анализа работы станции с учетом изменяющихся условий связанных с возникновением новых экономических связей, размеров и направлений грузо- и вагонопотоков, технического оснащения, изменения плана формирования поездов.

53. Технология обработки поездов своего формирования на сортировочных и участковых станциях.

В парке отправления с составами своего формирования проводят:

  1. ТО текущий безотцепочный ремонт вагонов

  2. КО и устранение коммерческих неисправностей

  3. Сдача документов ЛБ

  4. Прицепка поездного локомотива и опробование автотормозов

О предстоящей перестановке состава в ПО ДСП извещает всех причастных работников (ПТО, ПКО, сигналист и т.д.) с указанием пути на который переставляется состав. В процессе перестановки состава из СП в ПО оператор СТЦ производит проверку номеров вагонов в сформированном составе и передает их в СТЦ. После перестановки ДСП по парковой оповестительной связи или телефонной предъявляет оператору ПТОВ состав к ТО с указанием номера пути, количества вагонов в составе, № головного и хвостового вагона и времени отправления поезда.

Работники ПТОВ оградив сигналами состав производят ТО и ремонт вагонов которые выполняют одновременно несколько групп работников входящих в состав бригад.

При обнаружении неисправности осмотрщик ремонтник наносит на вагон меловые отметки, а идущие вслед слесаря производят ремонт вагонов. Осмотрщики автоматчики и слесари автоматчики производят осмотр и ремонт тормозных устройств, а после приступают к полному опробованию тормозов.

По окончанию ремонта вагонов осмотрщики и ремонтники производят прием и удаляют меловые отметки. После прицепки локомотива производится сокращенное опробование автотормозов и выдается ТЧМ справка о тормозах. Одновременно с ТО приемщики поездов осуществляют КО вагонов и устраняют обнаруженные неисправности угрожающие сохранности груза и БД.О готовом поезде в КО приемщики докладывают ДСП с последующей записи в ГУ-98.

Пока длятся операции в СТЦ завершается подборка документов на вагоны сформированного состава и грузовые документы направляются ДСПП, а он вручает их и предупреждения ЛБ.

После отправления поезда ДСП передает ДНЦ № и индекс поезда, вес и число вагонов в поезде, наличие вагонов с разрядными, негабаритными грузами и др. данные.

График обработки:

  1. До перестановки – согласование пути ПО и извещение работников - ДСП

  2. До перестановки – Выход на путь ПО работников участвующие в обработке ПТО, ПКО, ВОХР, оператор СТЦ, сигналист

  3. До перестановки – Перестановка состава - ЛБ

  4. До перестановки – Контрольная проверка поезда во входной горловине – оператор СТЦ

  5. 6 мин – Остановка и закрепление – сигналист

  6. 2 мин – отцепка и уборка ман. Лок. – ЛБ

  7. 1 мин – ограждение состава – оператор ПТОВ

  8. 25 мин – ТО – работники ПТО

48. Техническое оснащение и технология работы участковых станций продольного типа. Работа СТЦ на участковых станциях.

Основные назначения участ ст заключается в обсуживание сквозных транзит поездов, расформирование и формирование участковых и сборочных поездов, смена л и лб, ТО ПС, пассажирские и грузовые операции.

В связи со значит объемам работы участк. ст. имеют:

        1. Для пассажирского движения – вокзалы, кассы, пассажирские платформы, помещения для приема, хранения, выдачи багажа, переходные мосты и тоннели, перронные пути, пути стоянки состава местных пассажирских перевозок имеющих оборот на данной станции.

        2. Для грузового движения

        1. Приемоотправочные, сортировочные, вытяжные пути

        2. ПОП объединены в парки, служат для стоянки поездов во время ТО и КО

        3. Сортировочные пути предназначены для накопления вагонов н разные назначения

        4. 1 путь для местных вагонов, порожних, неисправных, вагонов с разрядными грузами.

        5. Для маневровой работы – вытяжные пути, которые строятся с двух сторон СП.

3. Для маневровой работы- 2-3 локомотива

Может распологаться основное локомотивное депо в состав которого входят – лкоомотивное здание, мастерские, экипировочные устройства, ТР1,2,3 ТО3 Может размещаться вагонное хозяйство – вагоноремонтное депо, пункты текущего ремонта, ПТОВ и контроля автотормозов. В зависимости от взаимного расположения ПОП различают схемы ст: поперечного, продольного и полупродольного типа.

Продольного типа – ПОП смещены относительно друг друга в противоположные стороны по направлению движения.

Достоинства: 1.Исключены враждебные маршруты при приеме и отправлении 2.Обеспечение высокой пропускной способности

Недостатки: 1.Требует большая площадка, большой штат и большие затраты

В четной горловине станции одновременно выполняться операции: 1. Прием нечетных грузовых поещдов на пути ПО1 и отправление четных поездов с ПО2 2. Подача локомотива из ЛХ под нечетные поезда, уборка поедных локомотивов от четных поедов. Сортировка вагонов через вытяжной путь

В четной горловине. 1. Прием четных поездов ПО2 и отправление нечетных из ПО1. Расформирование составов через вытяжку 2 . Подача локомотивов под четный поезда, вытягивание состава на вытяжку для расформирования, пропуск нечетных поездов

Замечания: 1 . Проектируются две вытяжки вместимостью не менее половины длины состава. 2. Грузовые устройства около СП 3. Локомотивное и вагонное хозяйства на одной площадке со стороны противоположной ПЗ. 4. Экипировочные устройства для локомотивов на одной территории с ремонтными

Разборочные и поезда своего формирования обрабатываются га специально выделенных для них группы путей.

46. Техническое оснащение и технология работы односторонних сортировочных станций.

Для выполнения сортировочной работы сооружают:

  1. СП

  2. Сортировочную горку

  3. Вытяжные пути

Для операций с поездами предусмотрены парки приема, парк отправления сформированных поездов, отдельные парки или пути для транзитных поездов.

ПП, ПС, ПО – вместе с горкой образовывают сортировочную систему. Кроме того имеются устройства локомотивного и вагонного хозяйств, водоснабжения, электроснабжения, связи и СЦБ.

ПП принимает как поезда нечетного так и четного направления. После подготовки в техн. и коммер. отношении они расформ. на пути сортировочного парка, пути которого специи-я с учетом направления движения. После завершения накопления на состав на вытяжках производ. окон-ое формирование и перестановка в ПО, пути которого также специализированы. Для транзитных поездов могут сооружатся спец. парки, либо транзитные поезда могут прини-ся в объед. ПОП вместе с поездами своего формирования. Расположение транзитных паркрв может быть различным, в близи ПО или в близи ПП. Желательно чтобы транзитные парки распол. с ПО, тк технология обработки транзитных и своего формирования пое-ов одинакова, их можно обрабатывать одними бригадами ПТОВ.

Достоинства

-поточность выполнения операций

-мин. затраты времени на маневровые работы.

-компактная площадка

-небольшой штат работников

-небольшие строительные и эксплуатационные затраты

Недостатки

-перепробеги по станции

-враждебность маршрутов

-невысокая пропускная и перерабат. способность

На отдельных ст используют электровоы. На небольших станциях маневровую работу выполняют поездные локомотивы

В зависимости от наз-я и хар-ра маневров они могут выполняться осаживанием или толчками .

Осаживание. Маневровый состав вытягивается на вытяжку, затем движется вагонами вперед на путь назначения крайней группы вагонов, после остановки группа вагонов отцепляется и состав вновь вытягивается на вытяжку. Останавливается, смена направления и движется на путь следующей группы вагонов и т.д.

Осаживание применяют при прицепках и отцепках ваг-в, при подачи на гр пункты а так же при маневрах с в-ми треб особой осторожности.

Недостаток большие затраты времени. Достоинства: нет окон, БД.

Толчки.

1.Изоливанные (одиночные) – после вытягивания состава на вытяжку отцепляют крайнюю группу ваг-в, лок разгоняет и затем резко тормозит до полной остановки. Отцепленая группа по инерции движения по приг маршруту. Если скорость толчка рассчитана точно , то группа ваг остановится сама в нужном месте( башмаки).

+ сокращается продолжительность расформирования, не требует большой вытяжки

- часто требуется подтормаживание вагонов; БД, низкая производит.

2.Серийные – вытяжка должна быть достаточно длиной чтобы обеспечить несколько толчков подряд без перемены направления движения. Перед 1-м разгоном группы отцепляют , сос-в разгоняет и тормозят до скорости 5-7 км/ч, группа по инерции уходи в парк и в это время отцепляют следующую группу , вновь с-в разгоняют, тормозят уходит 2-я группа и тд. Желательно чтобы вытяжка имела уклон в сторону сорт парка, если уклон сост-ет от 1,5-3 промиле, то обычно совершают за серию 2-3 толчка, при до 5 промиль возможны серии по 5 толчков. Важное условие: правельный выбор скорости разгона, чтобы отцеп не остановок , раньше положенного места и то же время подошел к стоящ на пути в-м со скоростью не вше 5 км/ч (3-5км/ч).

3.Многогрупные – принцип тот же что и при серийных, но сразу отцепл не 1-а , а 2,3 группы и при торможении они все открываются и следуют др за другом. При этом способе рекомендуют при раздел стр-ки ставится тормоз позиция.

Проблема – создание интервалов между одновременно отцепленными группами для перевода стрелок. Перед раздельной стрелкой рекомендуется устанавливать ТР или укладывать башмакосбрасыватьль.

  1. 25 мин с 8 пунктом – КО – работники ПКО

  2. 25 мин с 8 пунктом – Прием под охрану вагонов с ОГ – ВОХР

  3. 1 мин – Снятие ограждения – Оператор ПТОВ

  4. 2 мин – Прицепка поездного локомотива – ЛБ

  5. 6мин – Уборка средств закрепления – сигналист

  6. 10 мин с 6 пунктом – сокращенная проба тормозов + выдача справки – ЛБ, оператор СТЦ

  7. Во время осмотров предыдущих пунктов – подготовка грузовых документов и пересылка их в ПО – оператор СТЦ

  8. 5 мин – Вручение ЛБ пакета с документами, предупреждений и отправление – ДСПО, ЛБ

Общая продолжительность – 52 мин

54. Технология обработки разборочных поездов на сортировочных и участковых станциях.

Разборочные поезда, поступающие в расформирование, принимаются на пути парка формирования. До прибытия поезда оператор СТЦ получает по информацию о составе поезда в виде ТГНЛ, в котором в порядке размещения вагонов в составе содержатся основные сведения о составе. Обработка состава состоит из следующих операций: технический, коммерческий осмотр вагонов, контрольная проверка состава, проверка наличия перевозочных документов. Разборочные поезда обрабатываются комплексными бригадами, в состав которых входят: вагонники, приемщики, работники ВОХР, работники СТЦ. Для ускорения обработки разборочных поездов ПП оборудуется устройствами централизованного ограждения составов разными видами связи, хорошим освещением, бункерами для приема документов от локомотивной бригады, пневмопочтой для пересылки грузовых документов. Для контрольной проверки состава во входной горловине ПП сооружают пост с хорошим обзором и освещением прибывающих поездов, имеющих прямую связь с СТЦ. При следовании поезда мимо поста со скоростью 15-20 км/ч оператор телетайпист успевает передать в СТЦ номера всех вагонов, прибывающего поезда. Эта информация используется для уточнения ТГНЛ и корректировки сорт. листа. После остановки поезда состав закрепляется, локомотив отцепляется и следует в ДЕПО, оператор ПТОВ организованно ограждает состав и работники ПТОВ приступают к его осмотру. Параллельно с техническим осмотром приемщики поездов осматривают вагоны в коммерческом отношении для выявления коммерческих неисправностей, угрожающих безопасности движения, сохранности грузов и вагонов. По окончанию технического и коммерческого осмотров состава и снятия ограждений старший осмотрщик вагонов сообщает в СТЦ номера вагонов, требующих подачи на специализированные пути для устранения коммерческих неисправностей, так же производится отпуск тормозов и разъединение тормозных рукавов в местах деления отцепов. В СТЦ в это время проверяются полученные документы, корректируется ТГНЛ и составляется сортировочный листок, документы на местные вагоны пересылаются в товарную контору.

52. Технология и нормирование маневровой работы по окончанию формирования составов различных категорий с вытяжек.

Накопившиеся составы подлежат формированию в соответствии с требованиями ПТЭ. Формируются на вытяжных путях, которые соединяют хвост горловину СП с входной горловиной ПО. Длина вытяжных путей от последней стрелки СП до светофора ПО должна составлять не менее половины длины состава.

При завершении накопления ДСЦ, который контролирует и планирует процесс составообразования дает указание ДСПФ приступить к формированию состава данного назначения. ДСЦ указывает № последнего вагона, которым закончилось накопление данного состава. ДСПФ, рабочее место которого в хвосте СП, по радиосвязи дает указание ТЧМ маневрового локомотива и составителю и по маневровым сигналам направляет локомотив на соответствующий путь. Составитель поддерживая связь по радио с ТЧМ приступает к формированию состава.

В составе одногруппного поезда вагоны располагаются в любой последовательности с постановкой вагонов прикрытия для вагонов с ОГ и людьми.

Групповые поезда – из вагона нескольких назначений подбирают в отдельные группы, если группы накапливались на отдельных путях, то формирование сводится к сборке групп на отдельном пути с учетом требований ПТЭ, если вагоны на одном пути, тогда формирование состоит из сортировки и сборки вагонов (соединение групп на отдельном пути).

Сборный поезд – разновидность группового, поэтому расстановка групп вагонов должна соответствовать последовательному расположению промежуточных станций на участке, вагоны накапливаются на одном пути, поэтому формирование состоит из сортировки вагонов по группам а затем их сборке в нужной последовательности.

После окончания формирования состав переставляется в ПО. ДСЯ парка отправления предъявляет состав к ТО и КО.

50. Технологические графики работы горок и горочный технологический интервал.

В хвост обработанного состава заезжает ГЛ, надвигает до горба и производит роспуск, для ликвидации окон выполняется осаживание.

Заезд-надвиг-роспуск-осаживание+уборка средств закрепления

1 вид: 1 путь надвига и 1 ГЛ

Заезд и уборка средств закрепления 5+6 мин

Надвиг – 4 мин

Роспуск – 10 мин

Осаживание – 12 мин

Технологический цикл работы 87 мин

2 вид: 2 пути и 2 ГЛ

Горочный интервал равен гороч цикл/ колво расформ составов. – время от начала роспуска одного состава до возможного роспуска седующегосостава.

Если на горке работает один лок, то гороч цикл равен циклу.

При определении гор интер по технолог графика принимаются след допущения:

1.Гор лок-вы не имеют простоя по враждебности маршрута

2.К моменту заезда гор лок в ПП считается что сос-в к роспуску готов.

3.Осаживание производится через постоянное число роспусков

4.Все эл-ты гор цикла строго выдерживаются , поэтому расч гор интервал не учитывает реальных условий работы горки и ПП и яв-ся не совсем точным

55. Технология работы промежуточных станций со сборными поездами (на примере станции продольного типа).

Сборные поезда предназначены для сбора и развоза груза по промежуточ ст расположенных на участке. Формируются сборные поезда на тех станциях.

Формирование поезда длится 1-1,5 ч. На участке обычно обращаются 1-2 пары сборных поездов в сутки. Из-за остановок для работы на промежуточных станциях (в среднем на каждой ст примерно час). Эти поезда влияют на участковую скорость. Перед формированием сборного поезда поездной диспечер (ДНЦ) собирает инф-ию от каждого ДСП промеж ст о наличии вагонов подлижащих прицепке к сборному поезду. С учетом этой инф-ии на технич ст формируется сборной п-д с соблюдением норм массы и длинны. По окончании формирования поездному диспечеру докладывается сведенья о ваг-ах и грузах вкючаемых в поезд, деспечер циркулярным приказом передает всем станциям участка указания о работе п-да и сообщает сведенья о вагонах.

Каждый ДСП передает полученую инф-ию работникам грузового хоз-ва своей ст и клиентуре в адрес кот прибывает груз, чтобы подготовится к работе с поездом. До прибытия поезда , прицепная группа подготовлена и сформирована, ОФОРМЛЕНЫ ГРУЗ ДОК-ТЫ , оформление на ЭВМ.

Для каждого сборного поезда разрабатывают схему размещения ваг-ов в нем. Обычно в-ны подбирают в группы в зависимости от географического расположения ст, но при этом учитывают расположения грузовых ус-в на ст схемы их путевого развития , наличие маневр лок.

Обычно отцепку производят с головы состава, а прицепку в хвост. На промежут ст со сбор п-ми выполняют следующие операции: -отцепку ваг, -подачу их под грузовые операции, -перестановку с одного фронта на др., уборку , -прицепку в-ов к составу, - погрузка, выгрузка МО из сборно-раздаточных вагонов за время стоянки сборного поезда

Продолжительность на ст зависит от:

1.От числа прицепляемых и отцеп ваг-ов

3.От того где расположены в-ны в голове, в хвосте или в середине

4.От того каким лок выполняется операция: поездным или маневровым

Стоянка: Тсбманпр.т.др (маневр операции+опробывание тормозов+подготовка гр. док)

Технолог график работы со сборным поездом на промеж ст:

1.Подготовка прицепной группы до приб поезда (ДСП, приемосдатчик)

2.Прибытие и передача док-в на отцепляемые вагоны ДСП 2-5 мин (главный кондуктор,составитель, лок бриг)

3.Осмотр прицепной гр 4-8 мин (составитель, бр ПТОВ)

4.одновремено с 3 операцией Отцепка в-в от сбор п-да и расстановка у грузового фронта 10-15 мин (лок бриг, состав,ДСП)

5.Прицепка вагонов 7-12 мин (лок бриг, состав, ДСП)

6.Проход к ДСП и получение док-в 5 мин (составитель)

7.Проверка автотормозов и отправления 10 мин (лок бриг и раб ПТОВ)

Всей работой со сбор п-ом руководит ДСП, кот заранее оставляет план работы. стоянка 30-40мин.

57. Технология работы сортировочной станции в условиях функционирования АСУ СС.

Информация о составах прибывших поездов из АСОУП поступает в виде в виде ТГНЛ, проходит контроль и записывается ЭВМ станции.

Данные ТГНЛ можно корректировать по рез. проверки составов. После корректировки ТГНЛ Эвм составляет сорт. листок и выдает его на печат. устройство всем причастным работникам. На основании выяв. в ПП неиспра-ей формируются дефектные ведомости на каждый состав. После ввода сообщения о роспуске в памяти ЭВМ фиксируется итог о ва-х поступ. на каждый сортировочный путь. На каждый путь ведется накопительная ведомость. ДСЦ контролирует процесс накопления по выдаваемым на видеотерминал итоговым данным.

Одновременно с формир. ЭВМ формируется ТГНЛ на основе накопит. ведомости. При перестановки составов в ПО и по результатам обработки его ПО, натурный лист корректируется и на печать выдается в автономном режиме, справка для закреп. маршрута машиниста и накопительная ведомость на оставшиеся вагоны на данном сортировочном пути. Оператор СТЦ по данным натурного листа под-ет документы конвер-ет их и пересылает в парк отправления. Одновременно с перестановкой состава в парк отправления вагонники получают дефектную ведомость, после отправления поезда ЭВМ обеспечивает фвтономную передачу ТГНЛ.

58. Технология работы сортировочных горок.

После окончания обработки состава в ПП приступают к его расформированию:

1 Заезд ГЛ под состав (начинается с горба горки) а) Горб-ходовой путь – тупик – смена направления б) Тупик-заезд на путь

2 Надвиг состава на горку - Проезд надвижной части горки

3 Роспуск состава

4 Осаживание вагонов

Руководит расформированием дежурный по горке, в его подчинении: 1. Горочные операторы, которые управляют стрелками и замедлителями 2. Составители 3. ТЧМ ГЛ

В процессе роспуска работники руководствуются единой программой роспуска – сортировочный листок. ТЧМ надвигает вперед по показаниям горочного светофора, постоянно поддерживая связь по радиосвязи с ДСПГ. На горках оборудованных АЗСР, АРС, ДСПГ на видеотерминале набирает номер подлежащего расформирования состава ГПЗУ, после открытия горочного светофора ГПЗУ автоматически управляет переводом стрелок и автоматически контролирует.

В процесс расформирования горочный составитель расцепляет вагоны руководствуясь СЛ.

ДСПГ следит за процессом роспуска, расцеплением вагонов и следованием вагонов от горба горки до остановки на под горочных путях, в необходимых случаях вмешивается в управлением роспуска лично или через операторов. Для более полного использования вместимости путей СП и обеспечения допустимой скорости соударения вагонов торможение отцепов должно быть прицельным.

60. Устройство сортировочных горок, требования к плану и профилю.

Сорт горка состоит из основных элементов:

1.Надвижная часть – представляет собой наклонный участок пути имеющ перед вершиной горки подъем не менее 8 промиль протяженностью 50 м для сжатия сос-в и облегчения роспуска перед горбом.

2.Вершина (горб)

3.Спускная часть – участок между вершиной горки и расчетной точкой нах на раст 50-10м от наиболее удаленного от вершины предельного столбика выходной горловины СП.

Разность отметок между вершиной и расчетной точкой - высота горки.

Высота должна обеспечивать скатывание в-на с плохими ходовыми качествами при неблагоприят условиях с вершины до расчетной точки.

Спускная часть состоит из: 1 скоростного уклона, для обеспечения макс движ-ия отцепов и быстрого отрыва их от с-ва на вершине горки 50-55 промил.

2 промежуточных уклонов на кот распологают тормозные позиции.

3 уклоны стрелочной зоны

Уклон и длина эл-в профиля должны обеспечивать:

1.Интервалы между отцепами позволяющ перевести стрелки при сохранении расчетной скорости роспуска и исключении нагонов отцепов

2.Установленную скорость входа отцепов на замедление

3.Трогание с места плохих бегунов при неблагоприятных условиях, в случаях их остановки при торможении.

4.Исключение самотцепов в-в вместе сопряжения уклонов надвижной и спускной частей.

Для торможения в-в применяется различные тормозные средства кот устан на тормозных позициях. По виду этих средств различают горки: -не механизир применяются торм башмаки, а также ус-ва малой механиз; -механизир ; -автоматизир

Обычно на горках устраиваю 3-4 том позиц:

1.Перед или за главной стрелкой- наз интервальной (для создания интервалов)

2.Перед стрелками вед в пути наз интервально-прицельной (для подержания интервалов и обеспечения скорст подхода отцепов к стоящим на сорт путях в-в не выше 5км/ч)

3.Парковая в начале каждого сорт пути наз-ие прицельная

4.В глубине сорт парка прицельная

  1. Автоматизация горочных процессов.

  2. Административное и оперативное управление работой сортировочной станции.

  3. Виды и содержание информации о подходе поездов и назначении вагонов (расшифровка ТГН

  4. Диспетчерское руководство работой станции.

  5. Качественные показатели эксплуатационной работы железных дорог.

  6. Классификация и нумерация грузовых поездов.

  7. Классификация и сущность различных видов маневров.

  8. Количественные показатели эксплуатационной работы железных дорог.

  9. Назначение и классификация грузовых станций.

  10. Назначение и размещение СТЦ на участковых и сортировочных станциях. Система кодирования информации на железнодорожном транспорта (поездов, вагонов, станций, грузов, ГП).

  11. Назначение станций и их классификация. Классность станций.

  12. Назначение, размещение и техническое оснащение сортировочных станций.

  13. Оборудование СТЦ. Устройства механизации и автоматизации по проверке составов и пересылке документов на сортировочных станциях.

  14. Оперативное планирование работы станции: виды планов, их содержание, автоматизация текущего планирования.

  15. Операции, выполняемые на промежуточных станциях и их техническое оснащение (на примере станции поперечного типа).

  16. Операции, выполняемые с местными вагонами на участковых и сортировочных станциях.

  17. Опорные промежуточные станции и их эффективность.

  18. Организация и механизация снегоборьбы на станциях.

  19. Организация и руководство маневровой работой. Безопасность при маневрах.

  20. Организация маневровой работы с местными вагонами: планирование и организация подачи и уборки вагонов на грузовые пункты.

  21. Основные документы, регламентирующие работу станций. ТРА - содержание, приложения, порядок разработки.

  22. Основные операции и устройства на грузовых станциях (на примере станции сквозного типа).

  23. Основные операции и устройства на грузовых станциях (на примере станции тупикового типа).

  24. Основные операции, выполняемые на сортировочных станциях. Классификация сортировочных станций.

  25. Основные операции, выполняемые работниками СТЦ.

  26. Основные принципы нормирования маневровой работы.

  27. Основные принципы специализации путей сортировочного парка.

  28. Основные принципы организации движения поездов.

  29. Особенности работы сортировочной станции с угловыми вагонопотоками.

  30. Основы теории маневров: понятие о маневровых рейсах и полурейсах, виды и типы полу рейс

По объему работы, по числу путей в СП гокри:

  1. Повышенной мощности - >5500 ваг/сут, > 40 путей

  2. Большая – 3500-5500, 30-40

  3. Средняя – 1500-3500, 17-29

  4. Малая – 250-1500, 4-16

Для управления надвигом и роспуском и передачи сигналов машинисту горки обрудованы светофорами.

Горочный светофор устанавливается перед вершиной горки у каждого пути надвига.

В ПП с каждого пути устанав повторители горочного светофора . Они дополняются ус-ми ГАЛС в кабине машиниста.

Горочным свет управляет ДСПГ, подаются сигналы: -зеленый (роспуск 10км/ч) -зеленый и желтый (до 8км/ч) -красный ( остановить роспуск) -красный +буква Н (белый огонь)-осадить сос-в с горки на путь ПП. Для управления стрелок используют ГАЦ, работающая в режиме: автоматическом, полуавтоматическом, андивидуальном переводе стрелок.

АРС – автоматическое регулирование скатывания вагонов – устройства автоматического торможения отцепов.

Датчики весомеры – на спускной части горки перед 1 ТП.

Радиолокационные измеритель скорости – в створе ТП.

ТГЛ – телеуправление горочным локомотивом

Устройства связи:

  1. Двухсторонняя радиосвязь ДСПГ – ТЧМ ГЛ

  2. Прямая телефонная связь ДСПГ-СТЦ

  3. Промышленная телевизионная – визуальный обзор горловин

Парковая оповестительная

На горках оборудованных АРС это обеспечивается автоматически в зависимости от веса, скорости скатывания и расстоянием на которое отцеп следует. На механизированных горках прицельное торможение осуществляют горочные операторы с использованием вагонных замедлителей. В зависимости от длины отцепа скорость роспуска регулируется устройствами автоматически – эта информация передается на горочный светофор и локомотив. ДСПГ по окончанию роспуска при необходимости направляет ГЛ на путь СП для осаживания вагонов. В процессе роспуска вагоны в зависимости от их назначения следуют на специализированный путь СП, где из них накапливаются новые составы, в которых вагоны должны расставляться с требованиями ПТЭ и планом формирования.

59. Функциональные подсистемы и задачи, решаемые АСУСС.

АСУСС обеспечивает – повыш. произво-ти и качества труда работ. СТЦ.

-оператив. и обоснов. принятие решений по управ. раб. станции за счет автомат. и оптимизации процесса планирования.

Подсистемы:

1.планирование и управление работой станции – решает задачи: -текущее планирование составо-ия на станции. -подготовка плана отправления поездов -оптимизация формир. групп групп поездов.

2.отражение текущего состояния станции парков и примык. подьезных путей позволяет в реальном времени получать сведения о дислакации поездов.

3.анализа работы станции обеспечивает опер. контроль и анализ резер-ов работы со стороны руководства.

4.контроля и управления поездной работы

5.подсистема органи-ии поездной работы и местной работы -подготовка документов на приб. Поезда -подготовка сортировочного листа -контроль роспуска состава -ведение вагон. системы станции.

6.подсистема организации грузовой и коммерческой работы -регистрация операций на грузовых фронтах -формир. и печать вагонных листов -ведомость подач и уборок -учет на станции порожних вагонов в регулировку

7.в-в не рабочего парка -ведение книги пред-й вагонов тех. осмотру формы ВУ-14 -оформление уведомлений на ремонт вагонов формы ВУ-27

8.оперативно-аналитического учета – позволяет формировать устав. учетные и отчетные формы и справки.

9.визуального контроля вагонных парков станции – обеспеч. граф. и справок. Отображение наличия вагонов с разло-ем по признакам качесива, по ро П.С., по времени простоя, по роду груза, ГП, по назначению..

10.справочная подсистема – позволяет выдавать справки.

56. Технология работы с транзитными поездами на участковых и сортировочных станциях.

Транзит поезда - назначение поезда проходящие ст б/п или с частичной переаботкой (прицепка, отцепка группы вагонов).

Они принимаются в спец транзитные парки или секции или в объедененые ПОП на пути, обеспечивающие быструю смену поездных лок-в.

Обработка транзит п-да включает:

1.ТО состава безотцепочный ремонт ваг-в и опробывание автотормозов.

2.Комер осмотр и устранение неисправностей

3.Смена лок-ва или лок бриг

Все эти опрерации выполняются паралельно.

График обработки тр поезда со сменой лок:

До прибытия

1.Извещение раб-в ПТО, ПКО, СТЦ, Дежурного по депо о номере, времени приб, № пути приема и времени отправ-ия по графику (ДСП(оператор)) – до прибытие

2.Выход работников на путь приема (бриг ПТОВ,ПКО,оператор СТЦ, раб ВОХР, сигналисты) – до прибытия

3.Проверка приб-его поезда во входной горловине (оператор СТЦ)

4.Остановка и Закрепление состава 6 мин (сигналисты)

5.Отцека поезного лок-ва 2 мин (лок бриг)

6.Ограждение состава 1 мин – оператор ПТОВ

7.Паралельно с 4 операцией Передача поездных док-в в СТЦ 3 мин (оператор СТЦ)

8.Проверка и обработка док-в 30 мин (оператор СТЦ)

9.Начинается после ограждения состава ТО и безотцепочный ремонт ваг-в 30 мин (бриг ПТОВ)

10.Паралельнно с 9 операцией коммерческий осмотр 30 мин (бриг ПКО)

11.Паралельно с 9 операцией прием вагонов под охрану 30 мин (ВОХР)

12.Снятие ограждения 1мин (оператор ПТОВ)

13.Прицепка поезд лок-ва 2 мин (лок бриг)

14.Уборка средств закрепления 6 мин (сигналисты)

15.Паралельнно с 14 операцией сокращенная проба автотормозов и вручение док-в лок бригаде 10 мин (лок бриг, ПТОВ)

16.Вручение справки о тормозах, предупреждение и отправление 5 мин (ДСП, лок бр)

Примерно час. – 57 мин

Руководит ДСП, или ДСЦ

2 вариант – без отцепки локомотива и смены ЛБ.

  1. Особенности технологии работы станции в зимний период.

  2. Перерабатывающая способность горки и пути её повышения.

  3. Подготовка хозяйства и кадров станции к работе в зимних условиях.

  4. Порядок действий ДСП при приеме, отправлении и безостановочном пропуске поездов на линиях, оборудованных автоблокировкой.

  5. Порядок действий ДСП при приеме, отправлении и безостановочном пропуске поездов на линиях, оборудованных полуавтоблокировкой.

  6. Порядок закрепления подвижного состава на станционных путях.

  7. Порядок обеспечения готовых составов поездными локомотивами и локомотивными бригадами

  8. Порядок приема и отправления поездов при телефонном способе связи.

  9. Порядок приема и сдачи дежурства ДСП. Основная документация на рабочем месте ДСП.

  10. Процесс накопления вагонов и его показатели.

  11. Раздельные пункты. Операции, выполняемые на раздельных пунктах с путевым развитием.

  12. Соблюдение безопасности движения: мероприятия по обеспечению безопасности движения и контроль за выполнением требований безопасности.

  13. Структура управления движением.

  14. Технические средства и способы выполнения маневров.

  15. Техническое оснащение и технология работы двусторонних сортировочных станций.

  16. Техническое оснащение и технология работы односторонних сортировочных станций.

  17. Техническое оснащение и технология работы участковых станций поперечного типа.

  18. Техническое оснащение и технология работы участковых станций продольного типа. Работа СТЦ на участковых станциях.

  19. Техническое оснащение станций (путевое развитие, сортировочные и грузовые устройства и пр.

  20. Технологические графики работы горок и горочный технологический интервал.

  21. Технологический процесс работы станции - принципы построения, содержание и порядок разработки. Понятие о Типовом технологическом процессе работы сортировочной станции.

  22. Технология и нормирование маневровой работы по окончанию формирования составов различных категорий с вытяжек.

  23. Технология обработки поездов своего формирования на сортировочных и участковых станциях.

  24. Технология обработки разборочных поездов на сортировочных и участковых станциях.

  25. Технология работы промежуточных станций со сборными поездами (на примере станции продольного типа).

  26. Технология работы с транзитными поездами на участковых и сортировочных станциях.

  27. Технология работы сортировочной станции в условиях функционирования АСУ СС.

  28. Технология работы сортировочных горок.

  29. Функциональные подсистемы и задачи, решаемые АСУСС.

  30. Устройство сортировочных горок, требования к плану и профилю.