Материал: Sb96658

Внимание! Если размещение файла нарушает Ваши авторские права, то обязательно сообщите нам

Лабораторная работа № 3 ИЗМЕРЕНИЕ ХАРАКТЕРИСТИК НАПРАВЛЕННОГО ОТВЕТВИТЕЛЯ

Цель работы: изучение характеристик направленного ответвителя; приобретение практических навыков работы с СВЧ-аппаратурой.

3.1. Основные положения

Направленный ответвитель (НО) – элемент СВЧ-тракта, предназначенный для направленного ответвления части мощности падающей или отраженной волн из основного тракта во вспомогательный. Принцип действия направленного ответвителя основан на интерференции волн, возбуждаемых во вспомогательной линии, причем элементы связи располагаются таким образом, чтобы в результате интерференции во вспомогательной линии волна распространялась лишь в одном направлении.

 

 

 

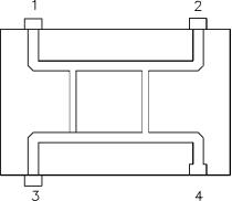
1

 

2

 

 

 

В данной работе исследуется микро-

 

 

 

 

 

 

 

 

 

 

 

 

 

 

 

 

полосковый шлейфный направленный от-

 

 

 

 

 

 

 

 

 

 

 

 

 

 

 

 

 

 

ветвитель, схематически изображенный на

 

 

 

 

 

 

 

 

 

рис. 3.1. Основными характеристиками

 

 

 

 

 

 

 

 

 

направленного ответвителя являются: пе-

 

 

 

 

 

 

 

 

 

реходное ослабление, направленность, раз-

 

 

 

 

 

 

 

 

 

вязка, КСВ и рабочая полоса частот. Пере-

 

 

 

 

 

 

4

 

3

 

 

 

 

ходное ослабление определяется отноше-

 

 

Рис. 3.1

 

 

 

 

нием мощности, ответвленной в рабочее

 

 

 

 

 

 

 

 

 

плечо вторичной линии, к входной мощности первичной линии (на входе 1): A41=10 lg(P4 / P1). Направленность характеризуется отношением мощностей на выходах рабочего 4 и нерабочего 3 плеч вторичной линии: A43=10 lg(P4 / P3 ). Развязка НО определяется отношением мощности в нерабочем плече вторичной линии к мощности на входе первичной линии: A31=10 lg(P3 / P1). Направленность, переходное ослабление и развязка явля-

ются связанными характеристиками. Поэтому направленность можно определить, например, следующим образом: H = A41 A31. Так как направленный от-

ветвитель является взаимным устройством, аналогичные характеристики могут быть определены при подаче мощности на другие входы – 2, 3 или 4 соответственно.

16

КСВ характеризует отражения, вносимые НО в СВЧ-тракт, и определяется со стороны соответствующего плеча при наличии согласованных нагрузок в других плечах. Полоса рабочих частот определяет диапазон, в пределах которого неравномерность переходного ослабления и направленность не превышают заданных значений.

3.2. Описание экспериментальной схемы

Блок-схема установки для измерения параметров направленного ответвителя показана на рис. 3.2.

В состав установки входят следующие основные элементы: 1 – СВЧ-ге- нератор; 2 – исследуемый направленный ответвитель; 3 – детектор; 4 – согласованные нагрузки; 5 – усилитель с индикатором (или милливольтметр). Функциональная схема для калибровки установки показана на рис. 3.3. Измерения выполняются методом замещения.

4 4

 

5

5

1

 

1

 

 

2

3

3

Рис. 3.2

Рис. 3.3

 

В качестве образцового аттенюатора используется внутренний аттенюатор генератора. Это значительно упрощает измерительную схему. Данный аттенюатор является перестраиваемым.

3.3.Порядок выполнения работы

1.Изучить устройство и принцип действия генератора СВЧ (см. инструкцию по эксплуатации).

2.Включить генератор и усилитель (милливольтметр), подготовить их к работе согласно инструкции.

17

3. Провести калибровку схемы. Для этого соединить приборы и элементы схемы, как показано на рис. 3.3. С помощью аттенюатора установить показания индикатора на уровень 0,1…0,2 шкалы при максимальной чувствительности. Изменяя частоту генератора с шагом 50…100 МГци поддерживая с помощью аттенюатора постоянное выбранное значение показаний индикатора, записать полученное значение затухания Aк на всех частотах в пределах рабо-

чего диапазона генератора.

4.Собрать измерительную установку согласно рис. 3.2.

5.Провести измерения характеристик передачи направленного ответвителя в диапазоне частот генератора (на частотах калибровки). Для этого установить аттенюатором генератора новое значение затухания Aи , при котором

показания индикатора будут соответствовать калибровке. Найти значения затухания, вносимого измеряемым устройством, по формуле A = Aк Aи.

6.Подключить детектор прошедшей волны последовательно к следующим выходам направленного ответвителя и повторить измерения.

7.Подключить генератор к другим плечам направленного ответвителя и повторить измерения по пп. 5 и 6.

8.Рассчитатьхарактеристики направленного ответвителя(переходное затухание и направленность) и построить соответствующие графики.

3.4.Содержание отчета

1.Схемы экспериментальной установки.

2.Тип и основные характеристики использованной аппаратуры.

3.Краткое описание объекта исследования.

4.Графики зависимостей коэффициентов передачи от частоты.

5.Расчетные соотношения и результаты расчета характеристик направленного ответвителя.

3.5.Контрольные вопросы

1.Объяснить принцип действия направленного ответвителя.

2.Назвать основные блоки и узлы измерительной схемы и их функциональное назначение.

3.Пояснить методику калибровки схемы при измерении коэффициентов передачи.

4.Какую информацию об исследуемом объекте несут частотные характеристики передачи между различными входами и выходами?

18

5.Имеется ли связь между характеристиками передачи?

6.Объяснить происхождение осцилляций на характеристиках передачи.

7.Как определить направленность и переходное затухание направленного ответвителя по частотным характеристикам передачи, наблюдаемым в данных экспериментах?

Лабораторная работа № 4

ИССЛЕДОВАНИЕ ХАРАКТЕРИСТИК НЕВЗАИМНЫХ ФЕРРИТОВЫХ ПРИБОРОВ

Цель работы: изучение характеристик резонансного вентиля и полоскового циркулятора, приобретение практических навыков работы по измерению параметров многополюсников на СВЧ.

4.1. Основные положения

Резонансный вентиль предназначен для подавления отраженной волны в СВЧ-трактах. Принцип действия вентиля основан на явлении ферромагнитного резонанса и зависимости поглощенной мощности от направления поляризации электромагнитной волны при ее распространении в прямоугольном волноводе в прямом и в обратном направлениях. Основными характеристиками вентиля являются переходное ослабление, развязка, КСВ и рабочая полоса частот.

Затухание определяется отношением выходной мощности к входной при прямом направлении волны (рис. 4.1): A21=10 lg(Pвых 2 / Pвх 1) .

Развязка вентиля определяется отношением мощности на выходе вентиля к мощности на входе при обратном распространении волны (рис. 4.1): A12=10 lg(Pвых 1 / Pвх 2). КСВ характеризует отражения, вносимые вентилем

вСВЧ-тракт,иопределяетсясосторонысоответствующегоплечаприналичии согласованной нагрузки в другом плече. Полоса рабочих частот определяет диапазон частот, в пределах которого неравномерность ослабления, развязка и КСВ не превышают заданных (необходимых) значений.

19

PPвхвх11

 

Pвых2

P

вых 1

P

вых 1

Вентиль

PPвх 2

вх 2

Рис. 4.1

Для измерения ослабления и развязки используется метод замещения, а КСВ можно определять с помощью измерительной линии.

Вторым прибором, исследуемым в данной работе, является полосковый циркулятор. Циркулятор (Ц) – элемент СВЧ-тракта, предназначенный для направления мощности отраженной волны из основного тракта во вспомогательный. Принцип действия циркулятора основан на интерференции и невзаимных свойствах волн, возбуждаемых в ферритовом вкладыше циркулятора, причем элементы связи располагаются таким образом, чтобы в результате интерференции отраженная волна поступала только во вспомогательный тракт. Циркулятор является многополюсником с числом полюсов не менее шести.

Основными характеристиками циркулятора являются прямые потери, развязка, КСВ и рабочая полоса частот. Прямые потери между плечами 1 и 2 циркулятора находятся как отношение мощности на выходе 2 к мощности,поданной на вход 1: A21=10 lg(P2 / P1), а развязка – как отношение мощности на

входе 1 к мощности, поданной на вход 2 при условии, что плечо 3 нагружено насогласованнуюнагрузку: A12=10 lg(P1 / P2 ).Аналогичнонаходятсяпрямые

потери и развязка и для других плеч (с учетом направления циркуляции). КСВ характеризует отражения, вносимые циркулятором в СВЧ-тракт, и определяется со стороны соответствующего плеча при наличии согласованных нагрузок в других плечах. Полоса рабочих частот определяет диапазон, в пределах которогонеравномерностьпереходногоослабления,развязкаиКСВнепревышают заданных значений. Для измерения характеристик циркулятора также используется метод замещения.

20