Материал: Sb95840

Внимание! Если размещение файла нарушает Ваши авторские права, то обязательно сообщите нам

смещения подается на кристалл от стабилизированного источника питания. Для расширения диапазона исследования в источнике предусмотрена смена полярности напряжения смещения. Модулирующий сигнал поступает на вход ЭОМ от генератора. Выход фотоприемника соединен с цифровым вольтметром, контролирующим электрический сигнал, пропорциональный

постоянной составляющей мощности излучения P , прошедшей модулятор. Переменная составляющая информационного сигнала излучения, пропорциональная Рm, подается на первый вход двухлучевого осциллографа, имеющего калиброванные входы. На второй вход осциллографа подается опорный сигнал от генератора.

Порядок выполнения работы

1.Включить блоки питания лазера, фотоприемника и цифрового вольтметра.

2.Установить анализатор в положение = 0 . Снять зависимости

мощности пропускания ЭОМ от угла поворота анализатора P = f ( ) с угловым шагом = 30 для трех фиксированных значений напряжения смеще-

ния: U = 0, U = U0 / 2 (≈ 300 В) и U = U0 (≈ 600 В).

3. При напряжении смещения U = 0 установить анализатор в положе-

ние минимального пропускания. Снять зависимость P = f (U), изменяя U в

пределах от 0 до 600 В с шагом 100 В. Повторить снятие зависимости P = = f (U) при положениях анализатора, отличных от положения минимального пропускания на 45 и 90 .

4. Включить осциллограф и генератор синусоидальных колебаний. После прогрева приборов установить выходное напряжение генератора в диапазоне 200…300 В. Ручками регулировки синхронизации осциллографа добиться устойчивого изображения сигналов. Установить анализатор в положение = 0 .

5. Зарисовать осциллограммы опорного сигнала Uи переменной составляющей излучения Рm для различных режимов: линейного (U = U0/2),

удвоения частоты (U = 0 или U = U0) и искажения амплитуды (рабочая точка находится на заметно нелинейном участке характеристики пропускания). В

31

режиме искажения амплитуды сигнала зарегистрировать осциллограммы при= 0 и = 90 при двух уровнях переменного напряжения. В каждом режиме фиксировать значения напряжений смещения U и модулирующего сигна-

ла U, постоянной P и переменной Рm составляющих мощности излучения лазера.

 

Содержание отчета

 

1.

Цель и содержание работы, схема лабораторной установки.

 

2. Таблицы и графики экспериментальных зависимостей P =

f ( ) и

P = f (U) для всех исследованных режимов.

 

3.

Обработанные осциллограммы опорного сигнала и переменной со-

ставляющей мощности излучения Рm для различных режимов.

 

4.

Выводы.

 

4. ИССЛЕДОВАНИЕ ПРОХОЖДЕНИЯ ЛАЗЕРНОГО ИЗЛУЧЕНИЯ ЧЕРЕЗ СВЕТОВОД

Цель работы – исследование прохождения лазерного излучения через многоволоконный световод, оптических потерь в световоде, трансформации распределения излучения в сечении лазерного пучка после световода.

Основные положения. Задачи транспортировки лазерного излучения по сложному пути возникают при использовании лазеров в технологии, метрологии, медицине, системах связи, управления и т. д. Существует множество способов передачи света. Один из них основывается на использовании стеклянных стержней, торцы которых хорошо отполированы, и образуют световод. Лучи, входящие в такой световод под небольшими углами к оси, двигаются в нем, претерпевая полное внутренне отражение (ПВО), и выходят с противоположного торца, даже если световод изогнут. Этот путь стал основным методом транспортировки оптического излучения. Успехи в развитии световодов были достигнуты на пути создания сверхпрозрачных стекол. Потери излучения (ослабление) в световодах измеряются обычно в децибе-

лах: α(дБ) = 10 lg(Pвх/ Pвых). Например, если Pвх/ Pвых = 100, то α = 20 дБ.

32

пад

Уменьшение потерь в стеклах до уровня 0.2…0.3 дБ ∙ км–1 было достигнуто за счет уменьшения содержания примесей ионов тяжелых металлов, а также гидроксильных групп ОН, являющихся центрами поглощения излучения в видимой и ближней ИК-областях.

Проблема минимизации потерь в световодах особенно остро стоит в во- локонно-оптических линиях связи (ВОЛС), протяженность которых может достигать десятков–сотен километров. При прочих равных условиях поглощение в стеклах зависит от длины волны излучения λ. У большинства материалов, используемых для изготовления оптических волоконных световодов, минимум потерь приходится на длины волн λ = 1.3…1.5 мкм. Распространяющееся в световоде лазерное излучение имеет конечный разброс по длинам волн Δλ. Поэтому важно, чтобы на область рабочих длин волн приходил-

ся и минимум дисперсионной функции показателя преломления n f .

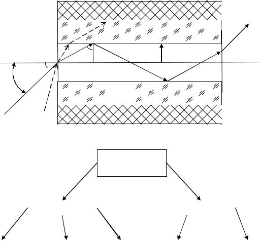
Обсудим, как проходит лазерное излучение через стеклянный световод. Рассмотрим первоначально прохождение излучения через световод прямоугольного сечения, на входной торец которого под углом пад падает пучок

излучения, параллельный плоскости нижней грани. При этом преломленный луч падает на боковую плоскость световода yz под углом св = 90 – θпр. Лучи, распространяющиеся в таком световоде под углами св ПВО , остаются в световоде за счет эффекта полного внутреннего отражения. Предельному

случаю, когда

св

 

ПВО , соответствует соотношение

nсв sin ПВО =

n sin 90

, откуда

ПВО

arcsin

n0

. Пучок, прошедший прямоугольный све-

 

0

 

 

 

nсв

 

 

 

 

 

 

 

 

товод по зигзагообразной траектории, выйдет из выходного торца под углом с некоторыми искажениями распределения плотности мощности за счет

многочисленных наклонных отражений.

Если заменить прямоугольное сечение световода на круглое, то в режиме полного внутреннего отражения траектория распространения луча станет винтообразной, а выходной пучок трансформируется в конический с увеличивающимся по продольной координате диаметром. В итоге распределение плотности мощности в поперечном сечении выходного пучка станет кольцевым. Такие изменения вызваны тем, что в световоде круглого сечения на-

33

клонное отражение происходит от цилиндрической боковой поверхности и приводит после каждого отражения к повышению расходимости пучка.

Угол полного внутреннего отражения ПВО стеклянного световода, окруженного воздухом, составляет десятки градусов. Это означает, что отдельные лучи расходящегося входного пучка будут двигаться по различным траекториям с длиной оптического пути Lin f i . Быстрее других световод пройдут лучи, распространяющиеся вдоль его оси. Отставание остальных наклонных лучей приведет к запаздыванию их появления на выходе световода на величину ti f i . Чем больше угол падения лучей входного пучка, тем больший оптический путь Li им необходимо пройти. Это означает, что наклонные лучи имеют значительную задержку t, а следовательно, сильно увеличивают длительность выходного импульса tвых tвх t . Увеличение длительности выходных импульсов снижает предельно допустимую частоту f их повторения и, соответственно, сокращает полосу частот f световода. Это негативно сказывается на объеме передаваемой информации.

Чтобы найти выход из этого положения, следует затруднить прохождение наклонных лучей через световод, тем самым уменьшить разброс Li . Этого можно достигнуть за счет увеличения ПВО arcsin n0 / nсв . Если воздушную среду вокруг световода заменить оптически более плотной оболочкой, то отношение n0 / nсв увеличится. Такой эффект реализуется при создании вокруг световода (сердцевины) оболочки с показателем преломления nоб n0 . Наилучшие результаты, позволяющие получить максимальные углы ПВО sin ПВО nоб / nсв , реализуются при выполнении условий nоб nсв и nоб / nсв = 0.98…0.99 (рис. 4.1).

Строго говоря, лучевая модель справедлива, когда диаметр оптического световода d = 2r много больше длины волны λ. Если d ~ λ, то необходимо использовать электромагнитную теорию (уравнения Максвелла). Их решение показывает, что в световоде может распространяться дискретный набор волн, соответствующий определенным углам наклона к оси, для которых выполняется условие стоячих волн.

На практике обычно используются волоконные световоды, в которых сердцевина выполняется из стекла со сверхнизким уровнем потерь. Показатель преломления окружающей оболочки nоб отличается от nсв в меньшую

34

сторону на 1–2 %. Поверх оболочки идут защитный, амортизирующий, второй защитный слои и наружная нейлоновая оболочка. Волоконные световоды имеют потери на порядки меньшие, чем в медных проводных линиях связи. Полоса частот световодов достигает f ~ 10 ГГц км. Световоды имеют малую толщину, малую массу, не подвержены электромагнитным наводкам и защищены от прослушивания. Приемник и передатчик волоконнооптических линий связи гальванически не связаны.

Световоды различают по количеству и свойствам образующих их волокон (рис. 4.2).

Защитный

 

слой

n0

Оболочка

 

Сердцевина

r

 

θПВО

θпад

nсв

 

nоб < nсв

 

Рис. 4.1. Световод с оболочкой

Основные типы световодов

Одножильные

 

Многожильные

 

 

 

Много-

 

Много-

 

Одно-

 

С регулярной

 

С нерегулярной

модовые со

 

модовые

 

модовые

 

укладкой

 

укладкой

ступенчатым

 

градиентные

 

 

 

волокон

 

волокон

 

 

 

профилем

 

(граданы)

 

 

 

 

 

 

 

 

 

 

 

 

 

показателя

 

 

 

 

 

 

 

 

 

 

 

 

 

 

 

 

преломления

 

 

 

 

 

 

 

 

 

 

 

 

 

 

 

 

 

Рис. 4.2. Классификация световодов

Существует несколько типов одножильных световодов.

35