СОДЕРЖАНИЕ
Вариант для курсового проектирования: 41

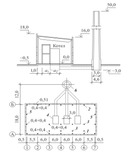
Рисунок 1.1 – Разрез сооружения и его план с нумерацией фундаментов
Таблица 1.1 – Значения нормативных нагрузок на обрезы фундаментов при наиболее невыгодных сочетаниях
|
Вариант и наименование сооружения |
Вариант нагрузок и размеров |
Номер фундамента |
Первое сочетание |
Второе сочетание |
||||
|
N0n, кН |
M0n, кН·м |
Q0n, кН |
N0n, кН |
M0n, кН·м |
Q0n, кН |
|||
|
Вариант 4 Котельная |
Нечётный а1= 3 м a2=5 м |
1 |
1320 |
-260 |
-12 |
1010 |
-300 |
-36 |
|
2 |
900 |
240 |
- |
790 |
290 |
24 |
||
|
3* |
420 |
- |
- |
580 |
- |
- |
||
|
4 |
2100 |
- |
- |
2100 |
- |
- |
||
|
5* |
360 |
-140 |
- |
450 |
-158 |
-29 |
||
|
|
|
6 |
3600 |
2400 |
200 |
3600 |
2400 |
200 |

Рис. П.1.11. Варианты 0 и (5)
Рисунок 2 – Схема размещения буровых скважин и инженерно-геологические разрезы
Разработка курсового проекта заключается в проектировании фундаментов под здание котельной.
Исходные данные взяты на основе шифра: 45, нечетный вариант, второе сочетание.
Проектируемое сооружение состоит из 2-х частей, отличающихся между собой по функциональному назначению и высоте.
Основное здание котельной каркасного типа, расположено в сетке колонн 36,0х18,0 м. наружные стены – 2,5 кирпича (510 мм). Колонны прямоугольного сечения 0,4х0,4 м. В плане основное здание котельной представляет прямоугольник. За счет уклона высота здания варьируется от 16,0 м до 18,0 м. Кровля скошена под углом 6 градусов. В здании предусмотрены 3 металлических котла (3х4,8 м). В них входят 3 лотка под металлические трубы (1,5х3 м). Они проходят под землей. Трубы стыкуются с дымовой трубой высотой 50 м из монолитного ж/б. Дымовая труба представляет собой отдельно стоящее сооружение. По внутреннему периметру здания располагаются ж/б колонны 18 шт. (0,4х0,4м) с шагом 5,5 и 6 м. Также в котельной есть подсобное помещение, где угль закладывают в котлы. Основанием для подсобки служат ж/б колонны 8 шт. (0,4х0,4 м). По бокам здания находятся дверные проемы шириной 1 м.
В пределах пятна застройки пробурены 5 геологических скважин, глубиной 14,0 м со средним расстояние между ними 42,5 м. Схема расположения скважин и инженерно-геологические разрезы представлены ниже.
Инженерно-геологическим разрезом вскрыты следующие напластования грунтов:
Почвенно-растительный слой – суглинок темно-бурый гумусированный;
ИГЭ-2 – глина серая пылеватая слоистая (ленточная) с прослойками супеси;
ИГЭ-12 – супесь серая легкая слабослоистая пылеватая с редкими линзами песка;
ИГЭ-4 – суглинок темно-серый тяжелый пылеватый с линзами и гнездами водонасыщенного песка с включениями гальки (морена)
Расчётные значения физико-механических характеристик грунтов
Таблица 2
|
ИГЭ |
|
|
cI, кПа |
|
|
cII, кПа |
|
|
|
|
|
МПа |
|
ИГЭ-2 Глина |
15,5 |
13 |
13 |
18,2 |
15 |
18 |
27,1 |
0,4 |
0,46 |
0,28 |
2,0*10^(-8) |
5 |
|
ИГЭ-12 Супесь |
16,4 |
20 |
6 |
19,2 |
24 |
8 |
26,5 |
0,22 |
0,24 |
0,18 |
2,1*10^(-5) |
14 |
|
ИГЭ-4 Суглинок |
18,3 |
20 |
30 |
21,5 |
24 |
40 |
26,5 |
0,15 |
0,24 |
0,11 |
2,3*10^(-6) |
22 |
Дополнительные производные характеристики грунтов, получаемые расчётным путём, представлены ниже для каждого вскрытого слоя.
=
– удельный вес скелета грунта, кН/м3;
– коэффициент
пористости, д.е.;
– показатель
пластичности, д.е.; по ГОСТ 25100-2011 грунт
является глиной
– показатель
текучести, д.е.; по ГОСТ 25100-2011 глина
находится в мягкопластичном состоянии
– пористость,
д.е.;
– удельный вес
грунта с учётом взвешивающего действия
воды, кН/м3;
– полная влагоёмкость
– степень влажности
грунта
E = 5 МПа – модуль деформации грунта. Грунт очень сильно деформируемый.
=1,73*10^(-5)
м/сут – коэффициент фильтрации. Грунт
водонепроницаемый.
=
– удельный вес скелета грунта, кН/м3;
– коэффициент
пористости, д.е.;
– показатель
пластичности, д.е.; по ГОСТ 25100-2011 грунт
является супесью
– показатель
текучести, д.е.; по ГОСТ 25100-2011 супесь
находится в пластичном (мягкопластичном)
состоянии
– пористость,
д.е.;
– удельный вес
грунта с учётом взвешивающего действия
воды, кН/м3;
– полная влагоёмкость
– степень влажности
грунта
E = 14 МПа – модуль деформации грунта. Грунт среднедеформируемый.
=1,8*10^(-2)
м/сут – коэффициент фильтрации. Грунт
слабоводопроницаемый.
=
– удельный вес скелета грунта, кН/м3;
– коэффициент
пористости, д.е.;
– показатель
пластичности, д.е.; по ГОСТ 25100-2011 грунт
является суглинком
– показатель
текучести, д.е.; по ГОСТ 25100-2011 суглинок
находится в тугопластичном состоянии
– пористость,
д.е.;
– удельный вес
грунта с учётом взвешивающего действия
воды, кН/м3;
– полная влагоёмкость
– степень влажности
грунта
E = 22 МПа – модуль деформации грунта. Грунт среднедеформируемый.
=1,9*10^(-3)
м/сут – коэффициент фильтрации. Грунт
водонепроницаемый.
На рассматриваемой площадке под строительство в г. Вологда произведены инженерно-геологические изыскания, расположены 5 скважин глубиной до 14 м со средним расстоянием между ними 42,5 м. рельеф практически без перепада от 11,5 до 12,5 м. рекомендуемая отметка планировки 11 м.
Площадка в пределах глубины бурения сложена из почвенно-растительного слоя, глины (ИГЭ – 2), супеси (ИГЭ – 12), суглинка (ИГЭ – 4). Мощность почвенно-растительного слоя примерно 1 м. На абсолютной отметке 10 м расположен УГВ.
Слой ИГЭ – 2: глина серая пылеватая слоистая с прослойками супеси. мощность от 3,5 до 4 м. является мягкопластичной, очень сильнодеформируемой, водонепроницаемой. Рекомендуется в качестве естественного основания или искусственного.
Слой ИГЭ – 12: супесь серая легкая слабослоистая пылеватая с редкими линзами песка. Мощность от 2,5 до 4,5 м. является мягкопластичной и среднедеформируемой, слабоводопроницаемой. Является подстилающим слоем.
Слой ИГЭ – 4: суглинок темно-серый тяжелый пылеватый с линзами и гнездами водонасыщенного песка с включениями гальки. Является тугопластичным, среднедеформируемым, водонепроницаемым. Мощность до 6 м. рекомендуется в качестве основания фундамента любого типа (в нашем случае глубокого заложения).
РАЗРАБОТКА ВАРИАНТОВ ФУНДАМЕНТОВ
Разработку вариантов следует проводить для наиболее нагруженного и характерного фундамента заданного здания или сооружения. Для котельной таким будет фундамент под основное здание.
Определение размеров фундаментов в стадии выбора вариантов осуществляется по максимальным вертикальным нагрузкам. Считая их центрально нагруженными.
Фундамент на естественном основании
Определение типа фундамента и глубины его заложения
Для данной схемы сооружения принимаем плитный фундамент.
Глубина заложения подошвы фундамента от уровня планировки:
hз ≥df, где df =1,5 м, - глубина сезонного промерзания грунта.
Для данного варианта фундамента следует учесть наличие подводящих каналов, глубина заложения которых равна -3,000 м.
Принимаем глубину заложения подошвы фундамента hз = 3,0+0,5+0,5 = 4 м.
Определение площади подошвы фундамента А и его размеров в плане: ширины b и длины l.
Для фундаментной плиты размеры задаются конструктивно на 0,5 м больше размеров здания.
Таким образом, принимаем b = 20 м l = 38 м.
Площадь фундамента А=b*l= 760 м2
Определение расчетного сопротивления фундамента R с учетом принятой ширины подошвы
Расчётное сопротивление грунтов определяется в соответствии с п. 5.6.7 СП 22.13330.2011:

где yc1 и yc2 – коэффициенты условий работы, принимаемые по таблице 5.4 СП 22.13330.2011;
k – коэффициент, принимаемый равным единице, если прочностные характеристики грунта (II и cII) определены непосредственными испытаниями, и k = 1,1, если они приняты по таблицам приложения Б СП 22.13330.2011;