Материал: KP_OPUS_Kolodzey1

Внимание! Если размещение файла нарушает Ваши авторские права, то обязательно сообщите нам

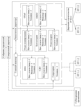
Функциональные отделы целесообразно формировать при количестве человек более трех. На все виды деятельности можно сформировать свои отделы. Канцелярская работа поручается секретариату генерального директора.

Главному инженеру предприятия решено подчинить производственно-технический и сметно-договорной отделы, а также двое старших прорабов I территориального района. Заместителю директора непосредственно подчинены отделы планирования, бухгалтерия, отдел кадров, отдел материально-технического снабжения и сбыта, а также отдел труда и зарплаты.

Функциональные отделы в силу своих компетенций вносят свои обоснования и предложения, после чего руководители принимают решения и передают их вниз для исполнения. Руководители одного уровня (главный инженер и заместитель директора) имеют функциональную связь с целью предотвращения ситуаций, в ходе которых вниз могут быть отправлены противоречивые приказы.

Поскольку заданием предусматривается создание предприятия в форме общества с ограниченной ответственностью, на общей схеме показано собрание учредителей, которому подотчетен руководитель предприятия.

Функциональной связью связаны генеральный директор предприятия и субподрядная организация.

Организационная структура представлена в Приложении В на рисунке 4.

Библиографический список

1. Разработка организационной структуры управления предприятия: учеб. пособие / И.В. Колос. – СПб.: ФГБОУ ВПО ПГУПС, 2015. – 47 с.

2. Основы управления железнодорожным строительством: учеб. пособие / А.Ф. Колос, И.С. Козлов; под ред. А.Ф. Колоса. – Санкт-Петербург: ФГБОУ ВПО ПГУПС,2014. – 69 с.

Приложение А

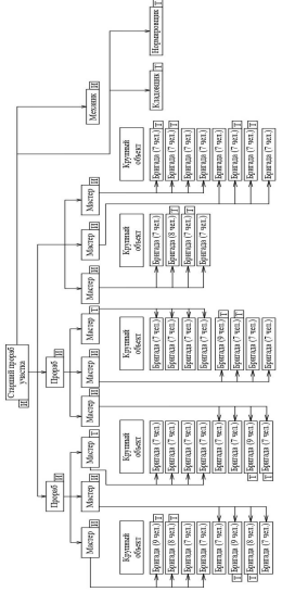
Рисунок 1- Структура прорабского участка ПУ 1.1 (ПУ 2.1)

Рисунок 2- Структура прорабского участка ПУ 1.2 (ПУ 2.2)

Приложение Б

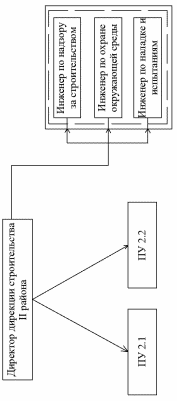
Рисунок 3 - Структура управления дирекцией строительства

Приложение В

Рисунок 4 – Организационная структура управления строительным предприятием