Материал: 914

Внимание! Если размещение файла нарушает Ваши авторские права, то обязательно сообщите нам
т.е. lоk= lok

16

где

L1, L2, L3 – пролеты здания; D – длина здания; 2. Определения площади одной ленты.

Так как остекление двустороннее, то площадь одной ленты остекления SЛ определяется:

SЛ=S0/2

3. Определение максимальных размеров ленты остекления.

Максимально возможная длина и высота ленты остекления ограничивается геометрическими размерами проектируемого здания.

Максимальная длина ленты lokmax определяется:

lokmax =D – 6,

где D – длина здания по заданию.

Максимальная длина ленты hokmax определяется:

hokmax = HЗД – 1,2 ,

где HЗД – высота здания по заданию (рис. 2)

Принимаем длину ленты остекления равной максимальному значению, max , тогда можно определить приблизительную высоту ленты остек-

ления hok по формуле:

hok = SЛ / lok;

В случае если hok≥ hokmax, принимаем hok = hokmax.

Если hok< hokmax , то высоту hok принимают равной стандартным значениям,

округляя hok в большую сторону.

Стандартная высота ленты остекления:

1200; 2400; 3600; 4800; 5400; 6000;6 600; 7200 мм

т.е. lоk= lok

 

 

17

 

 

1

а

 

 

1,2

hок

 

1,2

 

 

 

D – 6

1

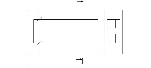
Рис. 1 Схема ленточного остекления.

hок – высота остекления; D – длина здания по заданию; а – высота участка стены над лентой остекления

Принимаем длину ленты остекления равной максимальному значению, max , тогда можно определить приблизительную высоту ленты остек-

ления hok по формуле:

hok = SЛ / lok;

В случае если hok≥ hokmax, тогда принимаем hok = hokmax.

Если hok< hokmax , то высоту hok принимают равной стандартным значениям,

округляя hok в большую сторону.

 

 

 

18

 

 

HСТ

5

1 – 1

HК

 

 

 

 

hПЛ

a

3

 

 

 

 

 

 

 

hК

 

1

 

 

 

 

 

HЗД

 

 

 

 

 

 

2

hok

4

 

 

 

 

1200

 

 

 

 

 

1

 

 

Рис.2

Разрез 1-1 по фасадной стене

1.Опора покрытия (колонна или пилястра);

2.Стропильная металлическая ферма или ж/б балка;

3.Стена;

4.Лента остекления;

5.Плита покрытия.

4.Определение высоты участка стены “а”

При определении отрезка “а” (рис. 3) следует учитывать то, что отметки HСТ и HK должны соответствовать условию:

HСТ≥HK,

где HСТ – отметка верха стены;

HK – отметка в коньке.

19

В первую очередь определяем HK:

HK = HЗД + hK + hПЛ ,

HЗД – высота здания по заданию;

hK – высота фермы или балки в коньке; hПЛ – высота плиты покрытия.

(если плита l=6 м → hПЛ =300 мм; l=12 м → hПЛ =450 мм).

Приблизительное значение “ a’ ” определяется:

a’= HK – 1,2 – hОK.

Если стены кирпичные, то полученные значения округляем до целого в большую сторону.

Если стены панельные (пенобетон, газобетон, керамзитобетон), то на высоту стены “ a’ ” подбирают высоту стеновых панелей так, чтобы их суммарная высота была не меньше чем “ a’ ”.

Стандартная высота стеновой панели: 900; 1200; 1500; 1800 мм.

Определив значения “а” остается определить отметку верха стены HСТ:

HСТ = 1,2 + hОK + а.

В результате расчета двустороннего естественного освещения получили длину lОК , высоту hОK ленты освещения. Так же известны отметки HСТ , HК , и длина отрезка “а”.

Практическое занятие № 4

Тема: Расчет ширины подошвы и выбор фундамента 1. Сбор нагрузок.

Сумму нагрузок, действующих на фундамент, следует определять по формуле

P = qF +

G

+Qcm +Qon +Qф.п. + Pсн + Pкр

(9)

 

2

 

 

где q - вес 1 м покрытия;

20

F - расчетная грузовая площадь;

G - вес несущей конструкции покрытия;

Q ст вес стены, приходящейся на расчетный фундамент; Q оп - вес опоры покрытая;

Q ф.б. - вес фундаментной балки;

P сн - нормативная нагрузка от снега;

P кр - нормативная нагрузка от крана (см. задание).

Расчет фундамента необходимо производить после теплотехнического расчета стены, выбора несущих ж/б конструкций (балки, фермы, колонны), состава кровли, светотехнического расчета.

Вес 1 м2 покрытия следует определять по конструктивным элементам покрытия: ж/б плита, пароизоляция, утеплитель, стяжка и гидроизоляционный ковер. Вес каждою слоя покрытия на одном квадратном метре определяется по формуле:

qn = I δ Vn

(10)

где δ - толщина слоя; V n - вес материала; I - площадь участка.

Например, вес 1 м2 утеплителя из пенобетона определяется следующим образом (толщина 100 мм):

q yr =1·0,1·500 = 50 кг,

где. δ=0,1 м, a Vyr = 500 кг/м3.

В 1 м2 пергамина = 0,5 кг; рубероида = 1 кг; битумной мастики = 3 кг. Пользуясь формулой 9, определяется вес 1 м материала послойно, а затем значения складываются и получаем «q» - вес 1м покрытия:

q = qплиты + qпароиз + qутепл + qгидроиз + qстяжки

(11)