Материал: 647

Внимание! Если размещение файла нарушает Ваши авторские права, то обязательно сообщите нам

а)

б)

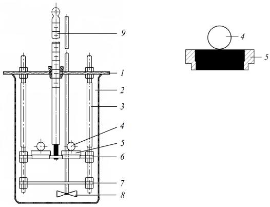
Рис. 3. Схема дуктилометра: а исходное положение; б в процессе испытания; 1 – ванна для термостатирования;

2 – неподвижная каретка; 3 – подвижная каретка; 4 – образец битума; 5 – мерная линейка; 6 – блок управления

Рис. 4. Форма для битума

Образцы битума с формами и пластиной помещают в водяную ванну 1 дуктилометра с температурой воды 25 ± 0,5 °С. Высота слоя воды над битумом должна быть не менее 25 мм. В ванне поддерживают постоянную температуру, добавляя горячей или холодной воды. После окончания термостатирования форму с битумом закрепляют на неподвижной 2 и подвижной 3 каретках дуктилометра, предварительно удалив папиросную бумагу и боковые стенки формы. Включают электродвигатель, и начинается перемещение подвижной каретки 3, на которой закреплены части формы образца битума. Растяжение производится со скоростью 5 см/мин.

Показателем растяжимости служит абсолютное удлинение образца битума в момент обрыва (см), фиксируемое по мерной линейке 5. Показатель растяжимости определяют как среднее арифметическое трех параллельных испытаний. При значении удлинения

11

до 10,0 см результат округляют до 0,1 см, при большем значении результат округляют до целого числа. Расхождение между двумя результатами испытаний не должно превышать 10 % от среднего результата.

Значение растяжимости для каждой марки битума должно соответствовать требованиям, приведенным в табл. 1, 2.

1.4. Определение температуры размягчения

Испытания производят на приборе «Кольцо и шар» (КиШ). Прибор (рис. 5) состоит из стеклянного стакана 2 и металлического штатива 3, на котором закреплены термометр и три пластины – верхняя 1, средняя 6 и нижняя 7. В средней пластине имеются четыре отверстия диаметром 19 мм для установки в них колец 5, залитых испытуемым битумом. Термометр 9 устанавливают так, чтобы нижняя точка ртутного шарика была на одном уровне с нижним краем колец. Допускается использовать автоматические или полуавтоматические аппараты, а также аппараты с двумя гнездами, основные размеры рабочей части которых соответствуют требованиям ГОСТ 11506-73 [5].

а)

б)

Рис. 5. Схема прибора для определения температуры размягчения битума: а общий вид; б кольцо с битумом; 1 – верхняя пластина; 2 – стеклянный стакан; 3 – штатив; 4 – шарик;

5 – кольцо; 6 – средняя пластина;

7 – нижняя пластина; 8 – мешалка пропеллерная; 9 – термометр

12

Испытание проводят в такой последовательности. Предварительно обезвоженным и нагретым до текучего состояния битумом заполняют кольца с некоторым избытком. После остывания в течение 20 – 30 мин при комнатной температуре избыток битума срезают горячим ножом. Кольца устанавливают в отверстия средней пластины, и штатив с кольцами выдерживают в течение 15 мин в стакане, заполненном водой с температурой 5 °С. Затем штатив вынимают из стакана, на каждое кольцо в центре поверхности битума кладут стальной шарик диаметром 9,53 мм и массой 3,5 г и вновь помещают в стакан. Стакан со штативом ставят на нагревательный прибор и подогревают со скоростью 5 ± 0,5 °С/мин.

Температура, при которой битум, залитый и затвердевший внутри колец, в условиях испытания размягчается и, перемещаясь под действием веса стального шарика, коснется нижней пластинки, принимается за температуру размягчения.

За температуру размягчения принимается среднее арифметическое результатов двух параллельных испытаний, округленное до целого числа. Расхождения результатов определений не должно превышать 1 °С.

Температура размягчения является условной характеристикой перехода битума из упруговязкопластического (твердого и полутвердого) в жидкотекучее состояние. Следовательно, температура размягчения служит мерой теплоустойчивости битумов: чем выше температура размягчения, тем больше теплоустойчивость битума, тем надежнее битум будет работать при повышенных эксплуатационных температурах.

Для каждой марки битума температура размягчения должна быть не ниже определенных значений, указанных в табл. 1, 2.

1.5. Определение температуры хрупкости

Температура хрупкости – это температура, при которой битум переходит из упруговязкого в хрупкое состояние. Температуру хрупкости определяют на аппарате Фрааса (рис. 6) по методике ГОСТ 11507-78* [6]. Допускается применение аппаратов другой конструкции, по основным размерам рабочей части, условиям проведения и результатам испытания, соответствующих аппарату Фрааса.

Аппарат Фрааса состоит из сосуда Дьюара 7, в котором на каучуковой пробке 3 крепится пробирка 4, служащая воздушной баней.

13

На стальную пластинку 6 (длина 40 ± 1 мм, ширина 20 ± 1 мм, толщина 0,15 мм) наносится 0,4 г битума.

а)

б)

I II

Рис. 6. Схема аппарата Фрааса: а внешний вид; б устройство для сгибания пластинки; 1 – термометр; 2 – приспособление для перемещения внутренней трубки; 3 – пробка; 4 – пробирка; 5 – устройство для сгибания пластинки; 6 – стальная пластинка; 7 – сосуд Дьюара; I – начальное положение пластины; II – конечное положение пластины

Стальная пластинка с битумом вставляется в захваты устройства для сгибания пластинки 5, при этом битумный слой должен быть расположен наружу. Снижение температуры в приборе должно составлять 1 °С/мин, что регулируется добавлением твердой углекислоты. Температура контролируется низкотемпературным термометром 1. При температуре, примерно на 10 °С выше ожидаемой температуры хрупкости начинают сгибать пластинку.

Сгибают и распрямляют пластинку равномерным вращением рукоятки со скоростью около 1 об./с сначала в одну сторону до достижения максимального прогиба пластинки (при уменьшении рас-

14

стояния между пазами захватов до 36 ± 0,1 мм), а затем в обратную сторону до достижения исходного положения.

Весь процесс сгибания и распрямления пластинки должен заканчиваться за 20 – 24 с. Операцию повторяют в начале каждой минуты и отмечают температуру в момент появления первой трещины. Для уточнения появления трещины допускается кратковременно извлекатьпробиркус битумомизсосудаДьюара илиширокой пробирки.

Аналогичные испытания проводят с другой пластинкой с битумом, при этом сгибать пластинку начинают при температуре на 10 °С выше температуры появления трещины на первой пластинке. Если полученные значения различаются на величину, превышающую 3 °С, то проводят третье определение. Время с момента нанесения битумного покрытия до конца испытания не должно превышать 4 ч.

Температура хрупкости – это температура появления первой трещины в тонком слое битума, нанесенного на стальную пластинку, при изгибании этой пластинки.

За температуру хрупкости принимается среднее арифметическое результатов двух параллельных испытаний, округленное до целого числа. Расхождения между результатами определений не должно превышать 3 °С.

Чем ниже (для данной марки) температура хрупкости, тем выше качество битума. Значения температуры хрупкости для каждой марки битума должны быть не выше температур, указанных в табл. 1 и 2.

1.6. Определение температуры размягчения после прогрева

В процессе длительного нагревания битумов происходят деструктивные процессы, связанные с испарением легких фракций, окислением, полимеризацией и т.п. Это приводит к нежелательным изменениям свойств битумов: увеличивается вязкость, хрупкость и ухудшаются деформативные свойства (уменьшается эластичность, пластичность). О степени изменения свойств битума при его длительном прогреве можно судить по интенсивности изменения температуры размягчения. Этот показатель определяют по ГОСТ 11506-73* [5] и

ГОСТ 18180-72* [7].

Битум наливают не менее чем в две чашки (в металлические по 50 ± 0,1 г, в стеклянные по 28 ± 0,1 г в каждую) и при осторожном наклоне чашки распределяют его по дну равномерным слоем (приблизительно 4 мм).После охлаждения битума до комнатной температуры

15