Материал: 587

Внимание! Если размещение файла нарушает Ваши авторские права, то обязательно сообщите нам

мой инерционной единицей , и влияние упругих волн, возникающих в дорожном полотне при динамическом воздействии, можно не учитывать.

14.Регулировочным винтом консольной балки опустить измерительную головку до показаний на табло «5.00 - 6.00» и нажать кнопку готовности установки к работе «Зап».

15.Нажать на блоке управления кнопку «↓». Траверса с крюком начнет движение вниз до захвата груза. В момент захвата срабатывает концевой выключатель, расположенный на траверсе, двигатель включится на реверс, и траверса с грузом начнет подъем. На высоте сброса груза крюк своим плечом упирается в закрепленный на раме упор и, поворачиваясь на оси, производит сброс груза и обнуляет показания табло БУ. В момент удара груза о штамп ПЛП измеряет максимальный прогиб дорожного покрытия, величина которого высвечивается на табло блока управления. Время воздействия динамической нагрузки на дорогу составляет 0,02…0,04 с. Измерение упругого прогиба производится с помощью цифрового датчика прогиба в момент приложения на дорогу динамической нагрузки. Датчик прогиба преобразует в число импульсов прогиб дорожной одежды. В ПЭВМ число импульсов преобразуется в прогиб. Выполняется обработка и индикация информации на экране ПЭВМ, а также за-

пись информации на жесткий магнитный диск.

Траверса, продолжая движение вверх после сброса грунта, за счет имеющегося на ней флажка приводит к срабатыванию концевого выключателя, сигнал с которого формирует команду на остановку.

Груз, ударившись о штамп, за счет упругих сил пружины 7 отскакивает вверх и зависает на фиксаторах механизма подхвата.

16.Для повторного проведения измерения прогиба необходимо проверить правильность расположения наконечника ПЛП в отверстии штампа и нажать кнопку «↓».

17.Для проезда в следующую точку испытаний необходимо убрать консольную балку ПЛП и поднять штамп путем нажатия кнопки «↑».

18.После окончания работы выполнить следующие операции:

-выключить тумблер «Питание»;

-подцепить и приподнять вручную лебедкой груз, установить фиксаторы и опустить груз на них;

-поднять траверсу в верхнее крайнее положение;

-зафиксировать штамп;

-опустить траверсу на груз;

-откинуть колпак;

-снять блок управления с установки;

-отключить аккумулятор (при работе в автономном режиме);

-снять предупреждающие знаки и зачехлить установку.

2.Измерение коэффициента сцепления шины с дорогой и ровности дорожного покрытия

Измерение коэффициента сцепления основано на определении тормозной силы, возникающей в площади контакта полностью заблокированного колеса с гладким протектором и увлажненного покрытия с толщиной водяной пленки в 1 мм, при буксировании узла ПКРС со скоростью 60 км/ч.

Пределы измерений коэффициентов сцепления от 0,15 до 0,65. Температура окружающего воздуха при измерениях должна находиться в пределах от +5 до +40оС. Эксплуатация ПКРС допускается при давлении в шине колеса 1,7 ±0,1Мпа.

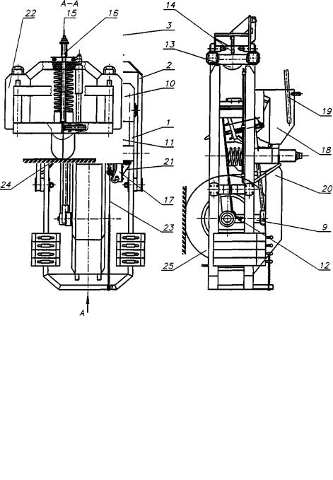
ПКРС состоит из колеса 25 (рис. 2), установленного на подрессоренной оси – подвески 4. Ось – подвеска позволяет колесу совершать вертикальные колебания относительно рамы 1. Рама с помощью двух вилок 2, образующих параллелограмм в вертикальной плоскости, крепится к траверсе сцепки 7, которая соединяется с кронштейном сцепки 3. Благодаря параллелограммной сцепке рама устройства постоянно сохраняет положение, параллельное поверхности

дороги. На раме с двух сторон установлено по четыре съемных груза 22 для создания необходимого усилия с целью прижатия колеса к дорожному покрытию.

Под осью подвески размещено устройство полива 11, состоящее из сопла сечением 200 х 10 мм, формирующего плоскую струю воды. Устройство полива соединено трубопроводами через дополнительный бак с баком лаборатории емкостью 200 л. Вода заливается в бак через заливную горловину из водопроводного шланга. Контролируется наполнение бака через показатель уровня, находящегося на передней стенке бака.

Система водополива обеспечивает самотеком требуемый расход воды при измерениях.

При подготовке ПКРС к работе необходимо выполнить следующие операции:

-отвернуть болты башмаков и снять колесные башмаки;

-отвернуть болты крепления стяжек и снять стяжки крепления ПКРС;

-выгрузить ПКРС;

-присоединить ПКРС кронштейном 3 к сцепке автомобиля с помощью четырех конических болтов;

-присоединить шланг 19 к патрубку лаборатории;

-установить на раму ПКРС груза 22 в соответствии с их маркировкой, зафиксировать осью и зашплинтовать (выполняется в том случае , если не производится проверка тормозной системы);

-присоединить электрические кабели ПКРС к разъемам на заднем борту лаборатории.

Далее необходимо проверить блокировку колеса ПКРС, выполнив следующие операции:

-зафиксировать вилки параллелограмма относительно рамы ПКРС тележкой 7 (рис. 3);

-установить тягу заднего хода с правой стороны;

-снять кожух крыла;

-установить рычаг и зафиксировать осью;

-нажатием на рычаг приподнять колесо и установить ограничительную скобу 3 на центральную ось пружины. Убрать рычаг в обратной последовательности:

-установить винтовую стойку 1 и зафиксировать сверху винтом 2, подложив под нижний конец стойки подпятник 10;

-поднять раму ПКРС с колесом вращением винта 11, расположенного внизу стойки;

-убрать стойку;

-отвернуть гайки крепления колеса и снять колесо;

-установить вместо колеса рычаг 8 и зафиксировать гайками крепления

колеса;

-установить тягу;

-подготовить и включить аппаратуру в лаборатории в режиме измерения коэффициента сцепления;

-заблокировать колесо с помощью регулируемой распорки.

Вращением гайки обеспечить нагрузку на рычаг, при которой на экране дисплея в левом окне индицируется число.

В течение десяти секунд это число не должно меняться более чем на два. Измерение коэффициента сцепления производится после нажатия кнопки «Торможение». При этом последовательно происходит открытие клапана полива, блокировка заноса ПКРС относительно тягового автомобиля и блокировка колеса. Механизм противозаноса состоит из суппорта 13 переднего колеса автомобиля ВАЗ-2101 и сектора 14. Суппорт закреплен на траверсе 7 сцепки ПКРС, а сектор – на кронштейне сцепки 3. Кнопка «Торможение» удерживается в течение 1-1,5 сек. Длительность цикла торможения – 2,5…3 сек. При длительном удержании кнопки «Торможение» в нажатом состоянии происходит

повтор цикла торможения.

Рис. 2. Прибор контроля ровности и скользкости. 1 – рама; 2 - винт; 3 – кронштейн сцепки; 4 – ось подвески; 5 - ось; 6 – датчик линейных перемещений; 7 – траверса сцепки; 8 – тяга тормозная; 9 - рычаг; 10 – электромеханический привод; 11 - механизм торможения и полива; 12 - система гидропривода; 13 - суппорт; 14 - сектор; 15 – стяжка пружины; 16 - скалка; 17 – датчик ровности; 18 – бак накопительный; 19 - шланг; 20 - брызговик; 21 - кронштейн; 22 - груз; 23 - тросик; 24 – кабель ПКРС-2У; 25 - колесо