Материал: 3751

Внимание! Если размещение файла нарушает Ваши авторские права, то обязательно сообщите нам

36

Величину динамического усилия Qф, развиваемого установкой, определяют по формуле, приведенной в п 3.1. Периодически необходимо производить тарировку колес с вычислением показателя их жесткости δ1.

5.5 Метод штамповых испытаний 5.5.1 Устройство установки

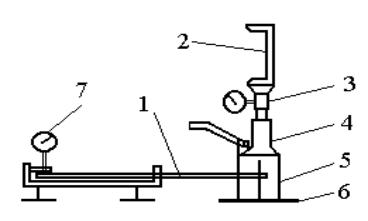
Рис. 5.4 Схема установки для штамповых испытаний дорожной одежды: 1 – прогибомер; 2 – рама; 3 – динамометр; 4 – домкрат; 5 – опорные стойки; 6 – штамп

При испытании жестким штампом нагрузка на поверхность осуществляется через круглый жесткий штамп 6. Усилие создается домкратом 4, упираемым в раму груженого автомобиля 2 или другого транспортного средства, способного обеспечить усилие до 50 кН, измеряемое механическим динамометром 3. Прогиб дорожной конструкции фиксирует индикатор, установленный на прогибомере на расстоянии не менее 4 D от штампа и колес автомобиля. Если домкрат передает нагрузку на штамп через три опорные стойки 5, то измерительный стержень прогибомера 1 устанавливается в центре штампа. Если нагрузка передается непосредственно от домкрата, минуя стойки, то в стенке домкрата устраивается прорезь и стержень прогибомера устанавливается в нее. При этом индикатор часового типа располагается непосредственно около домкрата, а на расстояние, равное 4 -м диаметрам штампа, выносится ножка прогибомера.

5.5.2 Проведение испытаний Перед началом испытаний автомобиль устанавливают на опоры, которые

37

подставляют под раму недалеко от задних колес таким образом, чтобы расстояние между опорами и жестким штампом было не менее 1,5 м. Штамп устанавливается на испытуемый слой после тщательного выравнивания его поверхности с помощью тонкого слоя песка (1-5 мм). Затем производят нагружение штампа и выдерживают под максимальной нагрузкой в течение 2 минут с последующей разгрузкой.

Производят проверку устойчивости жесткой системы, для чего осуществляют легкие постукивания металлическим предметом по швеллеру прогибомера или по опорной балке. При этом стрелка индикатора должна слегка покачиваться, но оставаться на том же месте.

Испытания проводят ступенчатым нагруженном (3-5 ступеней) до достижения расчетного значения: 0,5 МПа на поверхности основания; 0,2 МПа на подстилающем слое и песках; 0,5-1 МПа на связных грунтах земляного полотна (большее значение - при влажности грунта менее 0,7 WT). Время нагружения от одной ступени до другой составляет 10-20 с. На каждой ступени выдерживается пауза в течение 30 с. Разгрузка осуществляется также ступенчато с выдерживанием тех же временных параметров.

Отсчеты по индикатору снимают на каждой ступени (при нагружении и разгрузке) после истечения временной паузы. Перед снятием отсчетов легко постукивают по швеллеру прогибомера или опорной балке.

5.5.3 Обработка результатов измерения Упругую деформацию конструкции определяют по разности отсчетов и

строят график зависимости упругой деформации от удельной нагрузки. График должен представлять плавную кривую выпуклую вверх - для зернистых материалов и вниз -для связных грунтов.

Модуль упругости для слоистой системы, а также для связных грунтов и

материалов однородной конструкции определяют по формуле

 

Eу 0,25 p D 1 2 / l ,

(5.7)

где р- максимальное (расчетное) давление от штампа; D - диаметр жесткого штампа; μ - коэффициент Пуассона (для грунтов земляного полотна μ=0,35, для материалов оснований μ=0,25, для вычисления общего модуля упругости μ=0,3); l - упругая деформация, соответствующая данной нагрузке.

После определения модуля упругости его значения сравнивают с

38

нормативным и делают выводы о состоянии испытываемой конструкции.

Контрольные вопросы

1Какова цель и сроки проведения испытаний дорожных конструкций на прочность?

2Конструкция и методика измерений с помощью длиннобазового прогибомера.

3Устройство установок для испытаний кратковременным нагружением и их применение.

4Метод штамповых испытаний.

Лабораторная работа № 6 ВИЗУАЛЬНАЯ ОЦЕНКА СОСТОЯНИЯ АВТОМОБИЛЬНЫХ ДОРОГ

1 Цель работы

Визуальное обследование конструктивных элементов участка автомобильной дороги, отнесение каждого элемента и всей автодороги в целом к соответствующему уровню содержания, назначение ремонтных мероприятий и описание технологии их проведения.

2 Общие сведения

Визуальную оценку состояния автомобильных дорог проводят ежемесячно при определении уровня содержания и первом этапе комплексной оценки качества дороги. По ее результатам определяют транспортноэксплуатационные характеристики автомобильной дороги, назначают участки для более детального (инструментального) обследования, дают заключение об уровне содержания обследуемого участка.

При визуальном осмотре производят простейшие измерения величины разрушений или дефектов, определяется их площадь, а также площадь загрязнения различных элементов дороги.

Результаты обследования заносятся в заранее заготовленные таблицы и

39

журналы карандашом. При необходимости внесения исправлений не допускается стирание записей. Их зачеркивают, а рядом или сверху делают новую.

По результатам обследования каждый элемент относят к соответствующему уровню, который может быть допустимым, средним и высоким. Возможна балльная оценка, которая соответственно составляет 3,4 и 5. При недопустимом уровне содержания выставляется оценка 0.

Если хотя бы один конструктивный элемент оцениваемого участка дороги относят по уровню содержания к недопустимому, то и весь участок оценивается как не соответствующий уровню содержания.

3 Порядок проведения обследований

При проведении измерений используются: мерная лента или курвиметр, металлическая линейка, мел или вешки.

Группа студентов разбивается на две бригады и первоначального производит предварительную оценку одного километра дороги (каждая бригадапо 500 м). Определяются границы наихудших участков длиной по 100 м, которые фиксирует мелом или вешками. Длину участков определяют с помощью курвиметра или мерной ленты.

Каждый стометровый участок разбивается на 10 м фиксацией на нем дефектов и привязкой к пикетам. Величину разрушения или загрязнения измеряют металлической линейкой. Данные заносят в табл. 6.1.

 

 

 

Таблица 6.1

Результаты определения дефектов и разрушений

 

 

 

 

 

Местоположение

Вид разрушения

Рисунок разрушения,

Уровень содержания

дефекта (разрушения)

(деформации,

его размеры и площадь

элемента дороги на

ПК

загрязнения)

 

данном участке

 

 

 

 

Проезжая часть

Земляное полотно

Искусственные сооружения

Обустройство и обстановка

40

5 Обработка результатов

Оценку уровня содержания для различных элементов дороги производят согласно табл. 6.2 – 6.6.

 

 

 

 

 

Таблица 6.3

Оценка уровня содержания элементов дороги

 

 

 

 

 

 

 

 

 

Эксплуатационная

 

 

Уровень содержания

 

 

категория дорог

 

 

 

 

 

 

 

допустимый

средний

 

высокий

 

 

 

 

 

 

 

 

 

 

Проезжая часть

 

 

Наличие полос загрязнения у кромок покрытия шириной до 0,5 м

 

 

 

(в процентах от площади покрытия)

 

 

 

 

 

 

 

 

I

 

нет

нет

 

нет

 

II

 

3 %

1,5 %

 

нет

 

III

 

5 %

3 %

 

нет

 

IV

 

8 %

5 %

 

3 %

 

V

 

10 %

8 %

 

5 %

 

Максимальный просвет под 3 м рейкой в местах заделки повреждений

 

 

 

не более 7 мм

5 мм

 

3 мм

 

Наличие необработанных мест вылеживания битума на 1000м2

 

I

 

до 7 м2

до 5 м2

 

нет

 

II

 

10 м2

7 м2

 

5 м2

 

III

 

15 м2

10 м2

 

7 м2

 

IV

 

20 м2

15 м2

 

10 м2

 

V

 

25 м2

20 м2

 

15 м2

 

Выбоины

не более 15x60x5 (длина х ширину) на 1000 м2

 

I

 

0,3 м2 (в весенний

нет

 

нет

 

 

 

период 1,5 м2)

 

 

 

 

II

 

1 м2 (3 м2)

0,3 м2 (1,5 м2)

 

нет

 

III

 

1,5 м2 (4,5 м2)

1 м2 (3 м2)

 

0,3 м2 (1,5 м2)

 

IV

 

2 м2 (6 м2)

1,5м2 (4,5 м2)

 

1 м2(3 м2)

 

V

 

2,5 м2 (7 м2)

2 (6 м2)

 

1,5м2 (4.5м2)

 

Отдельные

раскрытые трещины

, на покрытии до 1000 м2

 

I

 

0,5 см

0,3 см

 

нет

 

II

 

0,7 см

0,5 см

 

0,3 см

 

III

 

1 см

0,7 см

 

0,5 см

 

IV

 

1,3 см

1 см

 

0,7 см

 

V

 

1,5 см

1,3 см

 

1 см

 

Гребенка, нарушение профиля (от общей площади)

 

 

III

 

до 5 %

до 3 %

 

нет

 

IV

 

до 10 %

до 5 %

 

до 3 %

 

V

 

до 15 %

до 10 %

 

до 5 %

 

 

Колейность на переходном покрытии

 

 

III

 

до 2 см

до 1 см

 

нет

 

IV

 

до 3 см

да 2 см

 

нет

 

V

 

до 4 см

до 3 см

 

нет

 

Не допускается: