Материал: 2464

Внимание! Если размещение файла нарушает Ваши авторские права, то обязательно сообщите нам

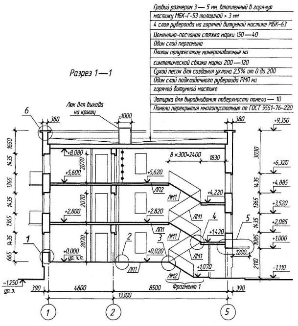
СибАДИРис. 5.5. Конструктивный разрез здания

На чертежах разрезов зданий сооружений наносят все размеры и отметки, необходимые для определения положения любого конструктивного элемента.

Вне габаритных контуров разреза проставляют:

- расстояния между всеми координационными и крайними ося-

ми;

- отметки низа плит покрытия верхнего этажа многоэтажных зданий (сооружений);

66

- отметкуверха стен, карнизов, уступов стен; - размеры и привязку (по высоте) проемов, отверстий, ниш и

гнезд в стенах и перегородках, изображаемых в сечении.

Для проемов с четвертями размеры указывают по наименьшему

значению.

СибАДИобводке контуров видимых элементов наложенных сечений, удалении вспомогательных построений, нанесении размерных чисел, высотных отметок, марок элементов конструкций, координационных осей, узлов и выносных элементов, выполнении условных графических обозначений материалов.

Кроме того, на чертежах разрезов жилых и общественных зданий

проставляют:

расстоян е от верха проема верхнего этажа до верха парапета

или карн за;

отметки верха низа проемов, площадок наружных лестниц,

верха вент ляц онных шахт, конька крыши и т.п.

Внутри габар тных контуров разреза проставляют отметки:

-

уровня земли, ч стого пола этажей и площадок;

-

н

за несущ х конструкций покрытия одноэтажных зданий (со-

оружен й);

-

н

за опорной части закладываемых в стены элементов конст-

рукций.

 

Кроме того, для жилых и о щественных зданий наносят размеры высоты помещений, толщины перекрытий, включая пол, отметки низа

покрытия.

На свободных местах изображения и в соответствии с правилами

на разрезы также наносят:

толщину стен и их привязку к координационным осям (при не-

обходимости);

марки элементов, не замаркированных на планах и фасадах; ссылки на узлы, а также чертежи элементов конструкций зда-

ния (сооружения), замаркированных на разрезах.

Графическое оформление разреза заключается в окончательной

Разрезам здания (сооружения) присваивают общую последовательную нумерацию арабскими цифрами в пределах каждого основного комплекта рабочих чертежей.

67

а

 

б

 

в

 

 

 

СибАДИ

 

 

 

г

 

 

 

 

 

 

 

 

 

 

 

 

 

д

 

 

 

е

 

 

 

 

 

 

 

 

 

 

 

 

 

 

 

 

 

 

 

 

 

ж

 

 

з

 

Рис. 5.6. Порядок построения чертежа разреза: а – 2-й этап – нанесение линии уровня чистого пола; б – 3-й этап – нанесение координационных осей здания; в – 4-й этап – вычерчивание контуров наружных и внутренних капитальных стен; г – 5-й этап – нанесение линий уровней этажей; д – 6-й этап – вычерчивание контуров пола и перекрытий этажей; е – 7-й этап – вычерчивание элементов здания; ж – 8-й этап – определяем и показываем отметки элементов, размерные

«цепочки»; з – 9-й этап – окончательное оформление чертежа

68

В названиях указывают обозначение соответствующей секущей плоскости, например: «Разрез 1-1» (см. рис. 5.4).

Последовательность вычерчивания разреза здания:

1-й этап. На план первого этажа нанести линию разреза так, СибАДИчтобы она прошла по лестнице, оконным или двернымпроемам.

2-й этап. На ч стом листе провести горизонтальную прямую, которую пр н мают за уровень пола первого этажа [т.е. ее уровень равняется отметке 0,000 (ур. ч. п.)].

3-й этап. Определить на плане здания координационные оси, проходящ е через секущую плоскость, расстояния между ними и нанести х на чертеж.

4-й этап. Для построения различных элементов разреза использовать некоторые размеры, имеющиеся на плане, например толщину внутренн х наружных капитальных стен и перегородок, ширину оконных дверных проемов и т.п.

5-й этап. Н же л нии уровня чистого пола нанести линию уровня земли (ур. з.). От линии уровня чистого пола вверх отложить высоты этажей, верха чердачного перекрытия.

6-й этап. От линии уровня пола вниз отложить размеры толщины панели перекрытия и конструкции пола и провести горизонтальную линию потолка этажа.

7-й этап. Изобразить другие элементы здания, расположенные за секущей плоскостью (крышу, перегородки, проемы и т.п.), наметить контуры проемов.

8-й этап. Провести выносные и размерные линии, вычертить знаки высотных отметок.

9-й этап. Обвести контуры разреза линиями соответствующей толщины, нанести необходимые размеры, отметки, марки осей и т.п. При построении конструктивного разреза такая последовательность сохраняется. Сделать необходимые надписи удалить ненужные линии построения, детально вычертить конструктивные элементы, обозначить узлы (окружностью или овалом) для дальнейшей разработки, для многослойных конструкций сделать этажерки, заштриховать контур естественного грунта и других элементов.

Порядок построения чертежа разреза см. на рис. 5.6.

69

Конструктивные элементы здания, попавшие в разрез, но выполненные из материала, являющегося основным для данного здания или сооружения, не штрихуют. В этом случае только участки стен, отличающиеся материалом, выделяют условной штриховкой. Например: в здании из кирпича штрихуют железобетонные балки-

перемычки или рядовую кирпичную кладку в стенах из крупных блоков.

СибАДИНа чертеже фасада прорисовывают окна, двери. Размеры на фасадах не наносят, показывают только крайние разбивочные оси, оси у деформац онных швов, в местах уступов в плане и перепадов высот здания. Справа ли слева от изо ражения фасада проставляют отметки высот – уровня земли, цоколя, низа и верха проемов, карниза или парапета, верха кровли. Основанием чертежа фасада служит сплошная утолщенная линия.

Пр мер выполнен я разреза см. на рис. 5.4, на рис. Х.40 работы [19]; что наносят показывают см. на с. 306 [19]; последовательность

вычерч ван я

зложена на с. 128 работы [21].

Фасадом здан я называется вид здания спереди, сбоку или сзади.

В наименован

фасадов указываются крайние координационные оси

изображенного на чертеже участка.

Пример выполнения фасада см. на рис. Х.49 – Х.51 работы [19]; что наносят и показывают на фасаде см. на с. 311 [19]; последовательность вычерчивания см. на с. 134 работы [21].

Разрез по наружной несущей стене. Пример выполнения разреза по наружной несущей стене представлен на рис. XI.38 работы [19], на рис. 191 работы [21]. Графическое обозначение материалов в сечении представлено в табл. III.4 работы [19].

Привязка капитальных стен к разбивочным осям. На данном чертеже необходимо указывать: разбивочные оси штрихпунктирными линями, контуры капитальных стен основными линиями и непосредственно привязку стен к разбивочным осям. Также необходимо проставить размеры между смежными крайними разбивочными осями.

Пример выполнения привязки капитальных стен к координационным осям см. на рис. I.5,16 с. 15 работы [19], рис. 5 с. 22 работы

[24]и в прил. 1.

Планы этажей с расстановкой мебели. С целью детальной про-

работки функциональной взаимосвязи между отдельными помещениями жилого дома выполняются планы этажей с расстановкой мебели, на которых показываются расположение отдельных помещений,

70