Материал: 2258

Внимание! Если размещение файла нарушает Ваши авторские права, то обязательно сообщите нам

ВВЕДЕНИЕ

Методические указания разработаны для студентов, изучающих устройство автомобилей, тракторов и дорожных машин.

В методических указаниях рассмотрены устройства отдельных узлов, которые являются составными элементами автомобиля и содержат в своем составе следящие устройства.

Следящим устройством называют усилитель, который автоматически воспроизводит на выходе, с требуемой точностью, движения, задаваемые входным устройством, кроме этого, он должен обеспечивать требуемое усиление выходной мощности за счет внешнего источника энергии [8]. Внешним источником энергии обычно является двигатель внутреннего сгорания, энергия которого преобразуется в энергию сжатого воздуха или давление жидкости. Следящее устройство также часто называют сервоприводом, сервомеханизмом и следящей системой.

Широкое применение следящих устройств на автомобилях связано в основном с автоматизацией процессов управления. Эти устройства используют для управления агрегатами трансмиссии, тормозными механизмами, рулевыми приводами, а также системами подвесок с изменяемой жесткостью и дорожным просветом.

5

Практическая работа №1

ПНЕВМОГИДРАВЛИЧЕСКИЙ УСИЛИТЕЛЬ ПРИВОДА СЦЕПЛЕНИЯ

Цель работы – изучение конструкции и принципа работы пневмогидравлического усилителя привода сцепления автомобиля КамАЗ.

Введение

При выключении сцепления необходимо отвести нажимной диск от ведомого диска, при этом необходимо сжать силовые пружины нажимного диска. Сила сопротивления сжатию пружин в двухдисковом сцеплении автомобиля КамАЗ при выключении может достигать значительных величин, и для полного выключения сцепления водителю необходимо приложить усилие к педали около 600 НПневмогидравли[2]. ческий усилитель устанавливается в гидравлическом приводе сцепления, предназначен для уменьшения усилия на педали сцепления.

Пневмогидравлический усилитель состоит из трех основных частей (рис. 1):

-управляющего устройства – гидравлический привод с рабочим цилиндром;

-исполнительного механизма – пневматический привод с цилиндром;

-следящего устройства.

Рис. 1. Общий вид пневматического усилителя

6

7

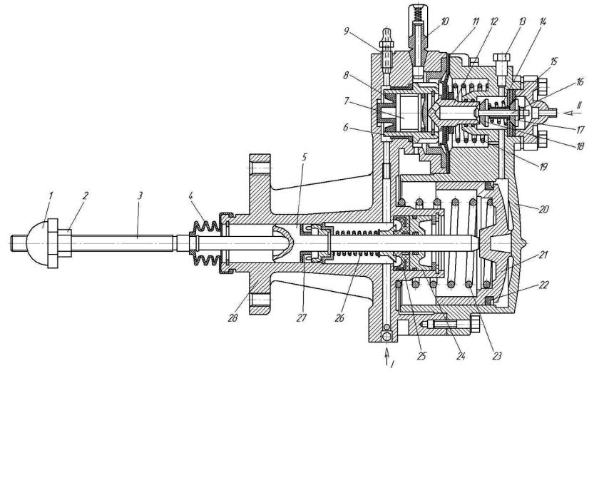
Рис. 2. Пневмогидравлический усилитель:

1 – гайка сферическая; 2 – контргайка; 3 – толкатель поршня; 4 – чехол защитный; 5 – поршень рабочего цилиндра; 6 – корпус следящего устройства; 7 – поршень следящего устройства; 8, 22, 25, 27 – манжеты; 9 – клапан перепускной; 10 – сапун; 11 – мембрана; 12 – седло мембраны; 13 – пробка; 14 – пружина возвратная; 15 – втулка; 16 – стержень клапанов; 17 – клапан впускной; 8 – клапан выпускной; 19, 23 – пружины; 20 – корпус передний; 21

– поршень пневматический; 24 – корпус уплотнителя поршня; 26 – пружина распорная; 28 – корпус задний; I

подключение к гидроприводу; II – подача сжатого воздуха

8

Пневмогидравлический усилитель модели 5320-1609510 серийно устанавливается на автомобилях КамАЗ-4310, -4326, ЛАЗ-4207, ЛАЗ5252, ПАЗ-4230 [3].

Теоретические положения

Толкатель поршня 3 (рис. 2) через сферическую гайку 1 связан с вилкой выключения сцепления (на рисунке не показана), которая оказывает значительное сопротивление при ее перемещении. Для перемещения поршня рабочего цилиндра 5 необходимо создать значительное давление в гидравлическом приводе либо подать сжатый воздух в полость пневматического цилиндра перед поршнем 21.

При отсутствии воздействия на педаль сцепления в гидравлическом приводе давление практически равно атмосферному. Поршень рабочего цилиндра 5 находится в крайнем правом положении, поскольку он жестко связан с толкателем 3, который в свою очередь с вилкой выключения сцепления. Поршень следящего устройства 7 находится в крайнем левом положении, поскольку на него воздействует возвратная пружина 19 через седло мембраны 12, которое также находится в крайнем левом положении. При этом выпускной клапан 18 открыт, а впускной клапан 17 закрыт, так как на него действует возвратная пружина 14. Сжатый воздух в усилитель не поступает, а полость пневматического цилиндра через сапун сообщается с атмосферой. Пневматический поршень 21 находится в крайнем правом положении, так как на него действует возвратная пружина 23.

При нажатии на педаль сцепления давление в гидроприводе повышается, поршень следящего устройства 7 перемещается в крайнее правое положение. Вместе с ним перемещается седло, прогибая мембрану и сжимая пружину 19. При этом выпускной клапан закрывается, а с помощью втулки 15 открывается впускной клапан. Сжатый воздух через впускной клапан поступает в пневматический цилиндр усилителя и действует на пневматический поршень 21, который перемещается влево, оказывая дополнительное воздействие на шток 3 выключения сцепления. Поршень рабочего цилиндра 5 перемещается влево, сцепление выключается.

При отпускании педали сцепления давление жидкости в гидравлическом приводе уменьшается, поршень следящего устройства,

9