При разработке организации автомобильных перевозок руководствуются следующими требованиями:
- равномерно распределять объемы перевозок на весь год; - выполнять транспортные работы минимальным количеством
автомобилей; - интенсивно использовать транспорт и автомобильные прицепы;
- выполнять объемы перевозок оптимальным составом системы СибАДИ«автомобиль – погрузоразгрузочные средства».
Контрольные вопросы и задания
1. Переч сл ть классификацию дорожно-строительных работ.
2. В чем сущность поточного метода организации строительства?
3. Назов те преимущества поточного метода строительства.
4. Как определ ть производительность автомобиля?
5. Как определ ть количество автомобилей для перевозки грузов? 6. Как е ра оты выполняют бульдозером, скрепером и
экскаватором при возведении земляного полотна?
7. Как е маш ны применяют для возведения насыпей?
8. Какие ра оты входят в технологический процесс возведения земляного полотна?
9. Какие ра оты входят в технологический процесс строительства асфальтобетонного покрытия?
10. Как определить требуемое количество автотранспорта для обслуживания одного экскаватора?
11. Что такое асфальтобетонная смесь?
12. Дайте классификацию асфальтобетонных смесей и асфальтобетона.
13. Назовите технологические свойства асфальтобетонных смесей.
14. Назовите факторы, влияющие на интенсивность охлаждения асфальтобетонной смеси в процессе ее укладки уплотнения.
51
СибАДИведущих) машины.
Выбор комплектов машин для выполнения строительно-
монтажных работ осуществляется в два этапа.
На первом этапе в зависимости от объемно-планировочных работ и конструкт вных характеристик объекта, а также принятой технологии
про зводства работ определяют требуемые эксплуатационные
параметры основных машин, их типы и марки, а также перечень техн чески нео ход мых вспомогательных машин и оборудования.
На втором этапе определяют наиболее рациональный или оптимальный состав комплекта машин на основании анализа технико-
эконом ческ х показателей ра оты СКМ:
- пр веденные затраты; - себесто мость единицы продукции; - трудоемкость.
При комплектовании СКМ для производства работ комплексно-
механизированным спосо ом необходимо соблюдать следующие
условия: |
|
|
|
|
|
- |
число машин должно быть |
минимальным, их |
конструкция и |
||
параметры соответствовать условиям работы и габаритам возводимого |
|||||
сооружения; |
|
|
|
|
|
- в каждом СКМ выделяется одна или несколько ведущих машин, |
|||||
которые в основном определяют организацию работ, его |
|||||
производительность |
темп производства работ; |
|
|||
- |
состав |
СКМ |
должен |
обеспечивать |
непрерывность |
технологического процесса; производительности вспомогательных |
|||||
машин должны |
обеспечивать эффективную работу |
ведущей (или |
|||
Каждая строительная организация выполняет работы, которые отличаются друг от друга как по виду (строительство земляного полотна, строительство дорожного основания из щебня, строительство асфальтобетонного покрытия, содержание автомобильных дорог и т.п.), так и по объёму. Система машин, включающая в себя все СКМ, образует парк машин строительной организации (ПМ).
Парк строительных и дорожных машин – это сложная техническая система, характеризующаяся высокой размерностью, множественностью и сложностью зависимостей, динамичностью. Она
52
представлена множеством различных факторов, значительное количество которых – переменные величины.
Система машин для комплексной механизации и автоматизации строительства автомобильных дорог включает пять основных групп машин, определённых их технологическим назначением: для строительства земляного полотна, для строительства дорожных одежд,
для строительства водопропускных сооружений (труб, мостов и др.) и СибАДИукрепления откосов; добычи и переработки дорожно-строительных
материалов; технологический транспорт.
Знач тельное ч сло элементарных подсистем парка (строительные и дорожные маш ны различного назначения, транспортные средства, сменное рабочее оборудование, средства малой механизации, ручные маш ны) уже само по себе представляет сложность в целостном
воспр ят с стемы. Однако такие подсистемы еще и образуют между
собой сложные многоуровневые технологические связи, характер которых не всегда можно подвести под некоторый общий шаблон.
Д нам чность системы «парк машин» объясняется многими факторами. Во-первых, в процессе производства работ изменяются технолог ческ е связи между средствами механизации, во-вторых, на
состоян е подс стем оказывают влияние время, внешняя
экономическая и социальная среда, причем не только со стороны других подсистем предприятия, но и со стороны абсолютно внешних факторов.
Комплекты машин о ъединяются в комплексы – системы машин, предназначенные для выполнения всего технологического процесса по строительству объекта (участок дороги, мост, водопропускные сооружения) с заданным темпом строительства в запроектированные
сроки.
Специализированные комплекты могут состоять как из отдельных
машин, так звеньев машин – объединения однотипных машин для
выполнения рабочей операции (звено скреперов, звено катков, звено бульдозеров т. п.).
По характеру работы системы машин можно разделить на три группы: непрерывного действия, когда все машины работают непрерывно (например, отсыпка земляного полотна комплектом машин: грейдер-элеватор, бульдозер, катки, автогрейдер); циклического действия, когда все машины работают циклично (комплект машин: экскаватор, автосамосвалы); смешанного действия, когда часть машин работает непрерывно, а часть циклично (комплект машин по строительству асфальтобетонного покрытия: АБЗ, транспортные средства, асфальтоукладчики, катки).
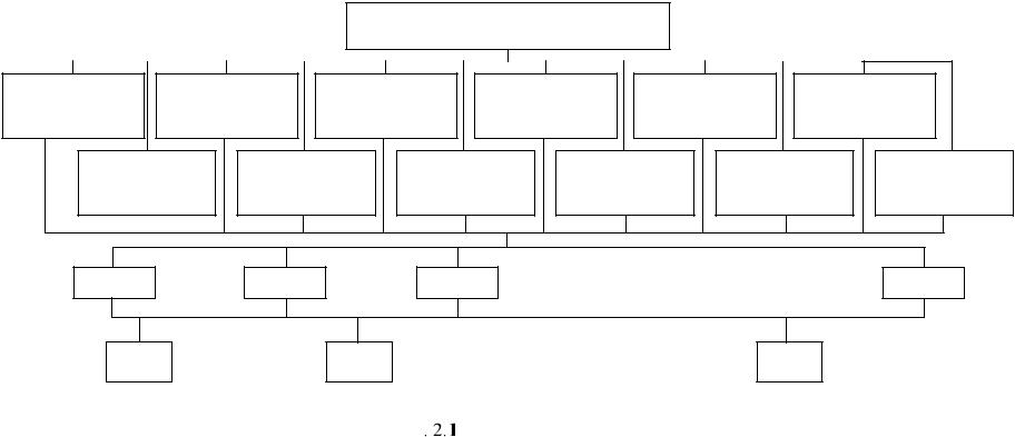
Условно структуру парка можно представить в виде схемы
(рис. 2.1).
53
СибАДИ |
|
|
||||||||||
|
|
|
|
|
СТРУКТУРА |
|
|
|
|
|
|
|
|
|
|
ПАРКА МАШИН СТРОИТЕЛЬНОЙ ОРГАНИЗАЦИИ |
|
|
|
|
|
||||
Машины для |
Землеройные |
Маш ны для |
Машины для укладки |
Специализированные |
Средства |
|
||||||
подготовительных |
маш ны |
|
укладки ще ня |
асфальтобетонных |
транспортные |
|
малой |
|
|
|||
работ |
|
|
|
|
смесей |
|
средства |
|
механизации |
|
||
Землеройно- |
Уплотняющ е |
Грунтосмесительные |
Машины для |
|
Сменное |
|
|
Машины для |
||||
транспортные |
|
средства |
|
машины |
укладки бетонных |
|
рабочее |
|
нанесения линий |
|||
машины |
|
|
|
|
|
смесей |
оборудование |
|
|
разметки |
||
СКМ-1 |
|
СКМ-2 |
|
СКМ-3 |
|
|
|
|
|
|
СКМ-n |
|
Комплекс |
|
|
Комплекс |
|
|
|
|
|
Комплекс |
|
|
|
машин 1 |
|
|
машин 2 |
|
|
|
|
|
машин i |
|
|
|
. 2.2.

54
Уровень организации производства работ можно оценивать удельными технико-экономическими показателями, приведёнными к единице продукции: стоимость производства работ, трудоёмкость,
энергоёмкость, металлоёмкость и приведенные затраты. |
|
|
|||||||||
СибАДИ |
|||||||||||
тоимость механизированных работ, затрачиваемых на |
|||||||||||
производство ед н цы продукции, руб./ед. продукции, |
|
|
|||||||||
|
|
|
n |
|
|
|
|
|
|
|
|
|
|
|
Кн Cмсi |
ni К1 З |
|
|
|||||
|
Се |
|
1 |
|
|
|
|
|
|
|
|
|
|
|
|
|
|
t |
|
|
|
|
(2.1) |
Кн |
(Смс n1 |
Cмс |
2 |
n2 |
... Смс |
n |
nn ) К1З |
|
|
||
|
1 |
|
|
t |
|
|
|
, |
|
||
где Кн– коэфф ц ент накладных расходов на затраты по эксплуатации |
|||||||||||
дорожно-стро тельных |
машин; |
Смсi |
– стоимость машино-смены |
i-й |
|||||||
машины на о ъекте, руб.; К1– коэффициент расходов на заработную
плату З рабочих, участвующих в технологическом процессе, кроме рабочих-операторов на машинах; t – темп строительства в смену, м3, м2, пог.м и т.д.; ni– необходимое количество машино-смен i-й машины для
выполнения заданного темпа строительства.
|
Стоимость машино-смены определяется по СНиПу: |
|
|
|
|
См с (С1 С2 С3 ) Tсм, |
(2.2) |
где |
1 – |
затраты первой группы, в которую входят единовременные |
|
затраты, |
выполняемые до начала эксплуатации машины |
(доставка, |
|
монтаж), руб.; С2 – затраты второй группы, в которую входят амортизационные отчисления, на капитальный ремонт, а также затраты на содержание и ремонт вспомогательных устройств (путей и дорог в пределах рабочей зоны); С3 – затраты третьей группы, связанные с эксплуатацией машин и включающие заработную плату операторов машин, затраты на ГСМ, стоимость ТО и Р.
Трудоемкость единицы продукции – это затраты физического труда операторов (чел.-ч) на изготовление единицы продукции. Этим показателем оценивается количественный состав рабочих, занятых на основных и вспомогательных работах.
55