Материал: 2015 [Тынчеров] Основы автоматизации ТПНП

Внимание! Если размещение файла нарушает Ваши авторские права, то обязательно сообщите нам

Согласно ГОСТ 8.586.2-2005 и ГОСТ 8.586.3-2005 на территории России распространены три способа отбора давления — трехрадиусный, фланцевый и угловой [10, 11].

8. Влагосодержание и гидраты природных газов. Состав гид-

ратов природных газов. Гидратами углеводородных газов называются кристаллические вещества, образованные ассоциированными молекулами углеводородов и воды; они имеют различную кристаллическую структуру.

Свойство гидратов газов позволяет рассматривать их как твердые растворы. Исследования показывают, что содержание водяного пара в газообразной фазе в системе «газ — гидрат» меньше, чем в системе «газ — вода».

Возникновение гидрата обусловлено определенными давлением и температурой при насыщении газа парами воды. Гидраты распадаются после того, как упругость паров воды будет ниже парциальной упругости паров исследуемого гидрата.

Углеводородные и некоторые другие газы, контактирующие с водой при определенных давлении и температуре, также могут образовывать кристаллогидраты. Кристаллогидраты природных газов внешне похожи на мокрый спрессованный снег, переходящий в лед. Плотность гидратов несколько меньше плотности воды — 980 кг/м3. Образование их сопровождается выделением тепла, разложение — поглощением. Существует мнение ученых-геологов, что значительные запасы природного газа связаны с газогидратными залежами, расположенными в зонах вечномерзлых пород, и на дне океанов, где, как известно, температура составляет 2÷3 .

Для определения компонентного состава применяют хромато-

графы любого типа, не изменяющие состав среды. Компонентный состав определяют в соответствии с требованиями ГОСТ 10679-76 [6]. Для определения влажности газа применяют влагомеры любого типа, измеряющие температуру конденсации паров влаги (температуру точки росы), массовое и (или) объемное содержание водяных паров в единице объема газа. Влажность природных газов рассчитывают в соответствии с требованиями ГОСТ 20060-83 [2].

Глава 7. РЕЛЕЙНЫЕ ЭЛЕМЕНТЫ

В системах автоматики и телемеханики одним из наиболее распространенных элементов является реле. Реле — это устройство, которое автоматически осуществляет скачкообразное изменение (переключение) выходного сигнала под воздействием управляющего сигнала, изменяющегося непрерывно в определенных пределах.

Электрическое реле является промежуточным элементом, который приводит в действие одну или несколько управляемых электрических цепей при воздействии на реле определенных электрических сигналов управляющей цепи (рис. 7.1).

Рис. 7.1 — Схема включения реле: X — контролируемая величина;

Д— датчик; Р — реле; ИУ — исполнительные устройства;

К— контакт реле (слева) и внешний вид электромагнитного реле

Свойства реле характеризуются следующими основными пара-

метрами:

1)мощностью срабатывания Рср (Вт) — минимальной электрической мощностью, которая должна быть подведена к реле от управляющей цепи для его надежного срабатывания, т. е. приведения в действие управляемой цепи. Эта мощность определяется общими электрическими и конструкционными параметрами реле;

2)мощностью управления Ру (Вт) — максимальной величиной электрической мощности в управляемой цепи, при которой контакты реле еще работают надежно. Мощность управления определяется параметрами контактов реле, переключающих управляемую цепь. Выбор соответствующего типа реле производится на основании значе-

ний Рср и Ру, так как эти параметры постоянны для отдельных конструкций реле;

3)допустимой разрываемой мощностью Рр (Вт) — мощностью, разрываемой контактами при определенном токе или напряжении без образования устойчивой электрической дуги при данном напряжении;

4) коэффициентом управления — величиной, характеризующей отношение управляемой мощности к мощности срабатывания реле:

Ку = Ру/Рср ≥ 1;

5) временем срабатывания tср (с) — интервалом времени от момента поступления сигнала из управляющей цепи до момента начала воздействия реле на управляемую цепь. Допустимая величина tср определяется необходимой быстротой передачи сигнала в управляемую цепь.

Существующие типы реле можно классифицировать по следующим основным признакам:

по назначению:

управления,

защиты,

сигнализации;

по принципу действия:

электромеханические;

электромагнитные нейтральные,

электромагнитные поляризованные,

магнитоэлектрические,

электродинамические,

индукционные,

электротермические,

электронные,

фотоэлектронные и др.;

по замеряемой величине:

электрические (тока, напряжения, мощности, сопротивления, частоты, коэффициента мощности),

механические (силы, давления, скорости, перемещения, уровня, объема и др.)

тепловые (температуры, количества тепла),

оптические (силы звука и др.),

физических величин (времени, вязкости и др.);

по мощности управления:

маломощные с мощностью управления Ру ≤ 1Вт,

средней мощности с Ру = 1 – 10 Вт,

мощные с Ру > 10 Вт;

по времени срабатывания:

безынерционные с tcp < 0,001 с,

быстродействующие tcp = 0,001 – 0,05 с,

замедленные tcp = 0,15 – 1 с,

реле времени tcp > l с.

Наиболее распространенной группой являются электромеханические реле, в которых изменение входной электрической величины вызывает механическое перемещение подвижной части реле (якоря), приводящее к замыканию или размыканию контактов реле.

Следует отметить, что к группе электромеханических относятся реле, в основе действия которых лежат физические принципы аналогичных по названиям электроизмерительных приборов. Разница состоит в том, что в электроизмерительных приборах подвижная часть (стрелка) перемещается плавно и в больших пределах в зависимости от величины тока или напряжения, а в реле якорь совершает небольшое и обычно скачкообразное перемещение при определенных значениях входной величины (тока или напряжения).

7.1. Электромагнитные реле постоянного и переменного тока

Электромагнитные реле являются наиболее распространенными из группы электромеханических реле и получили широкое применение в устройствах автоматики, телемеханики и в вычислительной технике.

Если реле используются для переключения мощных цепей тока, то они называются контакторами. Реле и контакторы являются устройствами прерывистого действия.

Электромагнитные реле по роду используемого тока делятся на:

реле постоянного тока,

реле переменного тока.

Реле постоянного тока подразделяются на:

нейтральные,

поляризованные.

7.1.1. Электромагнитные реле постоянного тока (нейтральные)

Нейтральные реле одинаково реагируют на постоянный ток обоих направлений, протекающий по его обмотке (т. е. положение якоря не зависит от направления тока в обмотке реле).

Поляризованное реле реагирует на полярность сигнала.

По характеру движения якоря нейтральные электромагнитные реле подразделяются на два типа:

с угловым движением якоря,

с втяжным якорем.

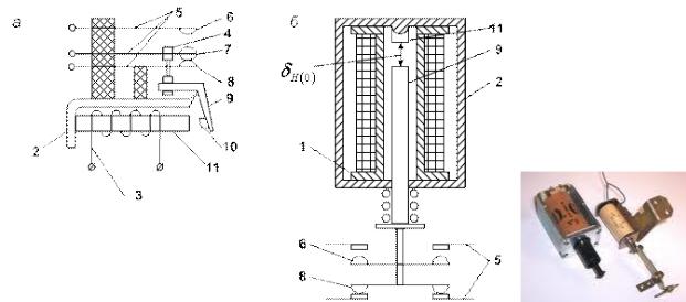
На рисунке 7.2 изображены реле с угловым перемещением якоря (а) и с втягивающим якорем (б).

Рис 7.2 — Разновидности конструктивных схем реле:

1 — каркас с обмоткой; 2 — ярмо; 3 — выводы обмотки; 4 — колодка; 5 — контактные пружины; 6 — замыкающий контакт ЗК;

7 — подвижный контакт; 8 — размыкающий контакт РК; 9 — якорь; 10 — штифт отлипания; 11 — сердечник

При отсутствии управляющего сигнала якорь удален от сердечника на максимальное расстояние за счет возвратной пружины. В этом случае одна пара контактов замкнута (размыкающие контакты РК), а другая пара разомкнута (замыкающие контакты ЗК),

Принцип действия реле, изображенного на рисунке 7.2, основан на следующем: при подаче тока в обмотку (катушку) создается магнитный поток, который, проходя через сердечник, ярмо, якорь и воздушный зазор δН(0), создает магнитное усилие, притягивающее якорь к сердечнику. При этом якорь, воздействуя на колодку, перемещает