Материал: 2015 [Тынчеров] Основы автоматизации ТПНП

Внимание! Если размещение файла нарушает Ваши авторские права, то обязательно сообщите нам

Измеряя ток лампы накаливания, можно определять температуру излучателя. Измерение тока осуществляется быстродействующим электронным потенциометром 12, включенным на шунт в цепи лампы, правильная наводка головки на излучатель — при помощи окуляра 10 и отражателя 5. Прибор имеет разделительный трансформатор 13, стабилизатор напряжения 15, зажимы 16 для подвода питания от сети.

Описанный здесь пирометр допускает установку его на расстоянии 1 м и более от излучателя. Наименьший допустимый диаметр излучателя должен быть всегда несколько больше 1/20 этого расстояния. Пирометры этого типа, но со специальными объективами, могут быть использованы для измерения температуры и меньших по размеру объектов, чем пирометры со стандартным показателем визирования.

Цветовые пирометры. Эти пирометры измеряют температуру по отношению интенсивностей монохроматического излучения тела для двух диапазонов длин волн красного и сине-зеленого участков видимой части спектра. Такое отношение характеризует так называемую цветовую температуру, которая совпадает с истинной для абсолютно черного и серых тел. В отечественных цветовых пирометрах использован метод красно-синего отношения. Для измерения обеих монохроматических яркостей используют один приемник излучения (фотоэлемент или фотосопротивление) с общим каналом усиления измеряемых сигналов.

Преимущество метода цветовой пирометрии перед другими бесконтактными оптическими способами измерения температуры состоит в том, что в качестве объекта измерения не обязательно иметь АЧТ. Кроме того, исключаются влияние излучений, изменения рельефов поверхности, расстояния от пирометра неселективных поглотителей лучистой энергии, расположенных между объектом измерения и пирометром (сеток, стекол, диафрагм, призм и т. п.).

Типичными образцами цветовых пирометров являются приборы ЦЭП-3М (рис. 4.6) и ЦЭП-4.

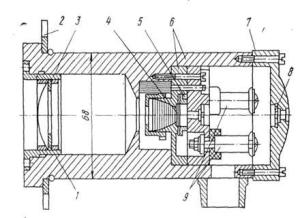
Рис. 4.6 — Устройство пирометра с телескопом ТЭРА-50: 1 — линза; 2 — установочный фланец; 3 — сменная втулка; 4 — термобатарея; 5 — компенсационная катушка; 6 — камера термобатареи; 7 — крышка; 8 — отвер-

стие для наблюдения; 9 — ввод проводов

Комплект прибора состоит из трех блоков: датчика, блока электроники, включающего усилительную и решающую схемы, показывающего или регистрирующего прибора.

Принцип действия прибора основан на автоматическом измерении логарифма отношения спектральных яркостей в красном и синем участке спектра. Вычислительное устройство автоматически осуществляет логарифмирование отношения яркостей. Логарифм спектрального отношения яркостей пропорционален обратным значениям цветовой температуры.

Измеряемое излучение попадает на фотоэлемент через оптическую систему прибора и через обтюратор, вращаемый синхронным двигателем. Обтюратор выполнен в виде диска с отверстиями, закрытыми красными и синими светофильтрами таким образом, что при вращении диска на фотоэлемент попеременно попадает то красная, то синяя энергетическая яркость. Импульсы фототока, пропорциональные красной и синей спектральным энергетическим яркостям, усиливаются и подаются на вход измерительной системы. Фотоэлемент термостатирован. Все эти устройства смонтированы в головке прибора. Усиленный ток подается в измерительный блок, в котором после соответствующих преобразований сигнал поступает в электронную логарифмирующую систему, позволяющую получать линейную шкалу.

Рис. 4.7 — Принципиальная схема измерения температуры цветовым пирометром: 1 — оптическая схема; 2 — диск со светофильтрами; 3 — фотоэлемент; 4 — блок измерения; 5 — самописец

Вголовке датчика находятся также устройства для ручной и автоматической регулировки уровня энергетической яркости, индикаторы и органы управления. Для удаления пыли и дыма из поля зрения при измерении температуры открытых объектов в бленду, надеваемую на тубус объектива, подается сжатый воздух. Диапазон измерений температуры составляет 1400–2800°С. Прибор имеет от 3 до 5 поддиапазонов с интервалом 200–400°С. Показания прибора переводятся в градусы Цельсия с помощью градуировочного графика для данного поддиапазона. Градуировку прибора проводят по образцовым температурным лампам. Предельная ошибка измерения цветовой температуры 2000°С равна ±30°С.

Вметоде бихроматической цветовой пирометрии сигнал для регулирования определяется разностью двух спектральных энергетических яркостей.

Данный метод регулирования цветовой температуры исключает необходимость применения какой-либо схемы или логометра, измеряющего отношение яркостей. На этом принципе работает пирометр РЭД-1, имеющий один фотоэлемент и разделяющий сигналы, пропорциональные соответствующим спектральным энергетическим яркостям во времени, с помощью вращающегося диска со светофильтрами.

4.3. Методы и средства измерения уровня

Для ведения технологических процессов большое значение имеет контроль за уровнем жидкостей и твердых сыпучих материалов в производственных аппаратах. Кроме того, зная площадь любой емкости, по величине уровня можно определить количество вещества в ней. Часто по условиям технологического процесса нет необходимо-

сти в измерении уровня по всей высоте аппарата. В таких случаях применяют узкопредельные, но более точные уровнемеры. Особую группу составляют уровнемеры, используемые только для сигнализации предельных значений уровня.

Для измерения уровня жидкости применяют поплавковые, буйковые, гидростатические, ультразвуковые и акустические приборы, для измерения уровня жидкости и твердых сыпучих материалов — емкостные и радиоизотопные.

Поплавковые уровнемеры. Поплавковым уровнемером называется уровнемер, основанный на измерении положения поплавка, частично погруженного в жидкость, причем степень погружения поплавка (осадка) при неизменной плотности жидкости не зависит от контролируемого уровня. Поплавок перемещается вертикально вместе с уровнем жидкости, и, следовательно, по его положению может быть определено значение уровня. В статическом режиме на поплавок действуют сила тяжести G и выталкивающие силы жидкости и газовой среды. При перемещении поплавка появляется также сила сопротивления в подвижных элементах уровнемера.

Если пренебречь силой сопротивления кинематики и выталкивающей силой газовой фазы, то действующие на поплавок силы связаны уравнением:

G = Vжρжg,

(4.11)

где Vж — объем погруженной части поплавка, ρж — плотность жидкости.

Объем Vж однозначно определяет осадку (глубину погружения) поплавка. При изменении плотности контролируемой жидкости на Δρж изменяется объем погруженной части на ΔVж, что приводит к изменению осадка, т. е. к появлению дополнительной погрешности. Выражение для ΔVж можно получить в виде:

ΔVж = (δVж / δρ ж)Δρ ж = –Vж (Δρж ж).

(4.12)

Таким образом, объем погруженной части Vж, а следовательно, осадка поплавка, является параметром, определяющим дополнительную погрешность, вызванную изменением плотности контролируемой жидкости. Для снижения этой погрешности целесообразно уменьшить осадку поплавка, что может быть достигнуто либо увели-

чением площади поперечного сечения поплавка, либо облегчением поплавка.

В простейшем случае поплавок соединен с указателем с помощью гибкой механической связи. Размеры поплавка ограничиваются размерами уровнемера, масса поплавка не может быть сильно уменьшена из-за необходимости обеспечения требуемого натяжения гибкого элемента и преодоления сил трения. Сила сопротивления определяется выбором схемы связи поплавка с измерительной схемой уровнемера.

Рис. 4.8 — Схема поплавкового уровнемера ПМП: 1 — корпус; 2 — кабельный вывод; 3 — зонтик; 4 — стопорное кольцо; 5 — постоянный магнит;

6 — поплавок; 7 — направляющая трубка; 8 — герконовое реле

Такая конструкция имеет большой диапазон измерения, но не обеспечивает хорошей герметизации резервуара, поэтому используется только при небольшом избыточном давлении или разрежении и невысоких температурах контролируемой среды. Примером такого уровнемера являются уровнемеры типа УДУ. Они предназначены для измерения уровня нефтепродуктов с температурой (-50...50)°С, в интервале избыточных давлений (-1,5...3) кПа. Диапазоны измерения 0...12 или 0...20 м, основная погрешность ±4 мм.

При более высоких значениях температуры и давления среды используются поплавковые уровнемеры с магнитными преобразователями. Примером таких приборов являются магнитные уровнемеры типа ПМП (рис. 4.8) НПП «СЕНСОР».