Материал: 2005

Внимание! Если размещение файла нарушает Ваши авторские права, то обязательно сообщите нам

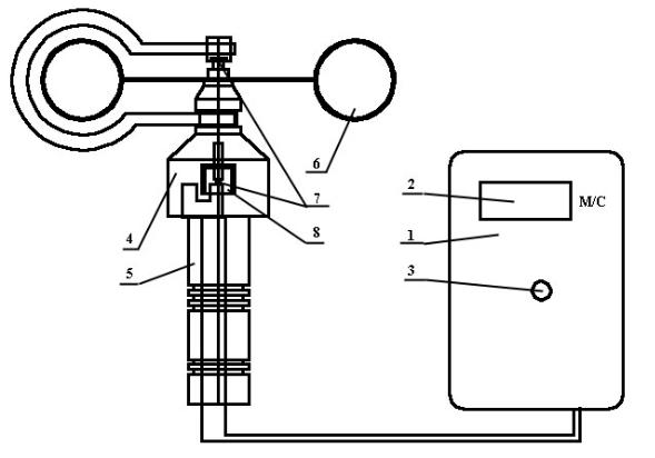
Рис. 12. Схема работы анемометра: 1- корпус пульта; 2- цифровой индикатор; 3- кнопка включения; 4- корпус датчика ветра; 5- ручка; 6- вертушка; 7- камень часовой; 8- обтюратор

3.4. Определение давления воздуха

Основным, наиболее распространенным прибором для измерения давления воздуха является барометр-анероид (рис. 13, 14), принцип действия которого основан на способности мембранной анероидной коробки прибора деформироваться при изменении атмосферного давления. Линейные перемещения мембраны преобразуются передаточным рычажным механизмом в угловое перемещение стрелки прибора. Шкала градуирована в миллиметрах ртутного столба или в гектопаскалях (1мм рт. ст. составляет 133,322 Па; 1

Па=0,0075 мм рт. ст.).

Отсчет по барометру должен быть исправлен введением в его показания шкаловой, температурной и добавочной поправок.

28

Анероидная шкала делается стандартной. Однако в каждом анероиде могут быть свои инструментальные неточности и особенности в передаточном механизме. Вследствие этого показания анероида могут отличаться от истинного давления, причем величина несовпадения будет неодинаковой в разных участках шкалы.

Шкаловая поправка получается при сравнении анероида при различных давлениях, создаваемых в искусственных условиях, с точным ртутным манометром.

Рис. 13. Схема анероида

Рис. 14. Барометр анероид

Введение температурной поправки обусловлено изменением упругих свойств коробки и пружины при изменении температуры окружающей среды. При повышении температуры их упругие

29

свойства уменьшаются, что приводит к большему сдавливанию анероидной коробки, и анероид показывает увеличенное давление.

В паспорте прибора указывается температурный коэффициент, обозначающий изменение показаний анероида при повышении или понижении температуры на 10 С. В анероидах применяют два метода компенсации для уменьшения влияния температурного эффекта:

-использование биметаллической пластины;

-газовая компенсация осуществляется добавлением в анероидную коробку газа – обычно азота.

Величина температурной поправки для приведения показаний анероида к 00 С составляет:

xkt,

где k- температурный коэффициент, указанный в паспорте прибора; t- температура прибора.

Добавочная поправка учитывает старение внутренней структуры металла рычажного механизма и анероидной коробки. Поправка изменяется во времени, ее изменение определяется при периодической поверке прибора, путем сравнения его показаний с эталоном.

Кроме анероида и ртутного барометров атмосферное давление измеряют гипсотермометрами и барографами.

3.5. Определение интенсивности теплового излучения

Под определением интенсивности теплового излучения (актинометрией) понимается измерение общего (интегрального) теплового воздействия лучистой энергии производственных источников. Служащие для этой цели приборы называются актинометрами, принцип действия которых основан на возникновении в замкнутой электрической цепи, состоящей из спаев разных металлов черного и белого цвета, электрического тока, обусловленного разностью температур, мест контактов (термоэлектрический эффект). Электрический ток измеряется вмонтированным в прибор гальванометром, шкала которого градуирована в единицах измерения тепловой радиации – калориях на

30

1 см2 в минуту – в пределах интенсивности излучения от 0 до 20 кал/см2 мин.

3.6. Определение ТНС-индекса

При определении величины тепловой нагрузки среды используется черный шар, который надевается на зонд с датчиком таким образом, чтобы температурный (термоэлектрический) датчик термогигрометра «ТКА-ТВ» располагался приблизительно в центре сферы (см. рис. 15). После того, как внутри черного шара установится тепловое равновесие, производится измерение температуры воздуха внутри черного шара.

Согласно СанПиН 2.2.4.548-96 «Гигиенические требования к микроклимату производственных помещений» после измерения температуры производится расчет ТНС-индекса по формуле:

ТНС 0,7tвл 0,3tш, (2)

где tвл- температура влажного термометра, 0С; tш- температура измеренная внутри черного шара, 0С.

При измерениях вне помещений, при наличии солнечной радиации, согласно требованиям стандарта ISO 7243-82 (Е), определяется температурный индекс WBGT по формуле:

WBGT 0,7tвл 0,1tсух 0,2tш,

где tсух- температура сухого термометра, 0С.

31

Рис. 15. Термогигрометр «ТКА-ТМ» с черным шаром: 1 – черный шар; 2 – датчик температуры; 3 – блок обработки сигналов; 4 – кнопка переключения режимов работы прибора; 5 – кнопка включения прибора

4.ВЫПОЛНЕНИЕ РАБОТЫ

1.Ознакомиться с основными требованиями к микроклимату производственных помещений и принципами действия метеорологических приборов (п. 1,2).

2.Подготовить протокол отчета (см. приложение 1) и план рабочего места (рабочее место задается преподавателем) с указанием точек измерений. Точки измерений определяются в соответствии с п. 2 и рис. 3, 4. Измерения проводить не менее трех раз с интервалом 5 мин.

4.1.Задание 1. Определение параметров микроклимата

1.1. Ртутным или сухим термометром аспирационного психрометра измерить температуру воздуха в соответствующих точках.

32