Материал: 2 сем РГР Угулава

Внимание! Если размещение файла нарушает Ваши авторские права, то обязательно сообщите нам

Учитывая симметрию конструкции и нагрузки, а именно ; , получим следующие уравнение:

, откуда

Рисунок 1.4 Расчетная схема балки главного направления №1

Составим уравнения равновесия для балки главного направления №2:

– сумма проекций всех сил на вертикальную ось равна нулю

Учитывая симметрию конструкции и нагрузки, а именно ; , получим следующие уравнение:

, откуда

Рисунок 1.5 Расчетная схема балки главного направления №2

Составим уравнения равновесия для балки главного направления №3:

– сумма проекций всех сил на вертикальную ось равна нулю

Учитывая симметрию конструкции и нагрузки, а именно ; , получим следующие уравнение:

, откуда

Рисунок 1.6 Расчетная схема балки главного направления №3

Составим уравнения равновесия для балки главного направления №4:

– сумма проекций всех сил на вертикальную ось равна нулю

Учитывая симметрию конструкции и нагрузки, а именно ; , получим следующие уравнение:

, откуда

Рисунок 1.7 Расчетная схема балки главного направления №4

1.6 Построение эпюр срезывающих сил и изгибающих моментов.

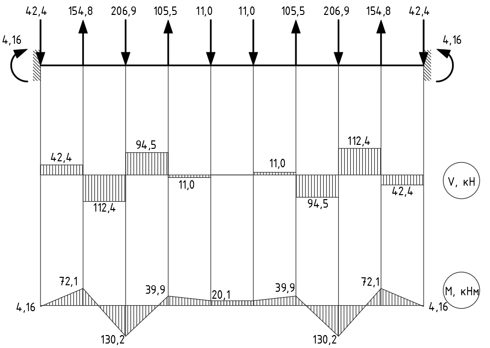
Учитывая симметрию конструкции и нагрузки, запишем уравнение изгибающих моментов для перекрестной балки №8 в виде

.

Результаты расчёта по приведённой формуле приведены в таблице 1.2.

Значения изгибающих моментов для перекрёстной балки №8

Таблица1.2

0

0.111

0.222

0.333

0.445

0.556

0.667

0.778

0.889

1.0

кНм

72.1

-130.2

39.9

20.1

20.1

39.9

-130.2

72.1

-4.16

Эпюру срезывающих сил строим эскизно. Эпюру изгибающих моментов строим по данным таблицы 1.2. Эпюры срезывающих сил и изгибающих моментов приведены на рисунке.

Рисунок1.8 - Эпюры V и M для перекрестной балки №9

Выражение срезывающих сил и изгибающих моментов для балки главного направления №1

Выражение срезывающих сил и изгибающих моментов для балки главного направления №2

Выражение срезывающих сил и изгибающих моментов для балки главного направления №3

Выражение срезывающих сил и изгибающих моментов для балки главного направления №4

Результаты расчета по приведённым формулам приведены в таблице 2.3

В таблице 2.3 приведены значения срезывающих сил и изгибающих моментов для балок главного направления №1, №2, №3, №4.

Таблица 1.3

0

0.3

0.5

0.7

1.0

Балка главного направления №1

кН

32.4

130.3/-24.5

0

24.5/-130.3

-32.4

кНм

460.4

719.9

710.1

719.9

460.4

Балка главного направления №2

кН

-329.3

-231.4/-24.5

0

24.5/231.4

329.3

кНм

234.0

870.0

860.2

870.0

234.0

Балка главного направления №3

кН

-16.9

81.0/-24.5

0

24.5/-81.0

16.9

кНм

365.8

468.4

458.6

468.4

365.8

Балка главного направления №4

кН

-133.4

-35.5/-24.5

0

24.5/35.5

133.4

кНм

142.1

-128.1

-137.9

-128.1

142.1

Рисунок 1.9 Эпюры Vи M для балки главного направления №1

Рисунок 1.10 Эпюры Vи M для балки главного направления №2

Рисунок 1.11 Эпюры Vи M для балки главного направления №3

Рисунок 1.12 Эпюры Vи M для балки главного направления №4

Эпюры срезывающих сил и изгибающих моментов строим по данным таблицы 1.3 для балок главного направления, которые приведены на рисунке 1.9 для балки №1, на рисунке 1.10 для балки №2, на рисунке 1.11 для балки №3, и на рисунке 1.12 для балки №4.

1.7 Проверка прочности перекрытия

Допускаемые нормальные напряжения для балок перекрытия равны

для опорного сечения;

для сечения в пролете балки,

где , для опорного сечения;

Моменты сопротивления балок вычислим по формуле

.

Тогда:

где: .

Максимальный изгибающий момент в пролёте перекрестной балки равен кНм . Максимальное нормальное напряжения в пролёте перекрёстной балки равны

Условие прочности выполняется.

Максимальный изгибающий момент в опорном сечении главной балки №1 равен 460,4 кНм . Максимальное нормальное напряжения в опоре перекрёстной балки равны

Условие прочности выполняется.

Максимальный изгибающий момент в пролете главной балки №2 равен 870,0 кНм . Максимальное нормальное напряжения в опоре перекрёстной балки равны

Условие прочности выполняется.

Прочность перекрытия достаточна, так как обеспечена прочность балок перекрытия.