Необходимоеоборудованиеиприборы
Фильтрационный прибор СоюзДорНИИ (рис. 8); трамбовка с массой падающего груза (рис. 9); весы; термометр с погрешностью измерения не более 0,5 оС по ГОСТ 28498-2016; секундомер; эксика-
СПодготовкакиспытанию
тор по ГО Т 23932-90; сито с отверстиями диаметром 5 мм; цилиндр
мерный вместимостью 100 мл; чашка фарфоровая; емкость для воды вместимостью 8…10 л; линейка металлическая длиной 300 мм; нож из нержавеющей стали с прямым лезвием.
Песок воду, предназначенные для определения коэффициента , выдерж вают в ла оратории до выравнивания их темпе-
ратуры с температурой воздуха. |
|
фильтрац |
|
б |
|
А |
|
Д |
|
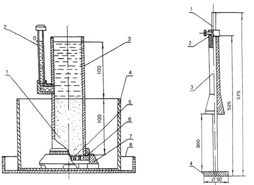
Рис. 8. Схема прибора СоюзДорНИИ для оп- |
Рис. 9. Схема трамбовки: |
ределения коэффициента фильтрации песчаных |
1 – направляющая; 2 – фиксатор; |
грунтов:1 – образец; 2 – пьезометр; 3 – фильт- |
И |
3 – падающий груз; 4 – наковальня |
|
рационная трубка; 4 – стакан; 5 – сетка; 6 – перфорированное
съемное дно; 7 – подставка; 8 – поддон
Просеивают через сито с отверстиями 5 мм предварительно высушенный до воздушно-сухого состояния песчаный грунт и определяют его гигроскопическую влажность.
21
Отбирают в фарфоровую чашку пробу грунта способом квартования массой не менее 450 г, увлажняют с помощью мерного цилиндра отобранную пробу до оптимальной влажности и выдерживают её в эксикаторе с водой не менее 2 ч. Пески крупные и средней крупности допускается не выдерживать в эксикаторе.
Необходимый для увлажнения объём воды, см3, определяют по
формуле |
|
|
|
|
|
Q |
m W0 Wg |
|
|||
|
w |
1 W |
, |
(19) |
|
|
|
g |
|
||
где m − масса пробы грунта, г; W0 − оптимальная влажность грунта, |
|||||
Сед.; Wg − г гроскопическая влажность грунта, доли ед.; |
w − |
||||
плотность воды, пр н маемая равной 1 г/см3. |
|
||||
Из подготовленной про ы влажного грунта отбирают навеску |
|||||
где V − объёмбгрунта в тру ке, равный 200 см3; d max − максимальная плотность, установленная по ГОСТ 22733-2016 [8], г/см3.
массой m1 для помещения в фильтрационную трубку прибора 3 и на-
веску для контрольного определения фактической влажности грунта. |
|
доли |
|
Массу навески m1, г, вычисляют по формуле |
|
m1 V d max 1 W0 , |
(20) |
съёмное перфорированноеАдно с латунной сеткой, покрытой кружком марли, смоченной водой, крепят к трубке и ставят её на жесткое массивное основание;
Фильтрационную тру ку прибора заполняют песком в следую-
щем порядке: Д
навеску влажного грунта массой m1 делят на три порции и последовательно укладывают их в трубку, уплотняя каждую из них при помощи трамбовки, производя по 40 ударовИгруза с высоты 30 см. Перед укладкой каждой порции поверхность предыдущей уплотненной порции взрыхляют ножом на глубину 1…2 мм;
измеряют линейкой расстояние от верхнего края трубки до поверхности уплотненного грунта. Измерения проводят не менее чем в трех точках. В расчет принимают среднее значение. При высоте образца грунта в трубке более 100 мм проводят дополнительное уплот-
нение, которое заканчивают при высоте образца (100 1) мм. Укладывают на поверхность грунта слой гравия (фракция 2…5
мм) толщиной 5…10 мм.
Устанавливают трубку с грунтом на подставку 7 и вместе с ней помещают в стакан, который постепенно наполняют водой до верха.
22
Помещают стакан с трубкой в ёмкость для воды и заполняют ее до уровня выше слоя гравия на 10…15 мм.
После появления воды в трубке над слоем гравия доливают воду в верхнюю часть трубки примерно на 1/3 её высоты.
Извлекают стакан с трубкой из ёмкости, устанавливают её на |
|
С |
|
поддон. В этом случае начальный градиент напора воды в образце |
|
грунта равен единице. |
|
|
Проведениеиспытания |
операциюУказанную повторяют не менее 4-х раз, каждый раз
Испытан я проводят в следующем порядке:
дол вают воды в тру ку не менее чем на 5 мм выше нулевого
деления;при вытекан воды через перфорированное дно определяют с
дельных отсчетовбот среднеарифметического значения более чем на 10 % следует увеличить число определений.
помощью секундомера падение уровня воды в пьезометре от 0 до 50 мм.
доливая воду в тру ку на 5 мм выше нулевого деления. В расчет при-
нимают среднее время падения уровня воды. В случае отклонений от-
уровня воды более 10Амин допускается проводить испытание при градиенте напора, равном 2. В этом случае трубку с подставкой извлекают из стакана и ставят непосредственно на поддон.
При времени падения уровня воды в пьезометре более 2 мин до-
пускается уменьшить высоту падения уровня. При времени падения
В течение всего испытания не допускается снижение уровня воды в трубке ниже слоя гравия.
Д3
Разность между плотностью сухого грунта в трубке di и максимальной плотностью d max не должна превышать 0,02 г/см . В про-
тивном случае испытания повторяют.
Плотность сухого грунта в трубке, г/см3, вычисляют по формуле
di |
mi |
, |
(21) |
||
Vi (1 |
Wi ) |
||||
|
|
И |
|||
где Vi − фактический объём грунта в трубке, см3; Wi −фактическая влажность грунта в трубке, доли.
23
Обработкарезультатовиспытаний
Коэффициент фильтрации грунта, м/сут, приведённый к условиям фильтрации при температуре 10 оС, вычисляют по формуле
|
10 |
|
h |
|
S |
|
|
864 |
|
|
k |
|
|
|
|
, |
(22) |
||||
f |
|
|
|
|
|
|
|
|||
|
|
|
||||||||
|
|
t |
|
H0 |
|
|
|
|
||
|
|
|
|
|
|
|
|
|
где h − высота образца грунта в трубке, см; t – время падения уровня |
||||||||||||||||||||||
|
воды, с; S − наблюдаемое падение уровня воды в пьезометре, отсчи- |
||||||||||||||||||||||
|
танное от первоначального уровня, см; H0 − начальный напор, см; |
||||||||||||||||||||||
|
виям |
|
|
определяемый по прил. 1; − |
|||||||||||||||||||
|
(S/H0)− безразмерный коэффициент, |
||||||||||||||||||||||
Споправка для пр веден я значения коэффициента фильтрации к усло- |
|||||||||||||||||||||||
|
|
ф льтрац |
|
воды при температуре 10 оС, рассчитываемая по |
|||||||||||||||||||
|
формуле (48); 864 − переводной коэффициент (из см/с в м/сут). |
|
|
|
|
||||||||||||||||||
|
|
|
б |
|
|
|
|
|
|
|
|
|
|
||||||||||
|
|
Кол чество частных определений коэффициента фильтрации |
|||||||||||||||||||||
|
должно быть не менее трех. |
|
|
|
|
|
|
|
|
|
|
|
|
|
|
|
|||||||
|
|
|
Пр меро ра откирезультатовиспытаний |
|
|
|
|
||||||||||||||||
|
|
|
|
|
|
|
АS |
|
|
|
|
|
|
|
|||||||||
|
|
Исходные данные и результаты испытаний заносятся в столбцы |
|||||||||||||||||||||
|
с 1 по 6 табл. 7. |
|
|
|
|
|
|
|
|
|
|
|
|
|
Таблица 7 |
||||||||
|
|
Журнал для определения коэффициента фильтрации песка |
|||||||||||||||||||||
|
|
|
|
|
|
|
|
|
|
Д |
|
|
|
|
|||||||||
|
Но- |
h, |
S, |
|
H0, |
|
t, с |
T, оС |
|
|
|
S |
|
|
φ |
|
k10f , |
|
|
|
10f , |
|
|
|
|
|
k |
||||||||||||||||||||
|
мер |
см |
см |
|
см |
|
|
|
|
|
|
|
H0 |
|
|
|
|
м/сут |
|
|
|
|
|
|
ис- |
|
|
|
|
|
|
|
|
|
|
|
|
|
|
|
|
|
м/сут |
|
|||
|
|
|
|
|
|
|
|
|
|
|
|
|
|
|
|||||||||
|
|
|
|
|
|
|
|
|
|
|
|
|
|
|
|
|
|
|
|
|
|
|
|
|
пы- |
|
|
|
|
|
|
|
|
|
|
|
|
|
|
H0 |
|
|
|
|
|
|
|
|
та- |
|
|
|
|
|
|
|
|
|
|
|
|
|
И |
|
|||||||
|
ния |
|
|
|
|
|
|
|
|
|
|
|
|
|
|
||||||||
|
1 |
2 |
3 |
|
4 |
|
5 |
|
6 |
|
7 |
|
8 |
|
|
9 |
|
10 |
|
11 |
|
||
|
1 |
10 |
2,5 |
|
10 |
|
120 |
|
20,0 |
|
1,300 |
|
0,25 |
0,288 |
15,95 |
|
22,19 |
|
|||||
|
2 |
10 |
3,0 |
|
10 |
|
100 |
|
19,0 |
|
1,270 |
|
0,30 |
0,357 |
24,29 |
|
|
||||||
|
3 |
10 |
3,5 |
|
10 |
|
110 |
|
19,5 |
|
1,285 |
|
0,35 |
0,431 |
26,34 |
|
|
|
|
|
|||
По формуле (17) рассчитывается величина поправки для приведения значения коэффициента фильтрации к условиям фильтрации при температуре 10 оС. Например, для первого испытания
= 0,7+0,03·20 = 1,300.
Результаты расчетов заносятся в столбец 7 табл. 7.
По прил. 6 определяется коэффициент φ( Ѕ/H0 ), значения которого заносятся в столбец 9 табл. 7.
24
По формуле (9) рассчитываются значения коэффициентов фильтрации, которые заносятся в столбец 10 табл. 7. Например, для первого испытания
С |
k10f |
10 |
0,288 864 15,95 м/сут. |
|||
|
||||||
120 |
|
1,3 |
||||
реднеарифметическое значение коэффициента фильтрации оп- |
||||||
ределяется по формуле (18): |
|
|||||
|
|
10f |
1 15,95 24,29 26,34 22,19м/сут, |
|||
|
k |
|||||
|
|
|
3 |
|
|
|
значение |
|
|||||
которое занос тся в столбец 11 табл. 18. |
||||||
Вывод. Расчетное |
коэффициента фильтрации песка со- |
|||||
гласно формуле (18) |
составляет k10fr 22,19 м/сут. |
|||||
Песок среднезерн стый, сильноводопроницаемый. |
||||||
б |
||||||
3.2. Определение коэффициента фильтрации песчаного |
||||||
|
грунта в при оре ПКФ-3 СоюзДорНИИ |
|||||
|
|
|
А |
|||
Согласно ГОСТ 25584-2016 |
12 метод распространяется на оп- |
|||||
ределение коэффициента фильтрации песчаных грунтов на образцах |
||||||
ненарушенного (природного) или нарушенного сложения. Для вычис- |
||||||
ления коэффициента фильтрации песчаных грунтов ненарушенного сложения следует применять образцы, высушенные до воздушносухого состояния. Д
Необходимоеоборудованиеиприборы
Прибор ПКФ-3 (рис. 10); уплотнитель (рис. 11); сито с отверстиями диаметром 5 мм по ГОСТ 6613-86; емкость для воды вместимостью 8…10 л; термометр с погрешностьюИизмерения не более 0,5 оС по ГОСТ 28498-90; секундомер; нож; лопатка; марлевая прокладка.
Подготовкакиспытанию
Перед началом испытания прибор ПКФ-3 разбирается.
Для определения коэффициента фильтрации песчаного грунта его предварительно высушивают на воздухе до воздушно-сухого состояния, а затем просеивают через сито.
Просеянный песок перемешивают и распределяют слоем 2…3 см на листе плотной бумаги или фанеры, делят поверхность слоя на кварты, проводя ножом в продольном и поперечном направлениях полосы, и отбирают из каждого квадрата равное количество песка для средней пробы массой не менее 0,9 кг.
25