Материал: 1907

Внимание! Если размещение файла нарушает Ваши авторские права, то обязательно сообщите нам

е р и я в н у т р и в у з о в с к и х СибАДИм е т о д и ч е с к и х у к а з а н и й С и б А Д И

Министерство науки высшего образования Российской Федерации Федеральное государственное бюджетное образовательное учреждение высшего образования

« ибирский государственный автомо ильно-дорожный университет (СибАДИ)» Кафедра «Мосты и тоннели»

ОСНОВАНИЯ ФУНДАМЕНТЫ

Методические указания к лабораторным работам

Составители: А.С. Нестеров, В.А. Гриценко, Е.А. Широватова

Омск ▪ 2018

УДК 624.13 ББК 38.581 О75

Согласно 436-ФЗ от 29.12.2010 «О защите детей от информации, причиняющей вред их здоровью и развитию» данная продукция маркировке не подлежит.

Рецензент

СибАДИканд. техн. наук, доц. Н.П. Александрова (СибАДИ)

Работа утверждена редакционно-издательским советом СибАДИ в качестве метод ческ х указан й.

О75 Основан я фундаменты [Электронный ресурс] : методические указания к лабораторным работам / сост. : А.С. Нестеров, В.А. Гриценко, Е.А. Широватова. – ( ерия внутр вузовск х методических указаний СибАДИ). – Электрон. дан.–

Омск : С бАДИ, 2018. – URL: http://bek.sibadi.org/cgi-bin/irbis64r plus/ cgiirbis 64 ft.exe. - Реж м доступа: для авторизованных пользователей.

Предназначены для выполнения лабораторных работ по дисциплине основания и фундаменты. Рассматриваются методики лабораторных работ по определению максимальной плотности сухого грунта и его оптимальной влажности, деформационных и фильтрационных свойств грунтов.

Имеют интерактивное оглавление в виде закладок.

Рекомендованы для обучающихся очной и заочной форм, направления «Строительство».

Подготовлены на кафедре «Мосты и тоннели».

Текстовое (символьное) издание (1,7 МБ)

Системные требования: Intel, 3,4 GHz; 150 Мб; Windows XP/Vista/7; DVD-ROM; 1 Гб свободного места на жестком диске; программа для чтения pdf-файлов:

Adobe Acrobat Reader; Foxit Reader

Техническая подготовка В. . Черкашина

Издание первое. Дата подписания к использованию 17.12.2018 Издательско-полиграфический комплекс СибАДИ. 644080, г. Омск, пр. Мира, 5

РИО ИПК СибАДИ. 644080, г. Омск, ул. 2-я Поселковая, 1

ФГБОУ ВО «СибАДИ», 2018

МЕХАНИЧЕСКИЕ СВОЙСТВА ГРУНТОВ

Общие положения

Грунты являются основаниями различных сооружений. Строи-

тельство сооружений нарушает начальное состояние грунтов и в грунтах возникают новые процессы, осложняющие эксплуатацию сооружений. Для оценки грунтов оснований необходимо знать характеристики механ ческ х свойств грунтов. В зависимости от условий взаимодейств я грунтов с нагрузками выделяются несколько типов физико-механ ческ х свойств.

СПод механ ческ ми свойствами грунтов понимают их способность сопрот вляться зменению объема и формы в результате дейна грунт нагрузок. Характеристики этих свойств подразделяют-

ствияся на: деформац онные, которые проявляются при нагрузках ниже критическ х не пр водящих к разрушению грунта; прочностные, проявляющ еся при нагрузках выше критических и приводящих к разрушен ю грунта [1].

Важнейшимбсвойством грунтов является их водопроницаемость. Это свойство присуще как песчаным, так и глинистым грунтам. Уплотнение грунтов под действием внешней нагрузки, сопровождается отжатием воды из пор. Этот процесс называется фильтраци-

онной консолидацией грунта.

А Механические свойства грунтовДзависят от их состава, физиче-

ского состояния и структурных особенностей. Состав, строение, состояние и свойства грунтов определяются генезисом, возрастом и характером постгенетических процессов.

В состав грунтов входят твердые минеральные частицы, вода в различных состояниях и воздух. Твердые частицыИимеют различную дисперсность и поэтому в зависимости от размера частиц подразделяются на крупнообломочные (>2,0 мм), песчаные ( от 2,0 до 0,05 мм), пылеватые (от 0,05 до 0,005 мм) и глинистые (<0,005 мм).

Для определения характеристик механических свойств грунтов проводятся лабораторные и полевые испытания. В лаборатории испытываются образцы грунта относительно небольших размеров, отобранных из шурфов и скважин со строительной площадки. Образцы грунта по физическому состоянию должны соответствовать условиям их естественного залегания, то есть ненарушенного сложения.

3

1. ОПРЕДЕЛЕНИЕ ДЕФОРМАЦИОННЫХ

ХАРАКТЕРИСТИК ГРУНТА

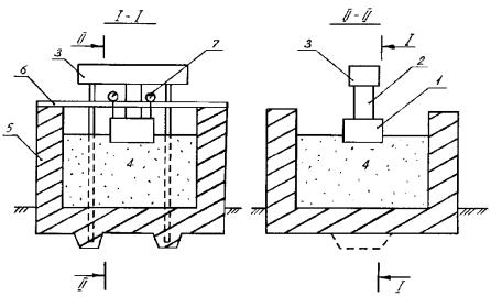
Деформационные характеристики грунта, определяемые в лабораторных условиях на образцах всегда в полной мере, отражают свойства грунтов в условиях их природного состояния. Поэтому при проектировании ответственных сооружений наряду с лабораторными испытаниями проводят и полевые испытания грунтов в условиях природного залеган я. Испытания проводят в шурфах или скважинах жесткими штампами.

В учебной лаборатории модуль общей деформации песчаного

С

 

 

основан я определяют в железо етонном грунтовом лотке, имеющем

внутренн е размеры в плане 1,69 х 1,82 м и высоту (глубину) 1,61 м

( .1).

 

 

 

 

Нео ходимоеоборудование

рис

 

 

В качестве спытываемой среды используется сухой мелкий пе-

сок с плотностью частиц грунта

s

= 2,65 т/м3. Гигроскопическая

 

б

влажность песка W = 0,01. Песок укладывается в лоток слоями по 0,15

м. Каждый слой уплотняется специальной ручной трамбовкой, сбра-

 

А

сываемой с высоты 0,40 м. В процессе укладки песка его плотность по

 

Д

высоте и в плане контролируется путем отбора проб стандартными

кольцами.

 

 

И

Рис.1. Схема измерения осадки песчаного основания при штамповых испытаниях: 1 – штамп; 2 – гидравлический домкрат; 3 – анкерная балка; 4 – песчаное основание; 5 – стенка лотка; 6 – реперная балка; 7 – индикатор

4

Примененная методика уплотнения песка обеспечивает однородность основания с плотностью = 1,7 т/м3. Коэффициент порис-

тости e = 0,57. При таком коэффициенте пористости в соответствии с

ГО Т 25 100 – 2011 по плотности сложения данный песок является

плотным. Угол внутреннего трения песка по результатам испытания

С

 

2

на приборе угла естественного откоса

= 34°. Песок в лоток укла-

дывается до начала лабораторной работы.

 

 

 

Выполнениеработы

егоразмерамиподошвы на высоту 0,10 м укладывается еще слой утрамбованно-

Нагружен

 

основания осуществляется железобетонным штам-

пом

в плане 0,5 х 0,4 м (с площадью подошвы 2000 см ) и

высотой 0,12 .

 

 

 

б

 

Штамп устанавл вается строго горизонтально (по уровню) на

выровненную

утрам ованную поверхность песка. После чего выше

го песка, грающего роль оковой пригрузки.

Нагрузка на штамп создается установленным на нем (в центре) гидравлическим домкратомА. Значения нагрузки определяются показанием манометра, имеющегося на домкрате. Реактивное усилие от домкрата воспринимается анкерной балкой и через две анкерные тяги передается днищу лотка, в котором концы тяг надежно заделаны. Штамп и домкрат размещаются Дв середине пролета анкерной балки по центру ее опорной плиты (по вертикальной оси лотка).

Осадку штампа измеряют с точностью 0,01 мм с помощью двух прогибомеров, закрепленных на специальной реперной балке, опи-

рающейся на стены лотка.

И

Нагрузку на штамп прикладывают ступенями по 5 кН, что соответствует ступени давления по подошве штампа р= 25 кПа. Ступе-

ни нагрузки создают увеличением давления масла в домкрате с помощью ручного насоса. Значения показаний манометра домкрата, соответствующие данному давлению, приведены в табл. 1.

 

 

 

 

 

Таблица 1

Значение показаний манометра домкрата при заданном давлении

 

 

 

 

 

 

Нагрузка, кН

0

5

10

15

20

Давление, кПа

0

25

50

75

100

Показания манометра

0

7,25

14,5

21,6

28,5

5