Материал: 1849

Внимание! Если размещение файла нарушает Ваши авторские права, то обязательно сообщите нам

База нормативной документации: www.complexdoc.ru

 

Штырь

02-63-12 ОСТ

4

 

 

 

 

 

37.003.032-88

 

 

 

 

 

Гнездо

02-6.3-12 ОСТ

10

 

 

 

 

 

37.003.032-88

 

 

 

 

 

 

0.5-6-В-ЛТ-0.5

 

 

 

 

 

 

Наконечник

ГОСТ

4

 

 

 

 

 

 

 

 

 

 

 

 

 

22002.7-76

 

 

 

 

 

 

 

0.5-5-В-ЛТ-0.5

 

 

 

 

 

 

Наконечник

ГОСТ

1

 

 

 

 

 

 

 

 

 

 

 

 

 

22002.7-76

 

 

 

 

 

 

Трубка

305ТВ-40.9

3,5 м

На провода

 

 

ГОСТ 19034-82

 

 

 

 

 

 

 

 

 

Трубка

305ТВ-40.7

1 м

На провода

 

 

ГОСТ 19034-82

 

 

 

 

 

 

 

 

 

 

 

 

В

 

штатное

 

 

 

 

квадратное

 

 

 

 

1

отверстие в левой

 

 

 

части

 

панели

13

Сигнализатор утечки газа

9031.10.000

Комплект

 

приборов.

Один

 

(СУГ)

 

с двумя

датчик

 

-

к

 

 

 

датчиками

тройнику

 

11а,

 

 

 

 

второй датчик - к

 

 

 

 

тройнику 116

14

Согласующее устройство

9031.11.000

1

На

ЭМК

8

датчика давления

высокого

давле-

121

База нормативной документации: www.complexdoc.ru

 

 

 

 

ния.

 

 

 

 

 

Подключается по

 

 

 

 

схеме рис. 7.4

15

Арматура для крепления

СУЮК

1

В

багажном

 

баллонов

4544.00.012

 

отделении

16

Комплект проводов

 

 

 

 

а) ШВВП

б) ШВВП

в) ПВ

г)ПВ

д)ПВ

17Соединительные пластмассовые разъемы

20.5

1,1

м

Между СУГ 13 и

ГОСТ 7399-80

черный

 

датчиком

 

 

(тройник) Па

 

2×0.5

2,6

м

Между СУГ 13 и

ГОСТ 7399-80

белый

 

датчиком

 

 

(тройник) 116

 

 

 

Между

 

4-1.0 ГОСТ ВД

2,6

м

переключателем

К,

ЭМК 5,

8 и

6323-81

белый

 

согласующим

 

 

 

 

устройством 14

3-1.0

1,2

м

 

 

 

 

 

 

 

ГОСТ 6323-79

синий

 

 

 

 

4-0.5 ГОСТ

0,25

м

 

 

 

6323-79

зеленый

 

 

 

 

2-контактные

1

 

На

провода

по

1-контактные

4

 

схеме

рис.

 

7.3-7.4. Пакет №8

122

База нормативной документации: www.complexdoc.ru

Штырь

02-6.3-12 ОСТ

20

37.003.032-88

Гнездо

02-6.3-12 ОСТ

28

37.003.032-88

18 Хомуты

а) 1" дюйм

5

 

б) 2" дюйма

12

 

в) 5/8" дюйма

5

 

г) 3/4" дюйма

15

19 Крепеж

 

 

Болт

Мб, L=20 мм

2

Винт

Мб, L=50 мм

2

Винт

М10, L=20mm

1

Гайка

М10

2

Шайба гровер

10

1

20 Трубка вентиляционная

9031.00.010-70

1

Для крепления рукавов. Пакет № 9

Пакет №11

В правой нише переднего колеса

123

База нормативной документации: www.complexdoc.ru

Для крепления 21 Хомуты пластмассовые L= 100-160 мм 10 проводов. Пакет

№ 12

*Позиции с 1 по 9 указаны на рис. 7.2.

**Детали, не указанные на рис. 7.2, обозначены порядковым номером в табл. 7.2.

В процессе монтажа ГБА необходимо выполнить следующие работы:

- в баллоны ввернуть вентили 3 (см. рис 7.2) по технологии завода-изготовителя;

- на электрические выводы (провода) ЭМК 8 высокого давления, ЭМК 5 бензина, сигнализатора 13 утечки газа (СУГ), согласующего устройства 14 датчика давления закрепить соединительные разъемы «гнездо» и клемму «корпус»;

124

База нормативной документации: www.complexdoc.ru

Рис. 7.2. Схема размещения деталей и узлов АГТС «САГА-7» на автомобиле Волга

проложить кабель отдатчика СУ Г из багажного отделения по левой стороне пола салона автомобиля под ковриком;

отбортовать пластмассовыми хомутами 21 (см. табл. 7.2) провода, проходящие в отсеке двигателя.

Монтаж деталей и узлов комплекта АГТС «САГА-7» на малотоннажный грузовой автомобиль ГАЗ-3302 «Газель» производится в соответствии с требованиями, изложенными в табл. 7.3 (колонка «Место установки на автомобиле, детали монтажа») и монтажных схем, представленных на рис. 7.5-7.7.

Переключатель «газ-0-бензин», ЭМК и датчики давления подключаются по схеме, представленной на рис. 7.4.

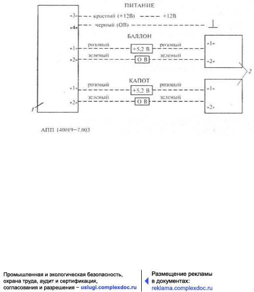
Рис. 7.3. Схема соединений сигнализатора утечки газа (СУГ) на автомобиле Волга:

1 - блок питания и индикации; 2 - датчики

125