Практическоезанятие №19.
РАСЧЕТ УЗЛОВ ФЕРМ ИЗ КРУГЛЫХ ТРУБ
Цель работы – получить навыки и умение выполнять расчеты НДС элементов узлов ферм из гнутозамкнутых профилей с учетом совместной работы конструкций.
С |
|
Исходные данные |
|
хему, размеры элементов ферм (пролеты, сечения), размещение опор и |
|
величины нагрузок согласовать с преподавателем (рис. 7). |
|
пособии |
|
Порядок выполнения |
|
Алгор тм стат ческого расчета НДС элементов стальных узлов с учетом |
|
совместной |
работы |
конструкций в ПК ЛИРА-САПР представлены в учебном |
|
«Расчеты конструкций в ПК ЛИРА-САПР» |
|
https://drive.google.com/open?id=1IORegmLkNXTERhSdF RjScjxzWfxzVXi |
|||
https://drive.google.com/open?id=1hdENfpay418lj3LUZ fVD63KiSv7rzKb. |
|||
|
|
ЛИРА |
|
|
Контрольные вопросы к практическому занятию № 19 |
||
1. |
Моделирование пластинчатых элементов. |
||
2. |
Понятие блок в |
-С |
Д |
ПР? |
|||
3. |
Пересечение блоков в |
-С ПР? |
|
4. |
Шанрирно-неподвижный и жесткий узел фермы? |
||
5. |
Моделирование болтовых связей? |
||
6. |
Опорные пластины. |
И |
|
7. |
КЭ 264 односторонней упругой связи с трением. |
||
Практическоезанятие №20, 21.
РАСЧЕТ УЗЛОВ ФЕРМ ИЗ СПАРЕННЫХ УГОЛКОВ ПО ФАСОНКАМ
Цель работы – получить навыки и умение выполнять расчеты НДС элементов узлов ферм из спаренных уголков по фасонкам с учетом совместной работы конструкций.
16
Исходные данные
Схему, размеры элементов ферм (пролеты, сечения), размещение опор и величины нагрузок согласовать с преподавателем (рис. 8).
Си
б А Д И
Рис. 8 Схемы узлов ферм
Порядок выполнения
Алгоритм статического расчета НДС элементов стальных узлов с учетом совместной работы конструкций в ПК ЛИРА-САПР представлены в учебном пособии «Расчеты конструкций в ПК ЛИРА-САПР»
17
https://drive.google.com/open?id=1IORegmLkNXTERhSdF RjScjxzWfxzVXi https://drive.google.com/open?id=1hdENfpay418lj3LUZ fVD63KiSv7rzKb.
|
|
Контрольные вопросы к практическому занятию № 20, 21 |
||
1 |
Моделирование пластинчатых элементов. |
|||
С |
|
|
||
2 |
Понятие блок в ЛИРА-САПР? |
|
||
3 |
Пересечение блоков в ЛИРА-САПР? |
|
||
4 |
Шанрирно-неподвижный и жесткий узел фермы? |
|||
5 |
Модел рован е болтовых связей? |
|
||
6 |
Опорные пласт ны. |
|
|
|
и |
|
|
||
7 |
КЭ 264 односторонней упругой связи с трением. |
|||
|
|
Практическоезанятие №22. |
||
|
|
РАСЧЕТ УЗЛОВ «КОЛОННА-БАЛКА» |
||
|
Цель |
– получить навыки и умение выполнять расчеты НДС эле- |
||
|
|
А |
||
ментов узлов балк-колонна с учетом совместной работы конструкций. |
||||
|
Исходныеработыданные |
|
||
|
Схему, размеры элементов алок, колонн (пролеты, сечения), размеще- |
|||
|
|
|
НДС |
|
ние опор и величины нагрузок согласовать с преподавателем (рис. 9). |
||||
|
Порядок выполнения |
|
|
|
|
Алгоритм статического расчета |
элементов стальных узлов с учетом |
||
совместной работы конструкций в ПК ЛИРА-САПР представлены в учебном пособии «Расчеты конструкций в ПК ЛИРА-САПРИ»
https://drive.google.com/open?id=1IORegmLkNXTERhSdF RjScjxzWfxzVXi https://drive.google.com/open?id=1hdENfpay418lj3LUZ fVD63KiSv7rzKb.
Контрольные вопросы к практическому занятию № 22
1.Моделирование пластинчатых элементов.
2.Понятие блок в ЛИРА-САПР?
3.Пересечение блоков в ЛИРА-САПР?
4.Шанрирно-неподвижный и жесткий узел фермы?
5.Моделирование болтовых связей?
6.Опорные пластины.
7.КЭ 264 односторонней упругой связи с трением.
18
Си
б А Д И
Рис. 9 Схемы узлов балка-колонна
19
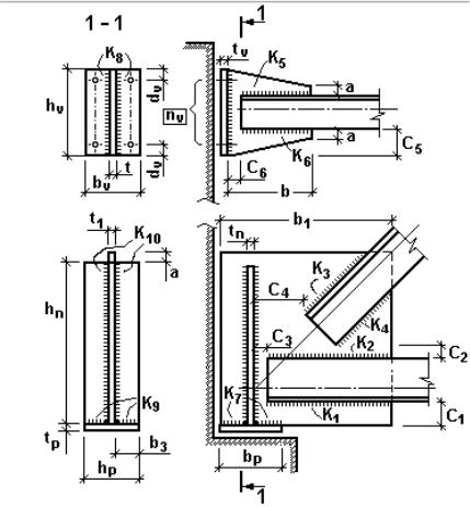
Практическоезанятие №23.
РАСЧЕТ УЗЛОВ ФРИКЦИОННЫХ СТЫКОВ ЭЛЕМЕНТОВ НА ВЫСОКОПРОЧНЫХ БОЛТАХ
Цель работы – получить навыки и умение выполнять расчеты НДС элементов узлов фрикционных стыков с учетом совместной работы конструкций.
СИсходные данные
хему, размеры элементов, балок, колонн (пролеты, сечения), размеще-
ние опор вел ч ны нагрузок согласовать с преподавателем (рис. 10). и б А
Рис. 10 Схемы Дузлов фрикционныхИстыков балок
Порядок выполнения
Алгоритм статического расчета НДС элементов стальных узлов с учетом совместной работы конструкций в ПК ЛИРА-САПР представлены в учебном пособии «Расчеты конструкций в ПК ЛИРА-САПР»
https://drive.google.com/open?id=1IORegmLkNXTERhSdF RjScjxzWfxzVXi https://drive.google.com/open?id=1hdENfpay418lj3LUZ fVD63KiSv7rzKb.
20