Монтаж крупнопанельных стен.
Из крупных панелей монтируют наружные и внутренние стены крупнопанельных бескаркасных зданий.
Панели стен имеют различное конструктивное решение и размеры. Их изготовляют с применением различных материалов, что оказывает влияние как на способы монтажа, так и на способы заделки стыков.
Бескаркасные крупнопанельные здания чаще возводят с поперечными несущими и с наружными самонесущими стенами. Есть проекты зданий, у которых несущими являются продольные наружные и внутренние стены.
Бескаркасные крупнопанельные дома с несущими поперечными стенами монтируют в такой последовательности: вначале устанавливают панели поперечных несущих стен, затем панели наружных стен, санитарно-технические кабины, площадки и лестничные марши, панели перекрытий.
При продольных несущих стенах последовательность монтажа конструкций следующая: вначале устанавливают маячные панели, образующие угол секции, затем панели наружной продольной стены, удаленной от монтажного крана; внутренние панели и панели продольной стены, ближней к монтажному крану.
На прочность крупнопанельных зданий существенно влияет соосность передачи нагрузки от несущих конструкций вышележащих этажей на нижележащие. Здесь важна не только соосность передачи нагрузки от одной панели к другой, но и точность установки панелей поперечных стен по разбивочным осям, так как при небольшой их толщине надо обеспечить достаточную величину опирания на них панелей перекрытий.
Существенное влияние на прочностные характеристики и долговечность крупнопанельных зданий оказывает также конструктивное решение узловых сопряжений отдельных элементов таких зданий, а на эксплуатационные качества — также и принятые конструктивные решения, заделка стыков и швов. Эти же решения оказывают влияние на способы монтажа и на трудоемкость монтажных работ. На успешное выполнение монтажных работ и эксплуатационные качества крупнопанельных зданий существенно влияет точность изготовления сборных элементов.
Нарушения технологии монтажа плит междуэтажных перекрытий и несущих стеновых панелей, а также неудовлетворительное качество изготовления сборных конструкций приводит к авариям и разрушениям зданий.
Элементы конструкций при монтаже крупнопанельных зданий устанавливают различными способами.
Способ установки элементов по разметке с выверкой отвесом и временным закреплением при помощи подкосов и струбцин называется свободным. Он наиболее трудоемок, точность монтажа зависит в основном от квалификации исполнителей.
Поданную краном панель наружной стены устанавливают по разметочным рискам и временно раскрепляют при помощи двух подкосов, закрепляемых за верхние грани панели струбциной. Другие способы закрепления подкосов к панелям: нижними концами подкосы закрепляют за монтажные петли панелей перекрытий, за захваты для строповки, установленные в монтажные отверстия панелей, или непосредственно за эти отверстия.
После временного раскрепления панелей их приводят в вертикальное положение при помощи подкосов и струбцин, снабженных стальными муфтами (фаркопфами), пользуясь для этого рейкой-отвесом, навешиваемой на панель с внутренней стороны. После выверки и раскрепления панелей стропы с них снимают.
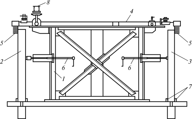
Другим способом монтажа стеновых наружных и внутренних панелей является ограниченно свободный, который определяет проектное положение низа устанавливаемых панелей. Для монтажа используют комплект оснастки в виде кондуктора-туры (рис. 4.31), который обеспечивает выверку и закрепление панелей во время их установки. Он представляет собой объемный сварной каркас рамной конструкции 1, который устанавливают на перекрытие с точностью в плане ±50 мм, считая от поперечной оси здания, вынесенной на перекрытие.

Рис. 4.31. Ограниченно свободный метод монтажа стеновых панелей: 1 — сварной каркас кондуктора-туры; 2 — базовая панель; 3 — монтируемая панель; 4 — трубчатый фиксатор; 5 — упор, фиксирующий положение верха стеновой панели; 6 — домкрат для фиксации панели в проектном положении; 7 — пластины фиксатора низа стеновой панели; 8 — винт, регулирующий перемещение
трубчатого фиксатора
Первые базовые панели поперечных стен 2, примыкающие к туре, прижимают домкратами 6 к упорам 5трубчатых фиксаторов 4. Низ панелей 2 предварительно заводят в вилочные фиксаторы 7.
Установку поперечных панелей ведут в обе стороны от базисных панелей полупринудительно по фиксаторам с приведением в проектное положение верха панелей и временным закреплением различными связями, устанавливаемыми по две штуки между каждыми двумя панелями. Связи могут быть оснащены откидными струбцинами и поворотными фиксаторами, которыми соответственно закрепляют панели наружных стен и перегородок.

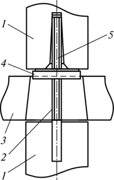
Рис. 4.32. Детали сопряжения панелей стен и перекрытий при замковом (принудительном) методе монтажа: 1 — стеновая панель; 2 — штырь-фиксатор; 3 — панель перекрытия; 4— контрольная гайка; 5 — конусное гнездо
При монтаже бескаркасных крупнопанельных зданий повышенной этажности достаточно сложно обеспечить высокую пространственную точность установки панелей и соосность элементов конструкций по высоте здания. Дальнейшим способом усовершенствования монтажа стеновых панелей является метод пространственной самофиксации, который заключается в том, что на заводе ЖБИ при изготовлении панелей в них с высокой степенью точности закрепляют металлические закладные детали, образующие при сопряжении панелей замковые соединения. Два замковых соединения располагаются в двух верхних углах всех панелей наружных и внутренних стен и одного штыревого фиксатора (рис. 4.32) посередине опорных поверхностей каждой панели.
При такой схеме монтажа каждая устанавливаемая панель, за исключением замыкающей ячейку, имеет одну степень свободы, которая позволяет в случае необходимости изменить ее положение в нужном направлении и тем самым обеспечить замыкание ячейки.
Детали сопряжения панелей стен и перекрытий при замковом (принудительном) методе монтажа выполняются в различных вариантах.
Оценивая все три метода монтажа железобетонных конструкций, можно сделать следующие выводы:
— свободный метод прост, не требует больших затрат на монтажную оснастку, однако точность установки конструкций в проектное положение зависит от субъективных факторов — профессиональных навыков исполнителей;
— ограниченно свободный метод при более высоком качестве монтажа конструкций требует значительных затрат на изготовление оснастки — кондукторов-тур. Кроме того, усложняется технологический процесс изготовления плит междуэтажных перекрытий, поскольку при их формовании необходимо обеспечить точность установки пластин фиксатора низа стеновой панели;
— недостатком принудительного метода является удорожание конструкции за счет установки металлического замкового устройства. Но главный недостаток метода состоит в том, что даже в заводских условиях весьма затруднительно обеспечить высокую точность расположения замковых устройств в конструкциях.
Панели наружных стен крупнопанельных зданий устанавливают на слой раствора или цементно-песчаной пасты без прокладки или с прокладкой в шов герметизирующего шнура.
Монтаж лестничных площадок выполняют аналогично монтажу плит перекрытий многоэтажных зданий. Стропуют их четырехветве- вым стропом.
Монтаж лестничных маршей также осуществляют аналогично монтажу плит. Отличие в том, что их поднимают в наклонном положении, несколько превышающем их наклон в проектном положении. Это необходимо для того, чтобы сначала опереть на лестничную площадку нижний конец марша, а затем опустить на опору верхний конец.