|
|
|
|
|
|
|
|
Окончание табл. 2 |
|
|
Сотые |
|
|
|
Целые |
|
|
|
|
|
29, |
30, |
31, |
32, |
33, |
34, |
35, |
36, |
|
|
|
||||||||
|
00 |
1,59009 |
1,54178 |
1,49676 |
1,45473 |
1,41541 |
1,37858 |
1,34401 |
1,31152 |
|
05 |
1,58759 |
1,53945 |
1,49459 |
1,45270 |
1,41352 |
1,37680 |
1,34233 |
1,30994 |
|
10 |
1,58510 |
1,53714 |
1,49243 |
1,45068 |
1,41162 |
1,37502 |
1,34067 |
1,30838 |
|
15 |
1,58262 |
1,53483 |
1,49027 |
1,44867 |
1,40974 |
1,37325 |
1,33900 |
1,30681 |
|
20 |
1,58015 |
1,53252 |
1,48813 |
1,44666 |
1,40786 |
1,37149 |
1,33735 |
1,30525 |
|
25 |
1,57768 |
1,53023 |
1,48599 |
1,44466 |
1,40598 |
1,36973 |
1,33570 |
1,30370 |
|
30 |
1,57523 |
1,52794 |
1,48385 |
1,44266 |
1,40411 |
1,36798 |
1,33405 |
1,30215 |
|
35 |
1,57278 |
1,48173 |
1,44067 |
1,44067 |
1,40225 |
1,36623 |
1,33241 |
1,30061 |
20 |
40 |
1,57035 |
1,52340 |
1,4796! |
1,43869 |
1,40039 |
1,36449 |
1,33077 |
1,29907 |
|
45 |
1,56792 |
1,52113 |
1,47750 |
1,43672 |
1,39854 |
1,36275 |
1,32914 |
1,29753 |
|
50 |
1,56550 |
1,51888 |
1,47539 |
1,43475 |
1,39670 |
1,36102 |
1,32751 |
1,29600 |
|
55 |
1,56309 |
1,51663 |
1,47329 |
1,43279 |
1,39486 |
1,35929 |
1,32589 |
1,29447 |
|
60 |
1,56069 |
1,51440 |
1,47120 |
1,43083 |
1,39303 |
1,35757 |
1,32427 |
1,29295 |
|
65 |
1,55830 |
1,51216 |
1,46912 |
1,42888 |
1,39120 |
1,35586 |
1,32266 |
1,29143 |
|
70 |
1,55591 |
1,50994 |
1,46704 |
1,42694 |
1,38938 |
1,35415 |
1,32105 |
1,28992 |
|
75 |
1,55354 |
1,50773 |
1,46497 |
1,42500 |
1,38757 |
1,35245 |
1,31945 |
1,28841 |
|
80 |
1,55117 |
1,50552 |
1,46291 |
1,42307 |
1,38576 |
1,35075 |
1,31786 |
1,28691 |
|
85 |
1,54881 |
1,50332 |
1,46086 |
1,42115 |
1,38395 |
1,34905 |
1,31626 |
1,28541 |
|
90 |
1,54646 |
1,50113 |
1,45881 |
1,41923 |
1,38215 |
1,34737 |
1,31468 |
1,28392 |
|
95 |
1,54411 |
1,49894 |
1,45677 |
1,41732 |
1,38036 |
1,34568 |
1,31309 |
1,28243 |
|
100 |
1,54178 |
1,49676 |
1,45473 |
1,41541 |
1,37858 |
1,34401 |
1,31152 |
1,28094 |
Контрольные вопросы
1.Сущность качественного РФА.
2.Сущность количественного РФА.
3.Как готовят образцы для РФА?
4.Этапы расшифровки рентгенограмм.
5.Как определить угол отражения пиков?
6.Как найти межплоскостные расстояния?
7.Определение интенсивности пиков.
8.На каких приборах снимают рентгенограммы строительных материалов?
9.Основная схемаработы приборапо получению рентгенограммы.
Лабораторная работа № 4
АНАЛИЗ И РАСШИФРОВКА ДЕРИВАТОГРАММ
Цель работы – освоение методики по определению качественного и количественного составов камней из строительных материалов с помощью ДТА.
Расшифровка дериватограмм производится расчетным методом с использованием формул и таблиц.
Расшифровка дериватограмм включает в себя анализ простой и дифференциальной кривых нагревания (качественный и количественный фазовый анализ); интегральной и дифференциальной кривых потери веса (термовесовой метод фазового анализа).
1.Общие сведения о дифференциально-термическом
итермовесовом анализах
1.1.Дифференциально-термический анализ
Сущность дифференциально-термического анализа заключается
визучении фазовых изменений или превращений, происходящих в материале при его нагревании, по сопровождавшим эти превращения тепловым эффектам.
Если наполнить исследуемым материалом тигель, поместить его
внагревающуюся электропечь и измерять температуру с помощью термопары, подключенной к гальванометру, то представляется воз-
21
можность достроить график изменения температуры материала во времени. Эта кривая носит название простой температурной кривой.
Рис. 1. Простая температурная кривая нагревания каолинита
Если в веществе в процессе нагревания не происходит никаких реакций, связанных с изменением энергии системы, то простая температурная кривая имеет вид прямой, наклонной к оси абсцисс. Плавный ход этой прямой нарушается в случае протекания реакций, сопровождающихся выделением или поглощением тепла. Отклонения носят временной характер и прекращаются по окончании реакции. В качестве примера приведена простая температурная кривая нагревания каолинита, на которой отмечено два процесса: первый в интервале температур 490-600 °С и второй при 985-1060 °С (рис. 1).
Регистрация тепловых эффектов на простой кривой отличается малой чувствительностью, т.к. часто отклонения, связанные с протеканием каких-либо процессов, являются нечеткими, слабыми. Поэтому метод ДТА предполагает одновременную фиксацию простой и так называемой дифференциальной кривой нагревания.
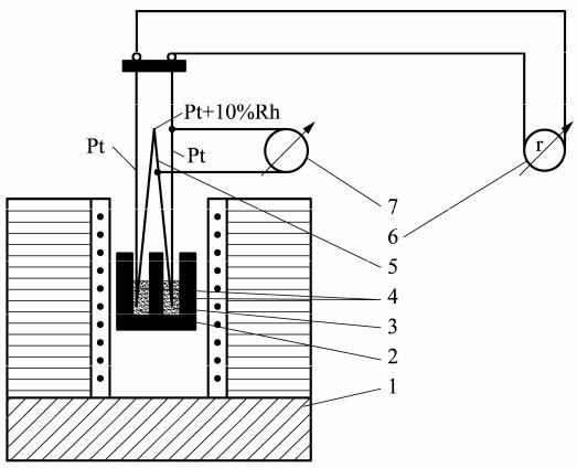
Дифференциальная температурная кривая получается с помощью дифференциальной термопары (рис. 2). Последняя представляет собой две обычные термопары, соединенные между собой одноименными концами, образующими холодный спай. Два других конца подключены к прибору, позволяющему фиксировать изменения в цепи электродвижущей силы (ЭДС), возникающей при нагревании горячих
22
спаев термопары. Один горячий спай помещен в исследуемое вещество, а другой в эталонное.
Рис. 2. Схема дифференциальной и простой термопар: 1 – электропечь; 2 – исследуемое вещество; 3 – эталонное
вещество; 4 – горячие концы дифференциальной термопары; 5 – холодный спай дифференциальной термопары;
6 – гальванометр записи кривой ДТА; 7 – гальванометр записи простой температурной кривой
Эталонным веществом может служить вещество, не подвергающееся никаким превращениям при нагревании до требуемой температуры. В качестве эталонов часто использую прокаленные окиси алюминия или магния.
Если исследуемое вещество испытывает какие-либо превращения, связанные с поглощением или выделением тепла, то его температура в этот период может быть выше или ниже эталонного материала. Возникающая разность температур приводит к появлению разновеликих ЭДС и отклонению кривой ДТА вверх или вниз от нулевой или базисной линии.
23
Нулевой считается параллельная оси абсцисс линия, проведенная через начало хода кривой ДТА.
На практике часто после прекращения какого-либо теплового процесса кривая ДТА не возвращается к нулевой линии, а идет параллельно ей или под некоторым углом. Эта линия хода термической кривой носит название базисной линии. Несовпадение базисной линии с нулевой обуславливается различными теплофизическими свойствами исследуемого и эталонного веществ.
Рис. 3. Схематическое изображение простой (Т) и дифференциальной (ДТА) кривых нагревания
Отклонение кривой ДТА вверх или вниз от базисной линии называется термическим эффектом. Термические эффекты, соответствующие процессам, связанным с поглощением тепла, и отображающиеся отклонением кривой ДТА ниже базисной линии, называются эндотермическим, выше базисной линии – экзотермическими. Первые обычно обозначаются знаком «минус», вторые – «плюс».
Вещества, у которых в данном интервале температур не отмечается ни одного термоэффекта, называют термоинертными. Таких веществ немного, большинство относится к термоактивным.
Положение термических эффектов на термограмме кривой ДТА характеризуется температурными границами протекания той или иной реакции или процесса. Значение температур определяют графи-
24