Рисунок. 4.8. Методика компоновки двускатных дощатоклееных балок по длине
Полученное значение высоты балки в коньке hк |
и на опоре hо |
|||||||||||
корректируем с учетом уклона исходя из откорректированной высоты |
||||||||||||
балки в расчетном сечении hр . |
|
|
|
|
|
|
|
|||||
Высоту балки в торце hт возможно определить после определе- |
||||||||||||
ния размеров поперечного сечения колонны. |
|
|
||||||||||
5. Расчет балки по первой группе предельных состояний |
||||||||||||
С |
|
|
|
|
|
|
|
|
|
|
||
5.1. Проверка прочности принятого расчетного сечения |
||||||||||||
|
|
по нормальным напряжениям |
|
|
||||||||
Проверка |
принятого расчетного сечения по нормаль- |
|||||||||||
прочностиным напряжен ям зводится по СП [1, формула (17)]: |
|
|||||||||||
|
|
|
|
|
|
Мр |
R |
|
, |
|
|
|
|
|
|
|
|
|
|
|
|
||||
|
|
|
|
|
|
W р и |
mi |
|
|
|
||
где Мр |
– момент в расчетном сечении [формула (37)]; W р – момент |
|||||||||||
|
|
б |
|
|
– расчетное со- |
|||||||
сопротивления расчетного сечения [формула (38)]; Rи |
||||||||||||
противление древесины изги у. Принимается по СП [1, табл. 3]. |
|
|||||||||||
В произведение коэффициентов условия работы необходимо |
||||||||||||
включить |
А |
|
|
|||||||||
|
|
|
|
|||||||||
|
|
mi mв mб |
mсл |
1 |
, |
|
|
|
|
|
|
(4.11) |
|
|
|
|
|
|
|
|
|
||||
|
|
|
|
|
|
|
|
|
|
|
|
|
|
|
|
|
n |
|
|
|
|
|
|
|
|
где mв – |
коэффициент, учитывающий условия эксплуатации конст- |
|||||||||||
рукции, |
принимается по СП [1, табл. 7]; |
mб – коэффициент, учиты- |
||||||||||
вающий |
|
|
|
|
|
Д |
|
|||||
|
высоту поперечного сечения элемента, принимается по СП |
|||||||||||
|
|
|
|
|
|
|
|
|
|
И |
||
[1, табл. 9]; mсл – коэффициент, учитывающий толщину слоя в клееном пакете, принимается по СП [1, табл. 10]; n – коэффициент учитывающий срок службы здания. Принимается по СП [1, табл. 12].
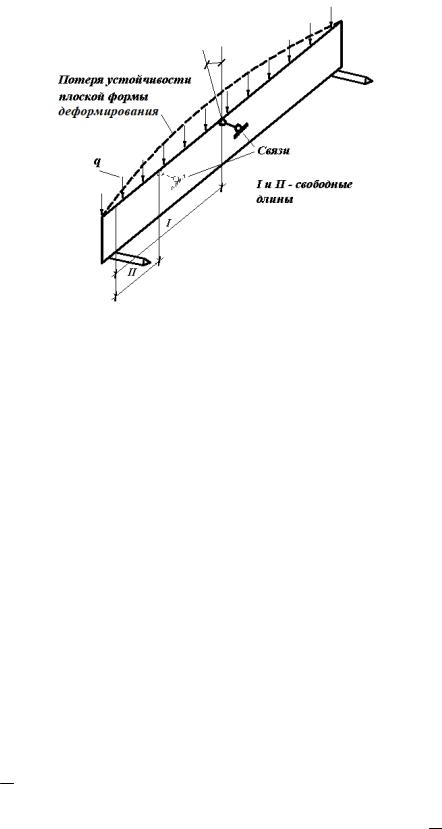
5.2. Проверка устойчивости плоской формы деформирования изгибаемых элементов прямоугольного сечения
Данная проверка производится по СП [1, п. 6.14, ф. (24)]. Принципиальная схема для расчета потери устойчивости плоской формы деформирования приведена на рис. 4.9.
31
С |
|
|
|
|
|
|
и |
|
|
|
|||
обеспечения |
|
|||||
Р сунок. 4.9. Схема алки к расчету потери устойчивости |
|
|||||
|
|
плоской формы деформирования |
|
|||
Услов е |
|
устойчивости плоской формы деформиро- |
||||
вания имеет вид |
А |
|
||||
|
|
M |
Rи mi |
, |
(4.12) |
|
|
|
м W р |
|
|
|
|
где м |
– коэффициент продольного изгиба от изгибающего мо- |
|||||
мента. |
|
|
|
Д |
|
|
|
|
|
|
|
|
|
Определяется по СП [1, формула (25)], |
|
|||||
|
|
м 140 |
b2 |
kф kжм . |
(4.13) |
|
|
|
lсв hк |
||||
здесь lсв lp |
|
|
|
И |
||
– расстояние между точками закрепления сжатой кромки |
||||||
(между связями).
Если условие прочности [формула (42)] не соблюдается при расстоянии между закреплениями (связями) равном расчетной длине балки lсв lp , необходимо принять расстояние между точками закреп-
ления lсв l2p и повторить расчет. В этом случае необходима постанов-
ка распорок по верхнему сжатому поясу на расстоянии lсв l2p ; kф 1,13
– коэффициент, зависящий от формы эпюры изгибающих моментов на участке lp . Принимается по СП [1, табл. Е2 прил. Е].
32
6. Расчет балки по второй группе предельных состояний
Расчет балки по второй группе предельных состояний производится в соответствии с СП [1, п. 6,35].
Расчет заключается в том, чтобы относительный прогиб балки f/l (прогиб в долях пролета) не превышал предельно допустимый относительный прогиб [f/l] [формула (44)]. Т.к. балка выполнена из клееного пакета, прог б балки необходимо определять с учетом деформа-
ций сдв га от поперечной силы. |
|
|||||
допустимый |
|
|
|
|
||
С |
f |
|
f |
|
||
|
|
|
|
. |
(4.14) |
|
|
|
|||||
|
lp |
l |
|
|||
Предельно |
|
|
|
|
относительный прогиб |
f |
принимается |
|||||||||
|
|
|
|
|
||||||||||||
|
|
|
|
|
|
|
|
|
|
|
|
|
|
l |
|
|
по СП [1, табл. 19]. |
|
|
|
|
|
|
|
|
|
|
|
|
|
|
|
|
Прог |
балки с учетом деформаций сдвига от поперечной силы f |
|||||||||||||||
можно определ ть по СП [1, формула (55)]. |
|
|
|
|||||||||||||
|
|
f |
0 |
|
|
h |
2 |
|
|
|
|
(4.15) |
||||
|
f |
|
1 c |
|
0 |
|
, |
|
|
|||||||
|
|
|
|
|
|
|
|
|||||||||
|
|
|
|
|
|
|
|
|
|
|
|
|
|
|
||
бk l |
|
|
|
|||||||||||||
|
|
|
|
|
|
|
|
p |
|
|
|
|
|
|
||
где f0 прогиб, определенный по формулам строительной механики, |
||||||||||||||||
без учета сдвиговых деформаций, |
|
|
|
|
|
|
|
|
||||||||
|
|
|
|
|
|
н |
|
|
4 |
|
|
|
|
|
|
|
|
Аq l |
|
||||||||||||||
|
f0 |
|
5 |
|
|
|
p |
, |
|
|
|
|
(4.16) |
|||
|
|
384 Eд Jк |
|
|
|
|
||||||||||
|
|
|
|
|
|
|
|
|
|
|
||||||
здесь Ед модуль упругости древесины, принимается по СП [1, п. 5.3]; |
||||||||||||||||
Jк момент |
инерции конькового |
сечения; |
k коэффициент, учиты- |
|||||||||||||
вающий влияние переменности |
Длявысоты сечения балки. балок по- |
|||||||||||||||
стоянного поперечного сечения |
k 1 . ля балок переменного попе- |
|||||||||||||||
речного сечения k принимается по СП [1, табл. Е3 прил. Е]. |
||||||||||||||||
|
|
|
|
|
|
|
|
|
|
|
|
И(4.17) |
||||
|
|
|
|
|
|
|
|
|
|
h0 |
|
|||||
|
|
|
|
|
|
|
|
|
|
|||||||
|
k 0,15 0,85 h |
; |
||||||||||||||
|
|
|
|
|
|
|
|
|
|
к |
|
|
|
|
||
с коэффициент, учитывающий влияние деформаций сдвига от поперечной силы. Принимается по СП [1, табл. Е3 прил. Е].
h |
|
||
c 15,4 3,8 |
0 |
. |
|
h |
|||
|
|
||
33
Практическое занятия № 5
КОНСТ |
|
|
|
|
|
|
|
|
|||||
|
|
|
|
|
РУКТИВНЫЕ РЕШЕНИЯ И ОСНОВНЫЕ |
|
|
||||||
|
|
ПОЛОЖЕНИЯ РАСЧЕТА МЕТАЛЛОДЕРЕВЯННЫХ ФЕРМ |
|||||||||||
|
|
|
РАЗЛИЧНЫМИ КОНСТРУКТИВНЫМИ РЕШЕНИЯМИ |
||||||||||
|
Запроектировать |
|
|
|
|
|
|||||||
|
|
|
|
|
|
ВЕРХНИХ ПОЯСОВ |
|
|
|
|
|
||
|
|
|
Цель работы – ознакомиться с методикой проектирования рас- |
||||||||||
|
четов металлодеревянных ферм |
|
|
|
|
|
|
|
|||||
|
|
|
б |
|
|
|
|
|
|||||
|
|
|
Задан |
5. |
|
|
металлодеревянную ферму с дере- |
||||||
|
вянными элементами из русьев, загруженную по верхнему поясу |
||||||||||||
|
равномерно-распределенной вертикальной нагрузкой q. Схемы ферм |
||||||||||||
|
приведены на рис. 5.1 а, . Исходные данные даны в таблице 5.1. |
|
|
||||||||||
|
Таблица 5.1. Исходные данные для расчета металлодеревянных ферм |
|
|
|
|||||||||
|
№ |
|
|
|
|
Исходные данные |
|
|
|
|
|
||
|
|
А |
|
Б |
|
|
В |
|
|
|
|||
|
|
|
|
|
|
|
|
|
|||||
|
ва |
|
|
|
|
А |
|
|
|
|
|||
|
|
Схема |
|
Пролет |
Нагрузка, материал |
|
|
Запроектиро- |
|
||||
|
р |
|
фермы |
|
L, м |
q, кН/м |
|
|
|
|
вать узел |
|
|
|
|
|
|
древесина |
сталь |
|
|
||||||
|
|
|
|
|
|
|
|||||||
|
1 |
|
а |
|
15 |
8,0 |
|
сосна, 2с |
АII |
|
|
1 |
|
|
2 |
|
б |
|
15 |
9,0 |
|
пихта, 2с |
AI |
|
|
2 |
|
|
|
|
|
|
|
|
|
|
И |
|
|||
|
3 |
|
а |
|
12 |
8,5 |
|
лиственница, 2с |
АII |
|
3 |
|
|
|
|
|
|
|
|
|
Д |
|
|
||||
|
4 |
|
б |
|
12 |
7,5 |
сосна, 2с AI |
4 |
|
||||
|
5 |
|
б |
|
15 |
8,0 |
|
пихта, 2с |
АII |
|
1 |
|
|
|
6 |
|
б |
|
15 |
9,0 |
|
лиственница, 2с AI |
|
2 |
|
||
|
7 |
|
а |
|
14 |
7,8 |
|
сосна, 2с |
АII |
|
3 |
|
|
|
8 |
|
б |
|
14 |
8,4 |
|
ель, 2с |
AI |
|
4 |
|
|
|
9 |
|
б |
|
9 |
9,5 |
|
лиственница, 2с АII |
|
1 |
|
||
|
10 |
|
а |
|
9 |
7,6 |
|
пихта, 2с |
AI |
|
2 |
|
|
В результате решения данной задачи по заданному пролету назначить необходимые габаритные размеры фермы, построить ее геометрическую схему, с использованием ПК «Лира» выполнить статический расчет фермы, подобрать поперечные сечения элементов
34
фермы и сконструировать заданный узел. Дать схему его расчета. Для сегментной фермы рекомендованы следующие соотноше-
ния: |
|
|
|
|
|
f 1 l ; |
r 5 l ; |
S 1.073l ; |
S |
S |
; длина стягивающей хорды равна 0,355 |
|
|||||
6 |
6 |
|
3 |
|
|
С |
|
|
|
||
l ; |
|
|
|
|
|
Рисунок ферм |
|||||
|
|
|
|
|
5.1. Схемы ферм |
Теорет ческ е положения для расчета металлодеревянных |
|||||
В металлодеревянных фермах растянутые элементы проектиру- |
|||||
|
|
А |
|||
ют из металлаб, а сжатые, сжато-изгибаемые и знакопеременные - из дерева в соответствии с СП [1, п. 8.39].
Применение растянутых элементов из металла исключает необходимость использования древесины 1 сорта и ведет к повышению надежности, а так же жесткостиДферм.
Деревянные элементы таких ферм могут быть выполнены из брусьев, бревен, клееной древесины. Металлические – из профильной стали или из круглой.
Металлодеревянные брусчатые фермыИнаиболее доступны для широкого применения. Они удовлетворяют требованиям индустриального строительства, просты в изготовлении, сборке, монтаже.
ПОРЯДОК РАСЧЕТА
Для ферм рекомендован следующий порядок расчета:
1.В AutoCAD начертить геометрическую схему фермы с нанесением размеров всех ее элементов.
2.Выполнить сбор нагрузок на ферму в соответствии с зада-
нием.
35