Материал: Влияние экологических факторов на здоровье человека

Внимание! Если размещение файла нарушает Ваши авторские права, то обязательно сообщите нам

Интересно, что в северных регионах страны среди населения преобладают люди типа “стайер”, что явилось, по-видимому, результатом длительных процессов формирования популяции, адаптированной к местным условиям.

Изучение адаптивных возможностей человека и разработка соответствующих рекомендаций имеет в настоящее время важное практической значение.

ЗАКЛЮЧЕНИЕ

Тема показалась мне очень интересной, поскольку проблема экологии очень меня волнует, и хочется верить, что наше потомство не будет так подвержено негативным факторам окружающей среды, как в настоящее время. Однако, мы до сих пор не осознаем важности и глобальности той проблемы, которая стоит перед человечеством относительно защиты экологии. Во всем мире люди стремятся к максимальному уменьшению загрязнения окружающей среды, также и Российской Федерации принят, к примеру, уголовный кодекс, одна из глав которого посвящена установлению наказания за экологические преступления. Но, конечно, не все пути к преодолению данной проблемы решены и нам стоит самостоятельно заботиться об окружающей среде и поддерживать тот природный баланс, в котором человек способен нормально существовать.

ПРИЛОЖЕНИЕ А



ПРИЛОЖЕНИЕ Б



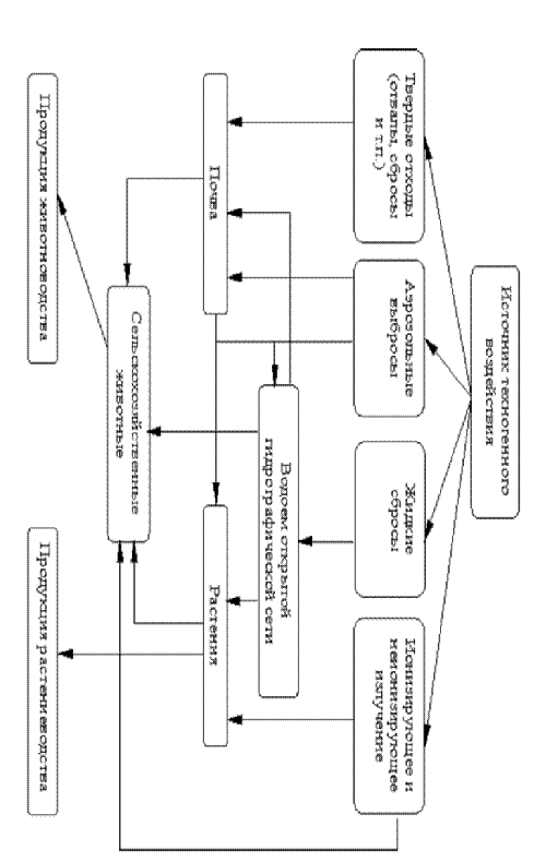
ПРИЛОЖЕНИЕ В

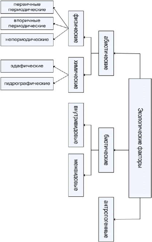
Рисунок 1 - Факторы, влияющие на здоровье и продолжительность жизни человека

ПРИЛОЖЕНИЕ Г



ПРИЛОЖЕНИЕ Д