Введение
электродвигатель вал якорь локомотиворемонтный
Целью технологической практики является приобретение опыта по выполнению основных производственных процессов на объектах машиностроительных предприятий, практическое изучение проектирования, технологии и организации производственных процессов, приобретение практического опыта руководства и организации работ в структурных подразделениях машиностроительных предприятий.
Объектами проведения профессиональных практик являются машиностроительные предприятия, проектные, конструкторские и технологические организации, научные центры и научно-производственные объединения.
Основными задачами практики являются:
практическое изучение технологических процессов осуществляемых на производственных участках, применяемого оборудования, технологической оснастки и материалов, средств автоматизации;
подробное изучение технологической документации, применяемой при производстве;
изучение технико-экономических показателей, организации и управления производством, вопросов стандартизации и контроля;
ознакомление со структурой предприятия, его подразделениями и качества продукции; службами;
сбор материалов для выполнения
курсовой работы и дипломного проекта.
1. Павлодарский локомотиворемонтный завод
На сегодняшний день Павлодарский локомотиворемонтный завод - одно из ведущих предприятий Казахстана по ремонту тягового подвижного состава.
Завод обеспечен высококвалифицированными инженерно-техническими и рабочими кадрами. Коллектив предприятия - это 700 человек, занятых в управлении, ремонте, разработке и проектировании технологических процессов на предприятии.
Площадь производственной территории завода составляет 22 535 м² крытых зданий и сооружений, включающих в себя 3 цеха основного производства и 2 вспомогательных цеха:
Цех профилактики производит плановое профилактическое техническое обслуживание локомотивов;
Цех капитального ремонта - ремонт в объеме КР, ТОУ-8;
Цех по ремонту экипажной группы производит капитальный и подъемочный ремонт экипажной части тепловозов;
Цех по ремонту электрооборудования ремонтирует и восстанавливает электрооборудование тепловоза в объеме капитального ремонта;
Заготовительный цех производит ремонт силовых механизмов и холодильного оборудования тепловозов.
Павлодарский локомотиворемонтный завод - это многопрофильное современное предприятие, осуществляющее ремонт тепловозов серии ТЭ10, ТЭМ, ТГМ, ЧМЭ по циклам: KR ТОУ-8, ТО-8, ТО-7, ТО-6, ТО-5, ТО-4, ТО-3, а также занимающееся изготовлением запасных частей и ремонтом локомотивного оборудования.
На заводе внедрена система менеджмента качества ISO-9000. В мае 2007 г. завод успешно прошел сертификацию немецкой международной компании «TÜV SÜD Gruppe».
Основным заказчиком и стратегическим партнером завода является АО «Национальная Компания «Казахстан Темир Жолы».
Завод производит
ремонт тепловозов таких крупных промышленных компаний, как: «Алюминий
Казахстана», «Мангистау Атомпром», «Соколово-Сарбайское горно-производственное
объединение», «Корпорация «Казахмыс», «ТНК «КАЗХРОМ Филиал Аксуский завод
ферросплавов», «Евроазиатская Энергетическая Корпорация», «Экибастузская
ГРЭС-2», «Шубарколькомир», «Реммашкомплект», «Богатырь Транс», «Казцинк»,
«Темир-сервис».
1.1 Механический цех
Механический цех относится к основному производству машиностроительного предприятия. В нем выполняются операции по обработке деталей после отливки и доведение их до завершенного состояния с последующей отправкой в цех сборки, помимо этого приводится восстановление деталей тепловозов по циклу ремонта ТО8.
В цеху имеются следующие станки и оборудование:
токарно-винторезные станки моделей 1К62, 1А62, 16Д25;
радиально сверлильный станок модели 2А554;
зубо-фрезерные станки моделей 5312, 53А82, 53А50Н;
вертикально-фрезерные станки моделей 6М13П, 6Р11;
горизонтально-фрезерный станок модели 6Р82;
плоско-шлифовальный с круглым столом станок модели 3740;
продольно-шлифовальный станок модели 3Б722;
круглошлифовальный станок модели 3М151;
ножовочно-отрезной станок модели 872М;
токарно-винторезный станок модели CU6030;
доводочно-заточной станок модели 332М;
стенд для испытаний абразивных кругов модели МС9732.
В механическом цехе изготавливают
более 400 наименований (винты планок, валы рычага управления регулятора,
вкладыши моторно-осевого подшипника, палец поршневой, цилиндры термобаллона
автомата, фланцы водяного патрубка, корпус-шкив вентилятора компрессора,
различные гайки, штуцеры, валики тормозной рычажной передачи, бойки клапанной
коробки дизеля и т.д.), производство мелкосерийное. Работают
высококвалифицированные специалисты, знающие свое дело. Строго соблюдается
техника безопасности.
2. Служебное назначение тягового электродвигателя ЭД-118А
Тяговый электродвигатель представляет собой электрическую машину постоянного тока последовательного возбуждения. Две ступени ослабления поля обмотки возбуждения и гиперболическая внешняя характеристика тягового генератора обеспечивают изменение частоты вращения якоря электродвигателя в широком диапазоне.
Остов магнитной системы отлит из стали и служит каркасом для сборки всего тягового электродвигателя. На остове с одной стороны имеются расточки под установку вкладышей и площадки для крепления корпусов моторно-осевых подшипников болтами. Электродвигатель моторно-осевыми подшипниками опирается на ось колесной пары. С диаметрально противоположной моторно-осевым подшипникам стороны остова имеются два выступа, которые служат для закрепления электродвигателя на тележке тепловоза.
Электродвигатель имеет четыре главных и четыре добавочных полюсов. Сердечники главных полюсов набраны из тонких штампованных листов, скрепленных заклепками, а сердечники добавочных полюсов изготовлены из толстолистового проката.
Якорь, сердечник которого набран из листов электротехнической стали, имеет петлевую обмотку с уравнительными соединениями со стороны коллектора и опирается на два роликовых подшипника (передний и задний), вмонтированных в торцовые щиты электродвигателя.
Щеткодержатели, отлитые из латуни, имеют спиральные пружины и крепятся при помощи опрессованных пластмассой пальцев (изоляторов) и кронштейнов к остову с внутренней стороны. Давление пружины на щетку регулируется при снятом с электродвигателя щеткодержателе поворотом разрезной втулки. Смазка в якорные подшипники добавляется через трубки, которые после этого должны быть плотно закрыты пробками (болтами).
Дренажное отверстие, выравнивающее давление в подшипниковой камере до величины атмосферного, совместно с комбинированными уплотнениями в заднем подшипниковом щите предназначено для предотвращения прохода смазки из подшипниковой камеры внутрь электродвигателя. Чтобы смазка из заднего подшипника не вытекала наружу, на вал якоря электродвигателя насажено лабиринтное уплотнительное кольцо, имеющее с внутренней стороны резьбу для крепления съемного приспособления. Моторно-осевые подшипники для крепления электродвигателя оборудованы устройством польстерной системы смазки, в котором ось смазывается при помощи фитиля.
Для предотвращения проникновения влаги внутрь электродвигателя через отверстия в остове для полюсных болтов головки болтов крепления одного (верхнего) главного и двух добавочных полюсов заливают кварцкомпаундом. Головки болтов главного полюса в моторно-осевой части остова также заливаются кварцкомпаундом для предотвращения проникновения смазки внутрь электродвигателя из масляных камер моторно-осевых подшипников.
Выводные провода на остове
электродвигателя закреплены в специальных изоляционных колодках (клицах),
расположенных в средней части между моторно-осевыми подшипниками. Вентиляция
электродвигателя принудительная от отдельных вентиляторов, установленных на тепловозе.
Охлаждающий воздух, очищенный от посторонних примесей, подается в
электродвигатель через люк со стороны коллектора, продувается двумя
параллельными потоками через магнитную систему и якорь и выбрасывается через
выходные лючки в остове, расположенные с противоположной стороны коллектора и
защищенные сетками и козырьками.
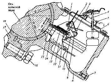
Рисунок 1. Продольный разрез ТЭД - 118А
Рисунок 2. Поперечный разрез ТЭД - 118А
- вкладыши моторно-осевого подшипника; 2 - трубки для подачи смазки; 3 - роликовый подшипник передний; 4 - щит подшипниковый передний; 5 - коллектор; 6 - щеткодержатель; 7 - изолятор; 8 - кронштейн; 9 - уравнители; 10 - катушка добавочного полюса; 11 - добавочный полюс; 12 - остов; 13 - сердечник якоря; 14 - обмотка якоря; 15 - щит подшипниковый задний; 16 - дренажное отверстие; 17 - уплотнительное лабиринтное кольцо; 18 - вал; 19 - роликовый подшипник задний; 20 - пробки трубок подачи смазки; 21 - корпуса (шапки) моторно-осевого подшипника; 22 - главный полюс; 23 - катушка главного полюса; 24 - выводной провод; 25 - клицы; 26 - смазочный фитиль моторно-осевого подшипника; 27 - болты крепления к корпусу моторно-осевого подшипника к остову; 28 - опорные выступы («носики»)
2.1 Детали тягового электродвигателя
Якорь тягового электродвигателя
состоит из следующих частей: вала 11, сердечника 6, нажимных шайб, коллектора
21 и обмотки 7. Якорь опирается на два роликовых подшипника 19 и 12,
установленных в подшипниковых щитах 20. Вал якоря изготовлен из легированной
стали. Сердечник якоря набран из листов электротехнической стали, изолированных
друг от друга лаком. Шихтовка сердечника обязательна, так как перемещающееся
относительно него вращающееся магнитное поле стремится индуктировать вихревые
токи. Каждый лист сердечника имеет 54 паза и два ряда вентиляционных отверстий
в количестве 32 шт. По торцам сердечник удерживается на валу двумя нажимными
шайбами, которые одновременно являются и обмоткодержателями. Обмотка якоря
петлевая, с уравнительными соединениями 2.
Рисунок 3 - Обмотка якоря тягового электродвигателя ЭД118А:
а - схема: 1-216 - коллекторные
пластины; 1, 14 - пазы сердечника; У - уравнительные соединения; 6 - разрез
паза: 1 - клин; 2 - прокладка под клин и на дно паза; 3 - медь; 4 - прокладка
между катушками; 5 - изоляция от корпуса
На рисунке 3 представлена схема обмотки якоря тягового электродвигателя ЭД118А. Катушка обмотки состоит из четырех расположенных по ширине паза секций, каждая из которых состоит из трех проводников, расположенных по высоте паза. В пазу изолированная катушка удерживается стеклотекстолитовым клином. На дно паза и под клин укладываются прокладки из стеклотекстолита. В задних лобовых частях обмотки между секциями устанавливаются изоляционные прокладки; обмотка якоря удерживается стеклобандажами.
Коллектор тягового электродвигателя
состоит из втулки, нажимного конуса, коллекторных пластин (ламелей), двух
изоляционных манжет, изоляционного цилиндра и стяжных болтов. Пластины
коллектора штампуются из меди, легированной кадмием или серебром. В нижней
части они имеют форму ласточкина хвоста, позволяющего прочно скрепить
коллектор. Коллекторные пластины изолированы друг от друга коллекторным
миканитом, а от конуса - миканитовым цилиндром и манжетами.
Рисунок 4 - Щеточный аппарат тягового электродвигателя ЭД118А:
а - щеткодержатель; б - щетка; 1 -
корпус щеткодержателя; 2 - стальная пружина; 3 - палец щеткодержателя; 4 -
изолятор; 5 - втулка; 6 - наконечник; 7 - шунт; 8 - щетка; 9 - амортизатор
В подшипниковый щит 20 со стороны коллектора устанавливается роликовый опорно-упорный подшипник, который воспринимает радиальные и осевые нагрузки. Снаружи подшипник закрыт крышкой, в которой для предотвращения попадания смазки на якорь имеется лабиринтное уплотнение. Подшипниковый щит крепится к остову болтами с пружинными шайбами. В подшипниковый щит со стороны шестерни устанавливается опорный роликовый подшипник, который отличается от опорно-упорного отсутствием бурта во внутренней обойме. Попадание смазки из подшипника внутрь тягового электродвигателя предотвращается лабиринтным уплотнением. Кроме того, с внутренней стороны предусмотрено дренажное отверстие 9 (воздушный канал). Снаружи подшипник закрыт крышкой, имеющей лабиринтное кольцо 10, предотвращающее утечку смазки из подшипника. К кронштейнам 23 тягового электродвигателя крепятся четыре щеткодержателя 22.
Щеткодержатели электродвигателя
установлены напротив главных полюсов. Щеткодержатель имеет литой латунный
корпус, укрепленный в кронштейне, вваренном в торцевую стенку остова. Два
стальных пальца, запрессованных в корпус, служат для крепления щеткодержателя в
кронштейне. Пальцы изолированы твердым изоляционным слоем, на который надеты
изоляторы из пресс-материала. В корпусе щеткодержателя имеются два гнезда для
щеток. В первое гнездо вставляется одна разрезная щетка, а во второе - две.
Каждая разрезная щетка имеет резиновый амортизатор, предназначенный поглощать
небольшие удары и толчки, не допуская отрыва щеток от коллектора. Нажатие щеток
на коллектор осуществляется стальными пружинами, при этом один конец пружины
упирается в резиновый амортизатор щетки, а второй входит в паз втулки.
Регулировка нажатия осуществляется поворотом и фиксацией втулки на оси.
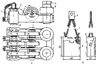
Рисунок 5 - Моторно-осевой подшипник
тягового электродвигателя ЭД118А: 1, 2 - оси; 3 - фиксатор; 4 - поплавок; 5 -
втулка; 6 - крышка; 7 - пробка; 8 - крышка моторно-осевого подшипника; 9 -
пружина; 10 - рычаг; 11 - пластинчатая пружина; 12 - корпус; 13 - скоба; 14 -
коробка; 15 - пакет польстерный; 16 - болт; 17 - постель моторно-осевого
подшипника; 18 - вкладыш
Моторно-осевой подшипник состоит из двух вкладышей, постели - расточки в остове тягового электродвигателя, крышки и болтов крепления крышки.
Вкладыши моторно-осевых подшипников
изготавливают из бронзы. Крышка подшипника является резервуаром для смазки,
которая попадает к подшипнику при помощи двух войлочных польстерных пакетов,
закрепленных скобами в коробке, которая может перемещаться в корпусе, опираясь
на четыре пластинчатые пружины. Коробка с польстерными пакетами прижимается
через отверстие во вкладыше моторно-осевого подшипника к шейке пружиной. Рычаг
с пружиной закреплены осями на корпусе, расположенном на нижней части ванны
крышки моторно-осевого подшипника. Ванна имеет отстойник, куда сливается
конденсат, который через пробку сливают наружу. Количество смазки на пробке
определяют по уровню поплавка.

- верхняя часть кожуха; 2 - скобы; 3
- ребра жесткости; 4, 9, 11 - бонки; 5 - полукольцо отбойное; б - прокладки; 7
- болты; 8 - накладки уплотнительные; 10 - уплотнение; 12 - нижняя часть
кожуха; 13 - горловина для заливки масла
Вращающий момент от тягового
электродвигателя на ось колесной пары передается при помощи ведущей шестерни,
напрессованной на вал якоря и ведомого зубчатого колеса, напрессованного на ось
колесной пары. Ведущая шестерня и ведомое зубчатое колесо закрыты кожухом,
состоящим из двух частей (нижней и верхней), соединенных болтами.
3. Вал якоря
Вал тягового двигателя подвержен действию значительных вращающих моментов, которые вызывают большие косательные силы в местах их приложения, а также действию сил магнитного притяжения и сил реакции зубчатой передачи; вал воспринимает, кроме того, вес деталей якоря. Часто меняющаяся нагрузка с мгновенными толчками в период пуска и торможения, ударная нагрузка при выходе движущей колесной пары из состояния боксования, динамические воздействия от неровностей пути, значительные перегрузки в период выхода из строя одного из тяговых двигателей создают особенно тяжелые условия для работы валов.