Материал: Установка обратного осмоса

Внимание! Если размещение файла нарушает Ваши авторские права, то обязательно сообщите нам

 - удельная производительность по воде.

По данным приложения 11.1 строим график зависимости осмотического давления от концентрации  (рис.3.1).

Рисунок 2.1 - Зависимость осмотического давления водного раствора  от его концентрации при температуре

По графику находим  МПа;  МПа.

Удельная производительность на входе разделяемого раствора в аппараты обратного осмоса и на выходе соответственно равна:

 

 

В первом приближении принимаем, что средняя удельная производительность мембраны может быть выражена как средняя арифметическая величина:

 

Тогда рабочая поверхность мембран составит:

 

2.1.5 Выбор аппарата и определение его основных характеристик

Среди мембранных аппаратов наиболее распространены аппараты с рулонными (спиральными) фильтрующими элементами, с плоскокамерными фильтрующими элементами (типа «фильтр-пресс»), с трубчатыми фильтрующими элементами, с мембранами в виде полых волокон. В установках большой производительности целесообразно использовать аппараты первого или четвертого типа как наиболее компактные (ввиду высокой удельной поверхности мембран).

Ориентируясь на отечественную аппаратуру, выберем аппараты рулонного типа. Среди них наиболее перспективны аппараты, каждый модуль которых состоит из нескольких совместно навитых рулонных фильтрующих элементов (РФЭ). Такая конструкция позволяет уменьшить гидравлическое сопротивление дренажа потоку пермеата благодаря тому, что путь, проходимый пермеатом в дренаже, обратно пропорционален числу навитых РФЭ.

Выберем аппарат с РФЭ типа ЭРО-Э-6,5/900, выпускаемыми серийно отечественной промышленностью.

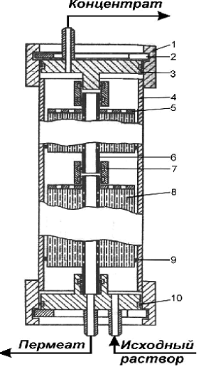
Аппарат (см,, рис. 11.3) состоит из корпуса 4, выполненного в виде грубы из нержавеющей стали, в которой размещается от одного до четырех рулонных модулей 8. Модуль формируется, навивкой пяти мембранных пакетов на пермеатоотводящую трубку 6. Пакет образуют две мембраны 11, между которыми расположен дренажный слой 13. Мембранный дакает герметично соединен с пермеатоотводящей трубкой, кромки его также герметизируют, чтобы предотвратить смешение разделяемого раствора с пермеатом. Для создания необходимого зазора между мембранными пакетами при навивке модуля вкладывают крупноячеистую сетку-сепаратор 12, благодаря чему образуются напорные каналы для .прохождения разделяемого раствора.

Герметизация пермеатоотводящих трубок в аппарате обеспечивается резиновыми кольцами 7., Герметизация корпуса осуществляется с помощью крышек 3, резиновых колец 10 И упорных разрезных колец 2, помещаемых в прорези накидного кольца 1, привариваемого к корпусу 4.

Исходный раствор через штуцер поступает в аппарат и проходит через витки модуля (напорные каналы) в осевом направлении. Последовательно проходя все модули, раствор концентрируется и удаляется из аппарата через штуцер отвода концентрата. Прошедший через мембраны пермеат транспортируется по дренажному слою к пермеатоотводящей трубке, проходит через отверстия в ее стенке и внутри трубки движется к выходному Штуцеру. . :

С целью предотвращения телескопического эффекта (возникающего вследствие разности, давлений модулей и приводящего к сдвигу слоев навивки в осевом направлении) у заднего торца модуля устанавливают антителескопическую решетку 5, в которую он упирается.

Байпасирование жидкости в аппарате предотвращено резиновой манжетой 9, перекрывающей зазор между рулонным модулем и внутренней стенкой корпуса.

Основные характеристики аппарата ЭРО-Э-6,5/900 приведены ниже

Рисунок 2.2 - Схема устройства аппарата рулонного типа: 1 - накидное кольцо; 2 - упорные кольца; 3 - крышки; 4 - корпус; 5 - решетка; 6 - пермеатоотводящая трубка; 7 - резиновые кольца;8 - рулонные модули; 9 - резиновая манжетка; 10 - резиновые кольца.

Основные характеристики аппарата ЭРО-Э-6,5/900 приведены ниже:

Длина рулонного модуля , м 0,90

Длина пакета , м 0.95

Ширина пакета , м 0,83

Высота напорного канала, равная толщине сетки- 

сепаратора , м

Толщина дренажной сетки , м

Толщина подложки , м

Толщина мембраны , м

Число элементов в модуле  5

Материал корпуса Сталь Х18Н10Т

Диаметр корпуса, мм

Толщина крышки, м

Диаметр крышки, м 0,108

Определим параметры аппарата, необходимые для расчетов.

Поверхность мембран в одном элементе определяется произведением . Учитывая, что часть этой поверхности используется для склеивания пакетов (примерно на длине 0,05 м) и не участвует в процессе обратного осмоса, рабочую поверхность мембран в одном элементе  определим по соотношению:

 

Рабочая поверхность мембран в одном модуле  равна произведению  на число элементов в модуле:

 

Примем, что аппарат состоит из двух модулей. Тогда рабочая поверхность мембран в аппарате:

  

Сечение аппаратов по которому проходит разделяемый раствор:

 

Общее число аппаратов в мембранной установке


2.1.6 Секционирование аппаратов в установке

Проведем секционирование аппаратов в установке, т. е. определим число последовательно соединенных секций, в каждой из которых разделяемый раствор подается одновременно (параллельно) во все аппараты.

Необходимость секционирования обусловлена тем, что при параллельном соединении всех аппаратов велико отрицательное влияние концентрационной поляризации, а при последовательном соединении чрезмерно велико гидравлическое сопротивление потоку разделяемого раствора.

Для модулей ЭРО-Э-6,5/900 экспериментально установлено, что оптимальный расход составляет 1000 л/ч (0,278 кг/с).

Тогда число аппаратов в первой секции можно найти, разделив расход исходного раствора на значение оптимального расхода для каждого аппарата: .

Найдем значение , соответствующее данному значению :


где  - расход пермеата;

 - расход исходного раствора.


Далее определим число аппаратов в последующих секциях:


Суммируя число аппаратов, замечаем, что

, а

т. е. в случае 13 секций недостает одного аппарата до общего числа 100, а в случае 14 секций количество аппаратов больше на 3. Ограничимся 13 секциями, добавив по два аппарата к первым двум секциям. На основании полученных данных имеем:

Секция

1

2

3

4

5

6

7

8

9

10

11

12

13

Число аппаратов в секции

14

13

11

10

9

8

7

7

6

5

5

4

4


.1.7 Расчет наблюдаемой селективности мембран

Наблюдаемую селективность рассчитываем по формуле:


где  - скорость движения раствора по направлению к мембране, вызванного отводом пермеата;

 - коэффициент массоотдачи.

Проведем расчеты при средних значениях рабочих параметров установки.

Средняя удельная производительность  ; средняя концентрация

 % (масс.).

Средняя линейная скорость движения разделяемого раствора в каналах мембранных аппаратов:


где  - расход концентрата.

Подставив значения получим:

 м/с

Значения плотности  и нужные для последующих расчетов значения коэффициентов кинематической вязкости  и диффузии  находим, пользуясь данными Приложения 11.1.

Определим режим течения раствора.

Эквивалентный диаметр кольцевого канала:

 м

Критерий Рейнольдса:


Таким образом, в аппаратах ламинарный режим течения разделяемого раствора.

Для нахождения среднего по длине канала значения  в случае ламинарного потока в щелевых и кольцевых каналах можно использовать критериальное уравнение:


где  - диффузионный критерий Прандтля;

 - длина канала, равная ширине пакета.

Подставив численные значения, получим:

Коэффициент массоотдачи:

 м/с

Поперечный поток:

 м/с

Теперь рассчитаем наблюдаемую селективность:

 откуда

Проверим пригодность выбранной мембраны. Для этого определим концентрацию соли в пермеате, используя полученное значение наблюдаемой селективности:

 кг соли/кг раствора.

Найдем расход пермеата:

 кг/с

Потери соли с пермеатом:

 кг/с

что в процентах от исходного содержания составляет  %. Это значение меньше допустимого (10 %), поэтому нет необходимости перехода к более селективным мембранам.

2.1.8 Уточненный расчет поверхности мембран

Рассчитаем удельную производительность мембран с учетом осмотического давления раствора у поверхности мембраны и пермеата. Необходимые для расчета концентрации  и  найдем следующим путем. Согласно определению,


где ,  и  - концентрация соли в произвольном сечении аппарата соответственно в объеме разделяемого раствора, в пермеате и у поверхности мембраны со стороны разделяемого раствора