Управление техническим обслуживанием железнодорожного пути
Основные положения технического обслуживания пути
Организация текущего содержания пути по околоточной форме имела место существовать с момента появления железных дорог и существует еще в настоящее время на ряде дистанций пути. Пример формы организации текущего содержания пути околоточного типа приведен на рисунке.

Организационная структура участков околоточного типа представляет собой деление участков дистанции пути на околотки, возглавляемые дорожными мастерами (ПД), а околотков - на рабочие отделения численностью 5-9 чел., которыми руководят бригадиры пути (ПДБ).
Структурные формы технического обслуживания пути.
Участковая система текущего содержания пути
В связи с переходом от околоточной на участковую систему организации текущего содержания пути изменяется структура участков и самой дистанции пути. Структура вводится, прежде всего, на участках, где в основном уложены железобетонные шпалы и выполнены работы по оздоровлению пути с глубокой очисткой или нет просрочки нормативов среднего ремонта пути. На этих участках в последующем должна обеспечиваться периодичность ремонтов и планово-предупредительной выправки в соответствии с установленными нормативами и учетом фактического состояния пути.
Целями перехода на участковую систему текущего содержания пути явились:
- разделение функций контроля и содержания пути;
- повышение уровня планирования и рационального распределения ресурсов;
- улучшение системы контроля и повышения надежности работы железнодорожного пути.
Дистанция пути (ПЧ) остается основным подразделением по содержанию пути. За ней в конечном итоге оставлено проведение надзора за состоянием пути и сооружений, выполнение неотложных и первоочередных работ по текущему содержанию.
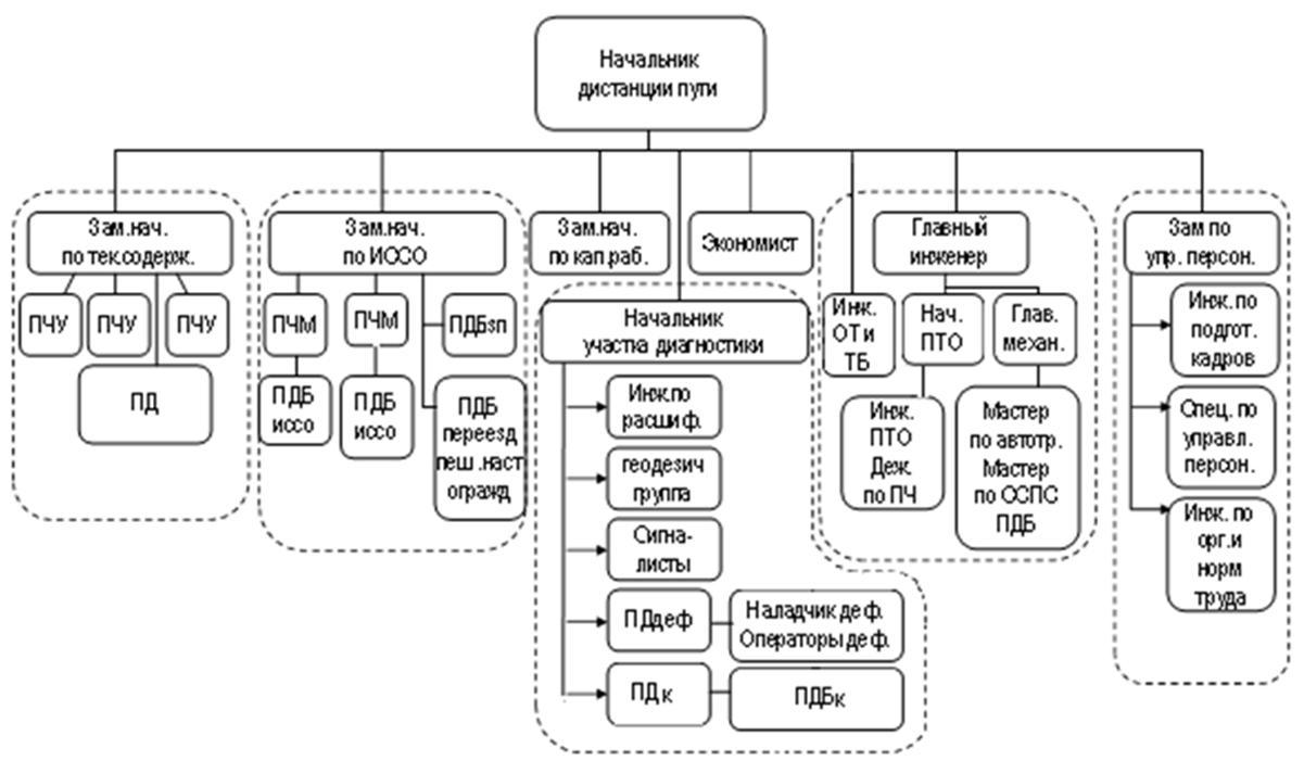
Организационная структура дистанции пути

Основным подразделением дистанции пути является эксплуатационный участок под руководством старшего дорожного мастера или начальника участка пути (далее - ПДС (ПЧУ)) в составе 3-5 линейных участков (околотков) без линейных отделений.
Расчет численности работников, занятых на текущем содержании пути, производится в соответствии с требованиями приказа ОАО «РЖД» от 09.07.2009 № 136 «О мерах по улучшению текущего содержания железнодорожного пути», нормами управляемости руководителей среднего звена, бригадиров в хозяйстве пути и сооружений, утвержденными ОАО «РЖД» 30.09.2009 и типовым штатным расписанием дистанций пути железных дорог - филиалов ОАО «РЖД», утвержденным распоряжением ОАО «РЖД» от 09.07.2009 № 1452р.
Эксплуатационный участок пути делится на линейные участки (околотки), протяжённость которых определяется в соответствии с Типовым штатным расписанием в следующем порядке:
|
Приведенные километры пути |
Грузонапряженность, млн.ткм бр./км в год |
|
20-25 |
свыше 70 |
|
26-30 |
свыше 50 до 70 |
|
31-35 |
свыше 25 до 50 |
|
36-42 |
свыше 10 до 25 |
|
43-50 |
менее 10 |
К приведенным километрам многопутных участков пути применяется коэффициент к = 1,0, а к приведенным километрам однопутных участков пути - к = 0,9.
Приведенная длина железнодорожного пути исчисляется в соответствие требованиям распоряжения ОАО «РЖД» от 09.05.2005 №312р «Об утверждении групп (классов) по оплате труда и показателей, характеризующих работу структурных подразделений железных дорог, структурных подразделений отделений и дирекций железных дорог, а также примерного перечня работ для отнесения производственных участков структурных подразделений железных дорог, структурных подразделений отделений и дирекций железных дорог к группам по оплате труда» в следующем порядке:
а) один километр каждого главного железнодорожного пути сверх первого при нахождении с ним на одном земляном полотне приравнивается к 0,75 км первого главного железнодорожного пути;
б) один километр станционного или подъездного железнодорожного пути приравнивается к 0,4 км первого главного железнодорожного пути;
в) 20 одиночных стрелочных переводов марок 1/6, 1/9 или 1/11 приравнивается к одному километру первого главного железнодорожного пути;
г) один перекрестный стрелочный перевод или одиночный перевод марки 1/18 приравнивается к двум одиночным переводам марки 1/11;
д) одно глухое пересечение приравнивается к одному одиночному переводу марки 1/11.
Выбор формы технического обслуживания пути в зависимости от условий эксплуатации
Возможны следующие структурные формы эксплуатационного участка:
перегонного эксплуатационного участка;
перегонного эксплуатационного участка, включающего участковую или грузовую станцию;
эксплуатационного участка, обслуживающего пассажирскую, сортировочную или крупную грузовую станции.
Функции проверки пути и устранения обнаруженных неисправностей разделены. Для этого введены на эксплуатационном участке контролеры состояния пути, освободив от постоянного выполнения этих функций дорожных мастеров и бригадиров пути.
Пример организационной структуры перегонного эксплуатационного участка, включающего участковую станцию при подчинении ПК непосредственно ПД приведен на рисунке

Пример организационной структуры эксплуатационного участка, обслуживающего пассажирскую, сортировочную или крупную грузовую станцию при подчинении ПК непосредственно ПЧУ приведен на рисунке

Длина зоны обслуживания бригады по неотложным работам и бригадира по проверке пути на однопутном участке составляет 35-45 км, на двухпутном - 60-75 км и не более трех промежуточных станций.
В зимний период в зависимости от климатических условий укрупненные бригады направляются на снегоборьбу или на их основе организуются дополнительные бригады по неотложным работам.
Осмотры пути и сооружений осуществляются в соответствии с Инструкцией по текущему содержанию железнодорожного пути.
В зависимости от местных условий (наличие железобетонных шпал и брусьев, состояние металлических частей стрелочных переводов) вместо рабочих отделений или в сочетании с ними на участковой станции могут организовываться специализированные бригады по содержанию стрелочных переводов, станционных путей, рельсовых цепей.
Количество рабочих отделений определяется местными условиями и состоянием стрелочных переводов и станционных путей.
Начальник участка (ПЧУ) осуществляет руководство участком, планирует и организует совместно с дорожными мастерами планово-предупредительные и крупные по объему первоочередные и неотложные работы, контролирует их качество.
Техник участка ведет в компьютерной форме материальную и техническую документацию, расчет заработной платы, готовит на основе анализа результатов работы диагностических средств и комиссионных осмотров предложения по проведению первоочередных и планово-предупредительных работ.
Дорожный мастер (ПД) по планово-предупредительным работам руководит их производством совместно с подчиненным ему бригадиром пути. Работы выполняются с применением механизированного инструмента или с комплексом машин всей или разделенной на части бригадой, руководимой бригадиром по плановым работам (ПДБп). Силами этой бригады выполняются также наиболее крупные по объему первоочередные работы. Все работы ведутся по месячным планам, разрабатываемым начальником участка, при этом график и объемы планово-предупредительных работ утверждаются дистанцией пути с учетом выделения необходимой техники и материалов.
Дорожный мастер (ПД) по неотложным работам организует проверку состояния пути, сооружений и переездов в пределах всего участка и устранение неотложных неисправностей, обнаруженных при осмотрах, а также проведение небольших по объему первоочередных работ по заданию начальника участка. Проводит осмотр пути по графику, утвержденному начальником дистанции пути. Часть проверок проводится совместно с бригадиром по проверке пути. Участвует в месячных осмотрах станций, проверяет путь с поезда или дрезины и несет ответственность за качественное и своевременное устранение неотложных неисправностей, замену остродефектных рельсов, выдачу предупреждений при обнаружении отступлений, угрожающих безопасности движения, работу дежурных по переездам и соблюдение графика проверок пути и переездов, безопасность движения и технику безопасности при производстве работ.
Бригадир пути по неотложным работам (ПДБн) ведет устранение неотложных неисправностей в соответствии с заданиями дорожного мастера по неотложным работам и несет ответственность за качественное и в заданных объемах выполнение работ, а также обеспечение безопасности движения и технику безопасности во время их производства.
Контролер состояния пути (ПК) проводит осмотры пути и переездов на закрепленном участке в сроки, установленные нормативами, сопровождает дефектоскопные тележки и мотрисы, выполняет проверку шпал, измерение износа рельсов и металлических частей стрелочных переводов, ведет запись в книгах установленной формы всех обнаруженных неотложных неисправностей, отмечает при последующих осмотрах их устранение и качество выполненных работ. При обнаружении неисправностей, требующих ограничения скорости или закрытия движения, производит выдачу через дежурного по станции, поездного диспетчера или дежурного дистанции пути соответствующих предупреждений об ограничении скорости или закрытии пути и ограждении опасного места.
Начальник участка (ПЧУ) и дорожный мастер (ПД) по неотложным работам сопровождают путеизмерительные вагоны (ПС).
Старший дорожный мастер (ПДС) станции несет полную ответственность за безопасность движения и технику безопасности по своему участку, руководит работой подчиненных ему дорожных мастеров и бригадиров пути, осуществляет проверки пути и стрелочных переводов по графику, утвержденному начальником дистанции пути, участвует в комиссионных осмотрах.