-с) - двухкамерная тестомесильная машина с горизонтальным валом и цилиндрической рабочей камерой. На консольном месильном валу вначале размещен смесительный шнек с лопастью, затем месильная камера с радиальними цилиндрическими лопастями (ФТК-1000 (Венгрия))
-d) - двухкамерная тестомесильная машина с цилиндрической рабочей камерой, оснащенная тормозными ребрами и горизонтальным валом. В камере смешении машины расположен шнек, а камера пластикации отделена дисковой диафрагмой и оборудована четырехлопастным пластикатором. За рубежом по такой схеме выпускает тестомесильные машины фирма «Бред Мейкер»
В 9-м ряду матрицы представлены схемы двухвальных тестомесильных машин с более интенсивным замесом: 9-е и 9-с - однокамерные, 9-а и 9-d - двухкамерные.
-а) - двухкамерная тестомесильная машина с горизонтальной осью вращении, на которой в цилиндрической камере смешивания размещен шнек с независимым приводом. Машина обеспечивает высокоинтенсивный замес и независимое его регулирование; тестомесильная машина «Контипуа» (ФРГ).
-b)- однокамерная тестомесильная машина с двумя горизонтальными валами, на которых закреплены Т-образные лопасти. Машина имеет многоскоростной привод, ее конструкция позволяет повысить интенсивность замеса; тестомесильные машины Х-26 и И8-ХТА-12/1.
-с)- однокамерная тестомесильная машина с двумя горизонтальными валами, вращающимися в разные стороны с закрепленными на них ленточными спиральными лопастями. Выходное отверстие снабжено регулируемой заслонкой, позволяющей изменять степень заполнения месильной камеры тестом и длительность замеса; тестомесильные машины «Топос» (ЧССР) и др.
-d) - двухкамерная двухвальная тестомесильная машина, на валах которой закреплены спиральные лопасти, обслуживающие зоны смешивания и замеса. Тестомесильные машины типа РЗ-ХТО разработаны ВНИИХПом. Обеспечивают высокоинтенсивную обработку теста на конечной стадии.
В 10-м ряду изображены схемы сравнительно новых высокоинтенсивных тестомесильных машин с различными механизмами воздействия на обрабатываемую массу.
-а) - двухкамерная двухвальная тестомесильная машина с отдельной смесительной камерой с индивидуальным приводом. Месильная камера с независимым регулируемым приводом имеет две зоны замеса: месильную, снабженную шнеками, и зону пластикации, рабочими органами которой являются кулаки, интенсивно проминающие тесто. Тестомесильные машины такого типа выпускает фирма «Вернер унд Пфляйдерер» (ФРГ).
-b) - тестомесильная машина с трехлопастным ротором и цилиндрической рабочей камерой. Такую конструкцию имеет тестомесильная машина системы Н. Ф. Прокопенко.
-с)- двухкамерная одновальная дисковая тестомесильная машина. В смесительной камере имеется горизонтальный вал, на котором закреплены диски с вырезами и отогнутыми краями для создания осевого перемещения теста. В камере замеса расположены вращающиеся гладкие диски, между ними прикреплены к корпусу тормозные вставки
-d) - двухкамерная одновальная смесительная машина с цилиндрической рабочей камерой. В первой смесительной камере на валу закреплен шнек, а в камере интенсивного замеса на валу с помощью эластичных втулок закреплен с возможностью осевого колебания барабан с лопастями. На внутренней поверхности рабочей камеры установлены наклонные лопасти, при работе внутренний барабан колеблется на эластичных втулках, вибрация интенсифицирует замес и способствует улучшению качества готовых изделий.
В 11-м ряду показаны схемы высокоинтенсивных смесителей, предназначенных для замеса жидких опар, заквасок и прочих смесей влажностью свыше 60 %. Эти смесители применяются для приготовления смесей в жидкой среде.
-а)-смеситель с вертикальным цилиндрическим ротором, вращающимся в цилиндрической камере. Замес осуществляется в тонком слое между двумя цилиндрическими стенками. К этому типу относится тестосмеситель ВНИИХП РЗ-ХТН/1.
-b) - смеситель с дисковым ротором, на котором размещены кольцевые выступы. В щели между ними входят с небольшим зазором кольцевые выступы корпуса машины, образуя своеобразное лабиринтное уплотнение, в котором и происходит смесеобразование при высоких скоростях и интенсивном механическом воздействии на тесто, возникающем за счет трения смеси о развитую поверхность ротора. В Англии их выпускает фирма «Оакес». Они используются в различных отраслях промышленности.
-с) - тарельчатый двухкамерный смеситель представляет собой две цилиндрические камеры с консольным валом, на котором в первой камере закреплены топкие штифты, по второй - тарелки.
-d) - смеситель представляет собой цилиндрическую емкость, заканчивающуюся коническим патрубком, внутри которой расположен вал с набором фигурных дисков и штифтов, закрепленных под углом 120°. Через патрубок выгружается смесь. На внутренней поверхности емкости располагаются три ряда тормозных штифтов. Такие смесители (гомогенизаторы) установлены на агрегатах ФТК-10ОО (Венгрия). Интенсивность и длительность смешивания не регулируются.[4]
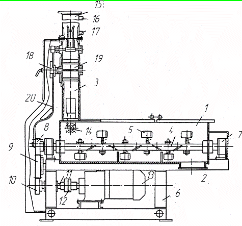
4. Тестомесильная машина И8-ХТА-12/1
Однокамерная тестомесильная машина с двумя
параллельными валами и Т-образными месильными лопастями, размещенными в смежных
полуцилиндрических камерах так, что лопасти одного вала заходят в пространство
между лопастями другого. Выпускается серийно, ею комплектуют бункерные
тестоприготовительные агрегаты И8-ХТА-12. В этих машинах оказывается более
интенсивное воздействие на тесто при замесе по сравнению с одновальными.
Применяется в основном для замеса пшеничного и ржаного теста.

Рис. 4. Тестомесильная машина И8-ХТА-12/1:
- патрубок подачи муки; 2 - дозатор муки; 3 -
месильные валы; 4 - крышка; 5 - месильная лопасть; 6 - месильное корыто; 7 -
станина; 8 - подшипник; 9 - выпускной патрубок
На станине расположено месильное корыто, состоящее из двух полуцилиндрических желобов. В нем установлены два месильных вала в подшипниках. На концах валов закреплены две прямозубые шестерни, обеспечивающие вращение валов в разные стороны. К ним подсоединена приводная шестерня. Внутри корыта имеются перегородки, сзади - патрубок для подачи опары и жидких компонентов, сверху - патрубок для подключения дозатора муки и две крышки с электроблокирующим устройством. Выпуск теста осуществляется через патрубок. На каждом валу закреплено по одиннадцать месильных лопастей, которые устанавливают под разными углами.
Работает машина следующим образом.
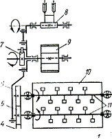
Рис. 5. Тестомесильная машина И8-ХТА-12/1
В питателе (15) (рис. 5) датчиками (16) и (17) поддерживается необходимый уровень муки. За один оборот вала (4) штанга проворачивает с помощью храпового механизма (18) турникет (19) с карманами для муки. При этом в корыто (1) подается доза муки на замес. Через трубу (14) в корыто подаются жидкие компоненты. Тесто, замешиваясь месильным валом, передвигается вдоль корыта лопатками, установленными под углом к оси вала. Через раструб (2) замешанное тесто подается в следующую машину по технологическому циклу. Для установки и фиксации лопатки (5) в требуемом положении в зависимости от интенсивности замеса вращением контргайки (24) и гайки (23) освобождают стержень лопатки. Провернув и установив необходимый угол между осью месильного вала и касательной к поверхности лопатки, втулку (21) устанавливают торцовой криволинейной поверхностью на вал (4), а стержень лопатки (5) коническим поясом садят в коническое отверстие втулки, при этом затягивают гайку (23) и контргайку (24).
Машина имеет двухскоростной привод или вариатор
скорости, с помощью которого можно изменять частоту вращения месильных валов.
Однако в машине не соблюдается основной принцип замеса - необходимость
поддержания различной частоты, интенсивности и длительности воздействия рабочих
органов па разных стадиях замеса. Машина неудобна в обслуживании, не приспособлена
к автоматическому управлению.
Рис. 6. Кинематическая схема тестомесильной машины И8-ХТА-12/1:
- электродвигатель; 2 - редуктор; 3, 4, 5, 6 - цилиндрические зубчатые колеса; 7- храповой механизм; 8 - ворошитель; 9 - дозировочный турникет; 10 - месильная емкость; 11 -месильные валы
Таблица 1
Технические характеристики тестомесильной машины И8-ХТА-12/1
|
Производительность, кг/ч |
1300 |
|
Вместимость месильной камеры, дм3 |
240 |
|
Масса замешиваемого теста, кг |
100 |
|
Частота вращения месильного вала, с-1 |
1-1,3 |
|
Мощность электродвигателя, кВт |
4 |
|
Длительность замеса, мин |
12-15 |
|
Масса машины, кг |
800 |
Рис. 7. Месильный вал
С целью регулирования интенсивности замеса, а также производительности машины угол между осью месильного вала и касательной к поверхности лопасти можно изменять при помощи гаек (6) (рис. 7). После установки вручную необходимого угла лопасть фиксируют с помощью втулки (7). Втулка имеет коническое отверстие с одной стороны, совпадающее с криволинейной поверхностью вала. После установки лопасти гайки затягивают.
Регулирование количества подаваемой муки осуществляется изменением угла поворота дозировочного барабана. Для контрольного отбора муки в боковой части корпуса машины имеется окно, которое закрывается откидной крышкой.
После установки машины необходимо смазать все трущиеся поверхности и залить в редуктор масло до контрольной риски. При подключении электродвигателя необходимо проверить направление вращения месильных органов. Затем машину кратковременно прокручивают и в случае ее нормальной работы ставят на обкатку без нагрузки в течение 2-3 ч. Перед пуском необходимо проверить работу автоблокировки.
Обслуживание тестомесильной машины. При общем наблюдении машинами необходимо периодически контролировать режим работы, проверять и подтягивать все сальниковые уплотнения. Технический осмотр следует проводить не реже одного раза в два месяца.
Перед началом замеса теста следует убедиться в отсутствии в машине посторонних предметов, в наличии на местах всех ограждений.
Перед сдачей смены необходимо тщательно очистить месильное корыто и лопасти от теста.
Смазывать машину следует в соответствии с картой смазки и таблицей смазки. Смазка точек осуществляется шприцем через маслоналивные отверстия и пресс-масленки, за исключением червячной передачи приводной головки, в масляную ванну которой наливается машинное масло.
Необходимо периодически проверять затяжку крепежных деталей и подтягивать болты и гайки.
В процессе работы тестомесильных машин регулярно проверяют уплотнение подшипников месильного вала и следят, чтобы тесто не попадало в них, так как это вызывает быстрый износ подшипников.
Тщательно проверяют крепление лопаток на валу и их положение по отношению к оси вала.
При появлении шума, удара, стука машину сразу отключают, выясняют причины этих явлений и устраняют их.
При переходе с одного сорта теста на другой или после остановки машины все рабочие части, соприкасающиеся с тестом, очищают от остатков теста, промывают водой и смазывают растительным маслом.
5. Расчет тестомесильной машины
Расчет тестомесильных машин выполняется при создании новой конструкции либо при уточнении технических данных существующей машины, подвергшейся реконструкции с целью совершенствования ее рабочего процесса. Расчет начинают с обоснования выбора единичной мощности (производительности). Затем определяют вместимость месильной камеры и производят расчет баланса энергозатрат, расчет мощности, потребной для привода тестомесильной машины, подбор электродвигателя и редуктора. После этого выполняют прочностные расчеты. Порядок их выполнения является общим для всех машин. На основании расчета энергозатрат дается оценка мероприятий по совершенствованию рабочего процесса тестомесильной машины.
Производительность тестомесильной машины выбирают из расчета обеспечения тестом разделочных линий и печей в соответствии с параметрическими рядами технологического оборудования хлебозаводов.
При расчете тестомесильных машин необходимо
учитывать основные требования, предъявляемые к расчету технологического
оборудования: обеспечение рациональных параметров рабочего процесса; качество
работы машины; рациональное конструктивное решение и эксплуатационную
надежность.
.1 Расход энергии на замес теста
Для расчета и анализа рабочего процесса составим
баланс энергозатрат и оценим долю каждой из статей затрат в общем расходе
энергии.
где А1 - работа, расходуемая на перемешивание
массы; А2 - работа, расходуемая на перемещение лопастей; А3 - работа,
расходуемая на нагрев теста и соприкасающихся с ним металлических частей
машины;
-
работа, расходуемая на изменение структуры теста.
А1 =
где k - коэффициент подачи теста, показывающий,
какая доля массы, захваченной месильной лопаткой, перемещается в осевом
направлении; для такого типа машин £ = 0,1-0,5;
-
высота лопатки;
- угол атаки
лопатки; S - шаг образующей наклона лопатки.
Работу, расходуемую на привод месильных
лопастей, определим по уравнению
Работу, расходуемую на нагрев теста и
соприкасающихся с ним металлических частей машины за один оборот месильной
лопатки,
где mТ - масса теста, находящегося в месильной
емкости; mж - масса металлоконструкции машины, прогревающаяся при замесе; ст,
сж- средняя теплоемкость теста и металла;
-
температура массы в начале смешивания и конце замеса;
-
длительность замеса, с.
А3 =
Работу, расходуемую на изменение структуры теста, определим из уравнения
На основании полученных данных составим баланс энергозатрат
Выразим составляющие баланса в процентах:
=8,73%;
А2 = 3,3 %; А3 = 87,4 %; А4=0,44 %. [5]
5.2 Производительность тестомесильной машины
Производительность тестомесильной машины
непрерывного действия оценивают по формуле
ПН = z × (π
×D2 / 240) ×s × ρ
× n ×K2×K3
где z - число валов месильных органов, z = 2;- диаметр окружности, описываемой крайними точками
лопатки, D= 0,38 м;- частота вращения вала с лопатками, n=60 об/мин;- площадь лопатки, S=0,0035 м2;
ρ - плотность теста, , ρ =1100 кг/м3;- коэффициент заполнения месильной камеры (K2 = 0,3…0,7 )- коэффициент подачи, K3 = 0,3 … 0,5